
中证智能财讯京基智农(000048)8月27日披露2024年半年报。2024年上半年,公司实现营业总收入27.00亿元,同比下降68.61%;归母净利润2.35亿元,同比下降81.67%;扣非净利润2.42亿元,同比下降81.93%;经营活动产生的现金流量净额为-8582.38万元,上年同期为-5.04亿元;报告期内,京基智农基本每股收益为0.45元,加权平均净资产收益率为5.90%。公司2024年半年度利润分配预案为:拟向全体股东每10股派3.8元(含税)。
公告称,公司营业收入变化主要由于公司房地产业务仅为存量销售,存货随销售去化库存递减,报告。
以8月26日收盘价计算,京基智农目前市盈率(TTM)约为10.23倍,市净率(LF)约为1.76倍,市销率(TTM)约为1.09倍。
公司近年市盈率(TTM)、市净率(LF)、市销率(TTM)历史分位图如下所示:


根据半年报,公司第二季度实现营业总收入14.42亿元,同比下降25.60%,环比增长14.68%;归母净利润1.81亿元,同比增长179.29%,环比增长235.01%;扣非净利润1.83亿元,同比增长102.06%,环比增长210.93%。
2024年上半年,公司毛利率为24.04%,同比下降19.31个百分点;净利率为8.93%,较上年同期下降6.07个百分点。从单季度指标来看,2024年第二季度公司毛利率为25.27%,同比下降2.72个百分点,环比上升2.64个百分点;净利率为12.76%,较上年同期上升9.26个百分点,较上一季度上升8.21个百分点。
数据显示,2024年上半年公司加权平均净资产收益率为5.90%,较上年同期下降35.67个百分点;公司2024年上半年投入资本回报率为4.34%,较上年同期下降20.94个百分点。
2024年上半年,公司经营活动现金流净额为-8582.38万元,同比增加4.19亿元;筹资活动现金流净额-3.35亿元,同比减少6.23亿元;投资活动现金流净额-8644.18万元,上年同期为-7.68亿元。
进一步统计发现,2024年上半年公司自由现金流为-2.21亿元,上年同期为-19.14亿元。
2024年上半年,公司营业收入现金比为97.72%,净现比为-36.45%。
营运能力方面,2024年上半年,公司公司总资产周转率为0.23次,上年同期为0.57次(2023年上半年行业平均值为0.07次,公司位居同行业1/79);固定资产周转率为0.49次,上年同期为1.59次(2023年上半年行业平均值为8.45次,公司位居同行业61/79);公司应收账款周转率、存货周转率分别为42.11次、0.72次。
2024年上半年,公司期间费用为2.79亿元,较上年同期减少5.52亿元;但期间费用率为10.32%,较上年同期上升0.66个百分点。其中,销售费用同比下降93.99%,管理费用同比增长27.83%,研发费用同比增长28.64%,财务费用同比增长60.33%。
资料显示,销售费用的变动主要因为房地产项目交付数量较上年同期大幅减少,结转销售收入减少,对应结转成本及销售费用同步减少;管理费用的变动主要因为本报告期确认限制性股票激励费用;财务费用的变动主要因为本报告期借款利息及担保费较上年同期有所增加。
资产重大变化方面,截至2024年上半年末,公司投资性房地产较上年末增加7113.83%,占公司总资产比重上升7.15个百分点;固定资产较上年末减少16.64%,占公司总资产比重下降5.68个百分点;货币资金较上年末减少46.37%,占公司总资产比重下降3.93个百分点;存货较上年末减少0.63%,占公司总资产比重上升1.33个百分点。
负债重大变化方面,截至2024年上半年末,公司应交税费较上年末减少81.69%,占公司总资产比重下降3.05个百分点;合同负债较上年末减少61.80%,占公司总资产比重下降2.54个百分点,主要系本报告期地产项目交付,合同负债结转收入;长期借款较上年末减少17.58%,占公司总资产比重下降1.50个百分点,主要系本期归还银行借款本金;应付账款较上年末增加8.94%,占公司总资产比重上升0.69个百分点。
从存货变动来看,截至2024年上半年末,公司存货账面价值为28.55亿元,占净资产的70.48%,较上年末减少1797.01万元。其中,存货跌价准备为527.09万元,计提比例为0.18%。
在偿债能力方面,公司2024年上半年末资产负债率为64.10%,相比上年末下降3.68个百分点;有息资产负债率为20.34%,相比上年末下降0.54个百分点。
2024年上半年,公司流动比率为0.63,速动比率为0.15。

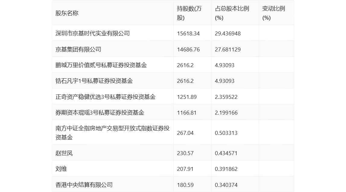
筹码集中度方面,截至2024年上半年末,公司股东总户数为1.65万户,较一季度末下降了1352户,降幅7.56%;户均持股市值由一季度末的51.31万元下降至43.92万元,降幅为14.40%。
指标注解:
市盈率
=总市值/净利润。当公司亏损时市盈率为负,此时用市盈率估值没有实际意义,往往用市净率或市销率做参考。
市净率
=总市值/净资产。市净率估值法多用于盈利波动较大而净资产相对稳定的公司。
市销率
=总市值/营业收入。市销率估值法通常用于亏损或微利的成长型公司。
文中市盈率和市销率采用TTM方式,即以截至最近一期财报(含预报)12个月的数据计算。市净率采用LF方式,即以最近一期财报数据计算。
市盈率为负时,不显示当期分位数,会导致折线图中断。