来源 :集微网2024-04-20
日月光的扇出型封装结构专利,通过伪凸块增加了第一电子元件和线路层之间的连接强度,减少了封装件的变形,并且减小了填充层破裂的风险,有效提高扇出型封装结构的良率。
集微网消息,日月光半导体近日宣布,其先进封装VIPack平台,推出业界首创的FOCoS扇出型封装技术,解决了传统覆晶封装将系统单芯片(SoC)组装在基板上的局限性,将两个或多个芯片重组为扇出模组。
在扇出型封装结构中,尤其是扇出型衬底上芯片(FOCOS)封装,各材料间热膨胀系数(CTE)不匹配,在热循环过程中会产生翘曲,而整体结构无法直接释放翘曲所产生的应力,因此位于应力集中点的电子元件周围容易产生破裂而直接往下破坏线路层。
为此,日月光于2021年9月17日申请了一项名为“扇出型封装结构”的发明专利(申请号: 20211109373.1),申请人为日月光半导体制造股份有限公司。

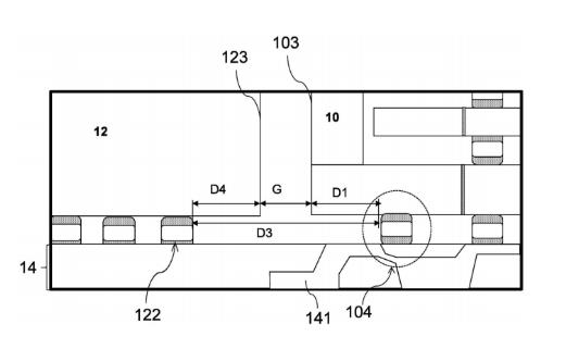
图1 扇出型封装结构和电子元件的示意图
图1为扇出型封装结构和电子元件的示意图,其中包括并排设置的第一电子元件10和第二电子元件12,以及二者下方的线路层14。还包括:填充层16,包覆第一电子元件和第二电子元件,二者通过填充层隔开。填充层包括模制化合物或底部填充胶或粘合层,位于第一电子元件、第二电子元件和线路层之间,第一电子元件的功能凸块阵列102和伪凸块104穿过粘合层。填充层和粘合层的热膨胀系数不同。粘合层的材料包括聚酰亚胺,在封装件受热时,由于线路层所在的一侧的填充层及粘合层较多,线路层所在的一侧的变形(膨胀)较大。因此,在线路层所在的一侧的填充层具有破裂的风险。本申请的实施例的伪凸块增加了第一电子元件和线路层之间的连接强度,减少了封装件的变形,并且减小了填充层破裂的风险。
在一些实施例中,第二电子元件的横向尺寸大于第一半导体管芯的横向尺寸。第二电子元件周围有多个第一电子元件。第一电子元件是高带宽存储器(HBM)管芯,第二电子元件是特定应用集成电路(ASIC)芯片,第一电子元件和第二电子元件的热膨胀系数不同。
第一电子元件包括:功能凸块阵列,位于第一电子元件的下表面101的中心处;伪凸块,位于功能凸块阵列和第一电子元件的下表面的边界103之间。第二电子元件和第一电子元件的功能凸块阵列电连接至线路层,第一电子元件的伪凸块物理接触线路层。伪凸块与边界之间具有第一距离D1,与功能凸块阵列之间具有第二距离D2,第一距离D1小于第二距离D2。
第二电子元件的下表面具有第二凸块122,第二凸块与伪凸块之间具有第三距离D3,第一距离D1与第三距离D3的比值位于0至0 .5的范围内。第一电子元件和第二电子元件之间的间距拉大,降低了应力集中导致的底胶(填充层)破裂问题。
简而言之,日月光的扇出型封装结构专利,通过伪凸块增加了第一电子元件和线路层之间的连接强度,减少了封装件的变形,并且减小了填充层破裂的风险,有效提高扇出型封装结构的良率。
日月光为全球领先半导体封装与测试制造服务公司,提供芯片前段测试及晶圆针测至后段封装、材料及成品测试的一元化服务。日月光提供完善的电子制造整体解决方案,以卓越技术及创新思维服务半导体、电子与数字科技市场。
关于爱集微知识产权

“爱集微知识产权”由曾在华为、富士康、中芯国际等世界500强企业工作多年的知识产权专家、律师、专利代理人、商标代理人以及资深专利审查员组成,熟悉中欧美知识产权法律理论和实务。依托爱集微在ICT领域的长期积累,围绕半导体及其智能应用领域,在高价值专利培育、投融资知识产权尽职调查、上市知识产权辅导、竞争对手情报策略、专利风险预警和防控、专利价值评估和资产盘点、贯标和专利大赛辅导等业务上具有突出实力。在全球知识产权申请、挖掘布局、专利分析、诉讼、许可谈判、交易、运营、一站式托管服务、专利标准化、专利池建设等方面拥有丰富的经验。我们的愿景是成为“ICT领域卓越的知识产权战略合作伙伴”。