chaguwang.cn-查股网.中国
查股网.CN
北方国际(000065)内幕信息消息披露
 
个股最新内幕信息查询:    
 

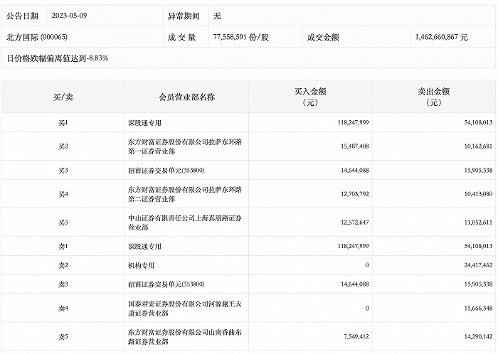
龙虎榜丨北方国际今日跌停,深股通专用买入1.18亿元并卖出5410.80万元

http://www.chaguwang.cn  2023-05-09  北方国际内幕信息

来源 :界面新闻2023-05-09

  5月9日,北方国际今日跌停,龙虎榜数据显示,上榜营业部席位全天成交3.37亿元,占当日总成交金额比例为23.06%。其中,买入金额为1.81亿元,卖出金额为1.56亿元,合计净买入2518.97万元。

  具体来看,机构合计净卖出2441.75万元。此外,深股通专用、招商证券交易单元(353800)分别卖出5410.80万元、1590.53万元;深股通专用、东方财富证券拉萨东环路第一证券营业部分别买入1.18亿元、1548.74万元。

   

有问题请联系 767871486@qq.com 商务合作广告联系 QQ:767871486
www.chaguwang.cn 查股网