2023年,老牌保健品牌“东阿阿胶”流年不利。
2月底,上任才满一年的董事长高登锋辞职了,同一天副总裁张名君也随后离职。

而就在三个月前副总裁刘延风、任儒倬就因“工作变动”原因辞去职务,刘延风还是公司年资最深的副总裁之一。
短短三个月,4位高层异常变动,东阿阿胶要变天吗?
而东阿阿胶的战略不清、业务资源分散、增长乏力、产品老龄化等历史问题,也一直困扰着这艘保健品的巨舰。
最近的频频决定,也能看得出东阿阿胶想“变年轻”的心。
不久前跨界联名“奈雪的茶”,推出品牌联名首款阿胶奶茶让东阿阿胶火了一把。新品首发日,#东阿阿胶奈雪联名奶茶#话题即冲上微博热搜,阅读量破亿。

东阿阿胶年轻化战略还要追溯到2019年,自2019年末2020年初,东阿阿胶老一辈掌舵人董事长王春城、总裁秦玉峰先后离任,东阿阿胶高管层的变动颇为频繁,且愈加年轻化。
这背后,其实就是东阿阿胶近年来所经历的暴雷阵痛与转型自救中的一部分。
强忍阵痛的东阿阿胶也在自救中得到了回报。
根据官方公告显示,截止2022年3月底,东阿阿胶存货为14.89亿元,相较年初16.46亿元,三个月内再削减1.57亿元,减少约1成,这是8年来的最低值。

过去2年多,以现任董事长高登锋为首的管理层,清理存货超过20个亿,应收账款减少超过10个亿。东阿阿胶走出低谷,一季度营收8.9亿元,同比增长21.4%。

数据来源:21世纪商业评论
不过,这场整顿东阿阿胶付出了高昂的代价,单是库存和应收款等多项减值,合计损失就超过8个亿。
然而,在库存逐渐消减,通过与“奈雪的茶”联名合作,东阿阿胶就真的能够找到属于自己的品牌年轻化之路吗?
一、“药中茅台”跌落神坛
东阿阿胶一直有一个十分响亮的名号——“药中茅台”。
与其他品牌碰瓷“茅台”不一样,1996年东阿阿胶就在深交所上市,2004年被华润医药收于旗下。

此后的很长一段时间内,东阿阿胶堪称“药中茅台”,在其稳定业绩增速的背后,东阿阿胶最根本的策略就是以“文化营销”、“价值回归”的理念不断提价。
据不完全统计,2005年至2018年,公司阿胶块累计提价18次之多,阿胶块终端零售价也从每千克200元升至近6000元,翻了30倍之多。
事实上,这背后除了秦玉峰推出的价值理念以外,也有阿胶块的原材料驴皮供应日益紧缺,依赖进口的原因。
依靠这种简单粗暴的手段,东阿阿胶仍然在2018年收入与净利润达到高峰,不过也是在这个时候,阿胶块的价值魔法开始失效,东阿阿胶也成为了一副好牌打得稀巴烂的代表。
不断提价的同时,东阿阿胶的存货也在也不断增加,就在2018年达到净利润高峰的前一年,东阿阿胶的存货已经达到36亿元,相对较2010年增长了20倍左右。

图片来源:理杏仁
而自2019年开始,东阿阿胶停止涨价,开始大力清理库存。
有爬虫数据显示,2020年其在天猫平台GMV达4.69亿元,同比增长109%。在2018-2021四年期间,东阿阿胶的存货金额分别为39.44亿、33.55亿、29.6亿、17.58亿。

值得注意的是,在自救之中,公司的研发费用占比在逐渐减小,由2019年的近7%降至2022年上半年的3.5%。
东阿阿胶曾回应称,研发费用下降一定程度上受统计口径的影响。
但研发人员的减少是客观存在的。根据东阿阿胶2021年年报显示,公司研发人员总数、硕士人员、30岁以下人员分别减少了9.88%、32.43%和17.73%。

图片来源:东阿阿胶财报
可以说,东阿阿胶近年来把绝大数的心思花在了“清库存+促销”上。
原因很简单,在存货积压、没有抗通胀价值、也没有收藏价值的阿胶块,已经难以重回540亿估值的巅峰,只有尽可能的“出清”发展新的增长曲线。
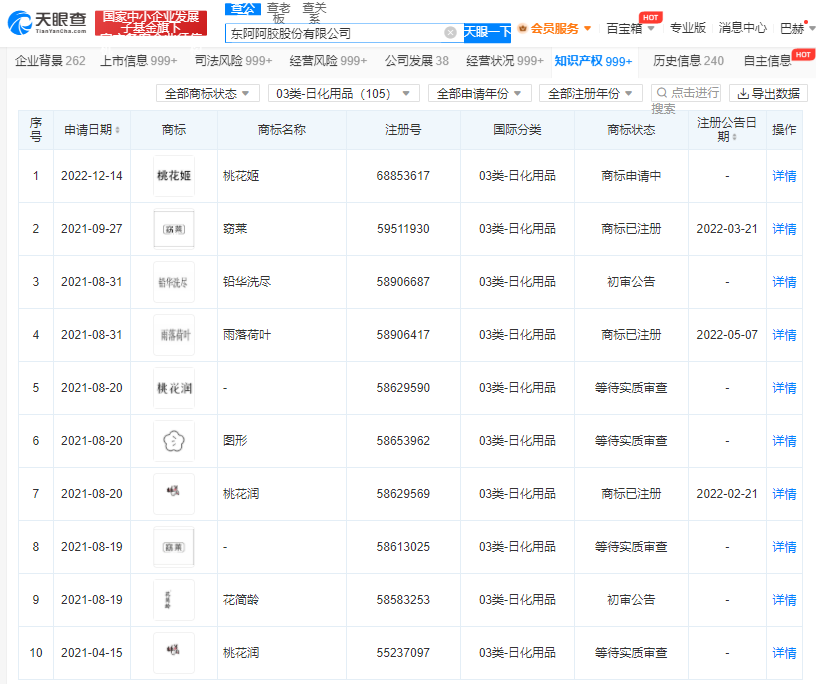
在清库存的过程中,东阿阿胶也曾尝试过发展阿胶块以外的业务,不仅涉及过美妆领域,也在化妆品做出过投入。
东阿阿胶股份有限公司注册的日化用品类商标多达105个,包括“桃花润”、“桃花姬”、“润玉颜”、“胶城”、“真颜CHINELLE”、“黛娇颜”等多个商标。

东阿阿胶营销支出占比也高于研发费用。
最明显的是从以往每年的总费用看,销售费用总是占支出的绝大部分,销售费用率甚至在2019年达到44.85%。
但在美妆与化妆品领域的发展,几乎都是反响平平,并没有出现过该领域明明星产品。
事实上,在这一过程中东阿阿胶似乎也学到了消费界的精髓:以新茶饮为载体结合阿胶粉,推出联名茶饮,将人群真正的对标到20-35岁最有力的消费者。
二、更加年轻态的“老字号”?
在与奈雪的茶联名前,2019年东阿阿胶也曾尝试着跨界做咖啡。
东阿阿胶与太平洋咖啡联合推出“咖啡如此多‘胶’”阿胶系列饮品。
系列饮品包括OATLY阿胶红枣拿铁、东阿阿胶拿铁、阿胶红枣拿铁、东阿阿胶抹茶拿铁及东阿阿胶银耳茶拿铁。

紧接着,2020年东阿阿胶与光明乳业合作,将阿胶粉和牛奶调冲在一起,推出新产品。
根据2020年财报来看,大部分的研发投入也都聚焦在研究阿胶粉+酸奶的新吃法以及燕窝产品、探索美妆领域上。
为了抓住中式滋补的市场机遇,东阿阿胶近几年一直在不断尝试年轻化转型与跨界布局。
以上无论是合作亦或是研发方面都没有激起任何的水花。
而当下的营收品类中,给东阿阿胶带来约9成收入的业务,依然是阿胶类产品,核心产品为阿胶、复方阿胶浆、“桃花姬”阿胶糕。
以此来看,如果想要通过“阿胶奶茶”来达到2025年末实现80亿的收入,未来4年达到倍增,对于高登峰来说,并不容易。
首先,高营收产品容易被质疑智商税。
之前,国家卫计委官方微博发布的一则消息指出“阿胶只是水煮驴皮”,微怼“保养圣品”阿胶。

从生产的原料上看,阿胶主要采用的是驴皮、冰糖、豆油、黄酒等,似乎并无特别之处。
在2015年新版《中国药典》中对阿胶的功能与主治范围明确为:补血滋阴、润燥、止血等。
而补血是中医名词,又称养血,和西医的治疗贫血不同,贫血不是要“补血”,而是要补充血红蛋白的主要成分——铁,盲目吃阿胶只会越补越差!
对于其他的神奇功效,目前也没有研究证据证明,所以吃阿胶很多时候可能就是单纯的食疗。
其次,阿胶奶茶等新品更像是一个年轻化的营销噱头。
如果仅仅是以阿胶粉来看,在长期食用的情况下,或许的确会具有一定的补血疗效,但如果是在中和老白茶做茶底以及其他配料之后,其疗效可见一般,甚至可能都没有。
还有一个细节值得注意的是,阿胶粉主要针对气血两虚者,相反对脾胃虚者、三高者并不友好。
此外,除了“阿胶奶茶”的火热,东阿阿胶还需要考虑到,在联名策略之下如何实现营销的有效转化。
某种程度上看,“阿胶奶茶”的瞬间爆火,除了营销作用之外,实际上还得益于与奈雪的茶联名,再其次是“阿胶”本身。
而用户增长和保留也一直是东阿阿胶发展多年以来所缺失的,更是往“年轻化”转型最需要弥补的一方面。
而同样的,高登锋在2021年初反思时说道,之前“没有顾客增长的意识,没有顾客保留的意识”。
三、东阿阿胶:爆款成为最大的挑战
从客观上来说,进入更年轻化的市场,根据新消费市场的营销规律,东阿阿胶需要做到比以往更高效率的产品迭代。
在一个类似的大领域中,东阿阿胶迈向年轻人一代,无论是从饮品还是护肤品上切入,都算不上是真正意义上的跨界。
自带的养生标签足以为拓展业务带来一定的基础,关键的问题出现在东阿阿胶在产品设计理念以及产品包装营销上,如何触达年轻人对“健康、养生、护肤”的需求,这是最大的一个难题。
毕竟,以东阿阿胶官网所推出的“真颜小分子”护肤产品来看,“卖相”实属一般。
另一方面,品类矩阵单一是众所周知的。
仅仅是从官方旗舰店看,东阿阿胶推出的护肤类产品,除了“真颜小分子”以外,再无其他。主打的“阿胶”类产品也并不多,全平台仅有36款。
而反过来对比竞品“同仁堂”,“同仁堂官方旗舰店”品类更齐全,其产品矩阵更是多达594款。
可以说,东阿阿胶的逊色不是几款联名的“阿胶奶茶”就能掩盖的。
此外,在众多基础之上,东阿阿胶比任何品牌都需要大量的爆款叠加。
对于沉寂于年轻人以外的“老字号”东阿阿胶而言,奶茶联名带来的营销效果是十分有限的,没有连续的爆款加持,再多的流量涌入也只是暂时的,成效极低。

图片来源:同仁堂官方旗舰店截图
事实上,关于推出的产品是否具有爆款潜质,某个程度上也是对品牌经营年轻化的考验。
有媒体统计,国内的老字号企业已从最高时的16000多家减少到1600多家,90%的老字号都消失了。剩下的老字号里,能盈利的只有10%左右。
而“东阿阿胶”能否在老字号中脱颖而出,还静待考察。