chaguwang.cn-查股网.中国
查股网.CN
我爱我家(000560)内幕信息消息披露
 
个股最新内幕信息查询:    
 

龙虎榜丨我爱我家今日涨6.07%,知名游资方新侠净买入3205.2万元

http://www.chaguwang.cn  2024-07-17  我爱我家内幕信息

来源 :界面新闻2024-07-17

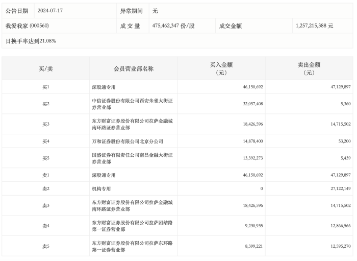
  7月17日,我爱我家今日涨6.07%,龙虎榜数据显示,上榜营业部席位全天成交2.57亿元,占当日总成交金额比例为20.44%。其中,买入金额为1.43亿元,卖出金额为1.14亿元,合计净买入2804.21万元。

  具体来看,机构合计净卖出2712.21万元。此外,知名游资现身龙虎榜,深股通专用、方新侠(中信证券西安朱雀大街证券营业部)分别买入4615.07万元、3205.74万元;深股通专用、东方财富证券拉萨金融城南环路证券营业部分别卖出4712.99万元、1471.55万元。

  

有问题请联系 767871486@qq.com 商务合作广告联系 QQ:767871486
www.chaguwang.cn 查股网