来源 :新浪财经2024-05-06
4月30日披露2024年一季报。2024年第一季度,公司实现营业总收入35.86亿元,同比下降9.20%;归母净利润6814.67万元,同比下降79.31%;扣非净利润6567.58万元,同比下降79.70%;经营活动产生的现金流量净额为-5654.26万元,上年同期为-1.98亿元;报告期内,钒钛股份基本每股收益为0.0073元,加权平均净资产收益率为0.56%。


2024年第一季度,公司毛利率为8.08%,同比下降6.18个百分点;净利率为2.15%,较上年同期下降6.18个百分点。

数据显示,2024年第一季度公司加权平均净资产收益率为0.56%,较上年同期下降3.11个百分点;公司2024年第一季度投入资本回报率为0.59%,较上年同期下降2.81个百分点。

2024年第一季度,公司经营活动现金流净额为-5654.26万元,同比增加1.42亿元;筹资活动现金流净额-2.25亿元,同比减少2.33亿元;投资活动现金流净额-2.96亿元,上年同期为-1429.21万元。

2024年第一季度,公司营业收入现金比为70.45%,净现比为-82.97%。

资产重大变化方面,截至2024年一季度末,公司货币资金较上年末减少34.94%,占公司总资产比重下降3.73个百分点;其他流动资产较上年末增加9.05%,占公司总资产比重上升1.70个百分点;预付款项较上年末增加290.05%,占公司总资产比重上升1.21个百分点;在建工程较上年末增加18.21%,占公司总资产比重上升1.06个百分点。

负债重大变化方面,截至2024年一季度末,公司合同负债较上年末减少40.33%,占公司总资产比重下降1.06个百分点;应付账款较上年末减少12.85%,占公司总资产比重下降0.66个百分点;其他应付款(含利息和股利)较上年末增加12.14%,占公司总资产比重上升0.60个百分点;应交税费较上年末增加136.13%,占公司总资产比重上升0.26个百分点。

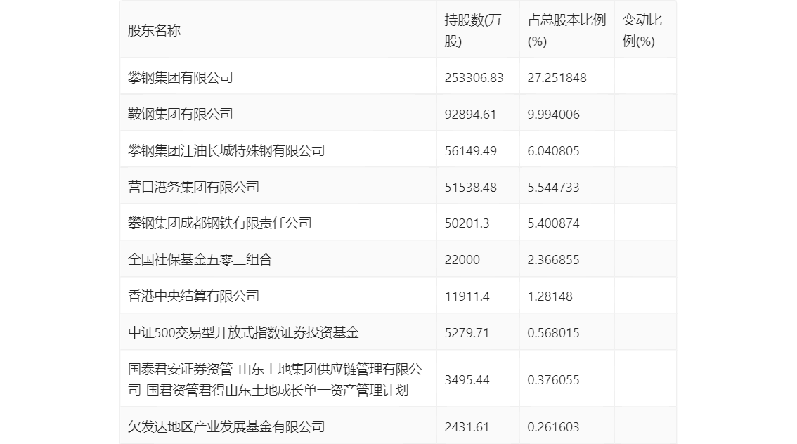
一季报显示,2024年一季度末的公司十大流通股东中,新进股东为国君资管君得山东土地成长单一资产管理计划、欠发达地区产业发展基金有限公司,取代了上年末的大成中证金融资产管理计划、广发中证金融资产管理计划。在具体持股比例上,营口港务集团有限公司、全国社保基金五零三组合、香港中央结算有限公司、中证500交易型开放式指数证券投资基金持股有所上升。

筹码集中度方面,截至2024年一季度末,公司股东总户数为28.25万户,较上年末下降了4622户,降幅1.61%;户均持股市值由上年末的10.62万元下降至10.07万元,降幅为5.18%。
