西王食品(000639)8月10日披露2024年半年报。2024年上半年,公司实现营业总收入25.17亿元,同比下降7.91%;归母净利润4065.17万元,同比扭亏;扣非净利润5276.23万元,同比扭亏;经营活动产生的现金流量净额为-1709.81万元,上年同期为5923.97万元;报告期内,西王食品基本每股收益为0.0377元,加权平均净资产收益率为1.21%。
以8月9日收盘价计算,西王食品目前市盈率(TTM)约为36.39倍,市净率(LF)约为0.81倍,市销率(TTM)约为0.52倍。
公司近年市盈率(TTM)、市净率(LF)、市销率(TTM)历史分位图如下所示:


根据半年报,公司第二季度实现营业总收入12.18亿元,同比下降7.17%,环比下降6.17%;归母净利润-1020.57万元,同比下降13.13%,环比下降120.07%;扣非净利润130.25万元,同比增长117.67%,环比下降97.47%。
分产品来看,2024年上半年公司主营业务中,营养补给品收入12.12亿元,同比下降7.36%,占营业收入的48.16%;植物油收入10.69亿元,同比下降5.75%,占营业收入的42.46%。
2024年上半年,公司毛利率为25.55%,同比上升7.76个百分点;净利率为1.30%,较上年同期上升3.60个百分点。从单季度指标来看,2024年第二季度公司毛利率为25.68%,同比上升6.03个百分点,环比上升0.26个百分点;净利率为-1.43%,较上年同期下降0.34个百分点,较上一季度下降5.30个百分点。
分产品看,营养补给品、植物油2024年上半年毛利率分别为30.47%、25.65%。
数据显示,2024年上半年公司加权平均净资产收益率为1.21%,较上年同期增长2.75个百分点;公司2024年上半年投入资本回报率为1.36%,较上年同期增长1.76个百分点。
2024年上半年,公司经营活动现金流净额为-1709.81万元,同比减少7633.78万元,主要系去年四季度春节预收账款本年发货所致;筹资活动现金流净额-1.09亿元,同比减少5560.07万元,主要系银团还款增加所致;投资活动现金流净额907.06万元,上年同期为-1.58亿元,主要系去年定期存款增加所致。
进一步统计发现,2024年上半年公司自由现金流为-9338.67万元,上年同期为2583.68万元。
2024年上半年,公司营业收入现金比为100.67%,净现比为-42.06%。
营运能力方面,2024年上半年,公司公司总资产周转率为0.36次,上年同期为0.39次(2023年上半年行业平均值为0.40次,公司位居同行业16/26);固定资产周转率为3.88次,上年同期为4.55次(2023年上半年行业平均值为1.89次,公司位居同行业4/26);公司应收账款周转率、存货周转率分别为7.27次、2.14次。
2024年上半年,公司期间费用为5.88亿元,较上年同期增加3126.64万元;期间费用率为23.35%,较上年同期上升3.00个百分点。其中,销售费用同比增长4.77%,管理费用同比增长4.14%,研发费用同比增长20.91%,财务费用同比增长7.25%。
资料显示,销售费用的变动主要因为市场推广费用增加。
资产重大变化方面,截至2024年上半年末,公司存货较上年末减少12.01%,占公司总资产比重下降1.25个百分点;货币资金较上年末减少7.09%,占公司总资产比重下降1.10个百分点;无形资产较上年末增加0.04%,占公司总资产比重上升1.07个百分点;应收账款较上年末增加15.64%,占公司总资产比重上升0.84个百分点。
负债重大变化方面,截至2024年上半年末,公司合同负债较上年末减少77.25%,占公司总资产比重下降2.58个百分点;长期借款较上年末增加190.45%,占公司总资产比重上升1.09个百分点;应付账款较上年末减少15.50%,占公司总资产比重下降0.79个百分点;短期借款较上年末减少3.28%,占公司总资产比重下降0.09个百分点。
从存货变动来看,截至2024年上半年末,公司存货账面价值为8.18亿元,占净资产的24.14%,较上年末减少1.12亿元。其中,存货跌价准备为4125.61万元,计提比例为4.8%。
在偿债能力方面,公司2024年上半年末资产负债率为43.17%,相比上年末下降2.14个百分点;有息资产负债率为27.10%,相比上年末上升0.86个百分点。
2024年上半年,公司流动比率为1.25,速动比率为0.90。
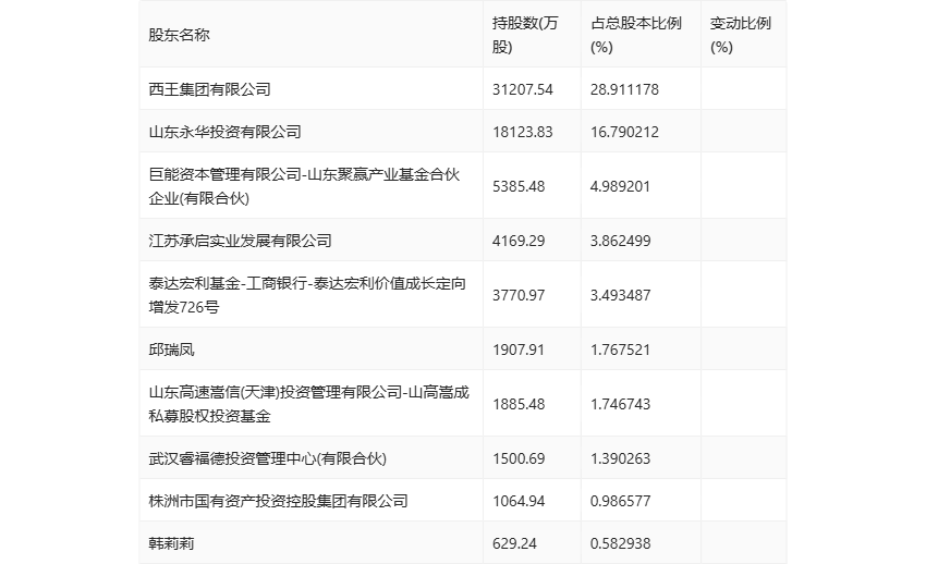
半年报显示,2024年上半年末公司十大流通股东中,新进股东为邱瑞凤、韩莉莉,取代了一季度末的香港中央结算有限公司、刘峥嵘。在具体持股比例上,武汉睿福德投资管理中心(有限合伙)持股有所上升,西王集团有限公司持股有所下降。
值得注意的是,根据半年报数据,西王食品45.52%股份处于质押状态。其中,第一大股东西王集团有限公司质押3.10亿股公司股份,占其全部持股的99.36%。
筹码集中度方面,截至2024年上半年末,公司股东总户数为2.61万户,较一季度末下降了1468户,降幅5.32%;户均持股市值由一季度末的12.83万元下降至9.84万元,降幅为23.30%。
指标注解:
市盈率
=总市值/净利润。当公司亏损时市盈率为负,此时用市盈率估值没有实际意义,往往用市净率或市销率做参考。
市净率
=总市值/净资产。市净率估值法多用于盈利波动较大而净资产相对稳定的公司。
市销率
=总市值/营业收入。市销率估值法通常用于亏损或微利的成长型公司。
文中市盈率和市销率采用TTM方式,即以截至最近一期财报(含预报)12个月的数据计算。市净率采用LF方式,即以最近一期财报数据计算。
市盈率为负时,不显示当期分位数,会导致折线图中断。