来源 :运营商财经网房产2022-08-15
8月10日,美好置业发布了关于公司人事变动的公告,经董事会审核,同意聘任李俊锋先生担任公司总裁。而接任公司总裁一职的李俊峰,将要面对怎样的发展状况呢?

在7月份,美好置业发布了2022上半年业绩预告,报告中显示,预计公司的经营业绩会持续亏损。其中归属上市公司股东的净利润亏损2.8亿至4亿元,扣非净利润亏损1.8亿至3亿元。
报告中指出,报告期内完成结算的房地产开发项目毛利率较低,部分项目进度不及预期,产生延期交房违约金,这是造成业绩变化的原因之一。
除此之外,美好置业由于涉及多起诉讼,导致公司及子公司部分银行账户被冻结,被冻结额度合计超过1亿元。还收到了深交所关于年报的问询函。
后来美好置业在回复公告中说明,截至2022年8月8日,公司被冻结的资金额度降至4142万元。
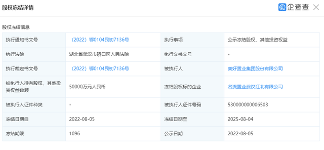
但是仅仅过了一天,美好置业集团就作为被执行人,旗下的名流置业武汉江北有限公司新增被冻结5亿元,冻结日期达3年。

从2009年就已经加入公司的李俊峰,一路从区域公司升到了集团总裁职位,可见其能力还是得到集团管理层的认可的。
而年仅40岁的李俊峰能否会带领美好置业迎来新的发展呢?