来源 :中国经济网2022-11-28
国家外汇局网站近日公布行政处罚决定书(吉汇检罚〔2022〕4号),东北证券股份有限公司(“东北证券,”000686.SZ)存在违反外汇账户管理规定的违法事实,违反了《关于证券经营机构从事B股业务若干问题的补充通知》(证监发〔2001〕26号)第四条和《国家外汇管理局关于贯彻实施〈关于境内居民个人投资境内上市外资股若干问题的通知〉中有关问题的通知》(汇发〔2001〕26号)第十三条规定,国家外汇管理局吉林省分局依据《中华人民共和国外汇管理条例》第四十八条第(四)项规定,对其警告,责令改正,罚款人民币10万元。处罚决定日期2022年11月23日。
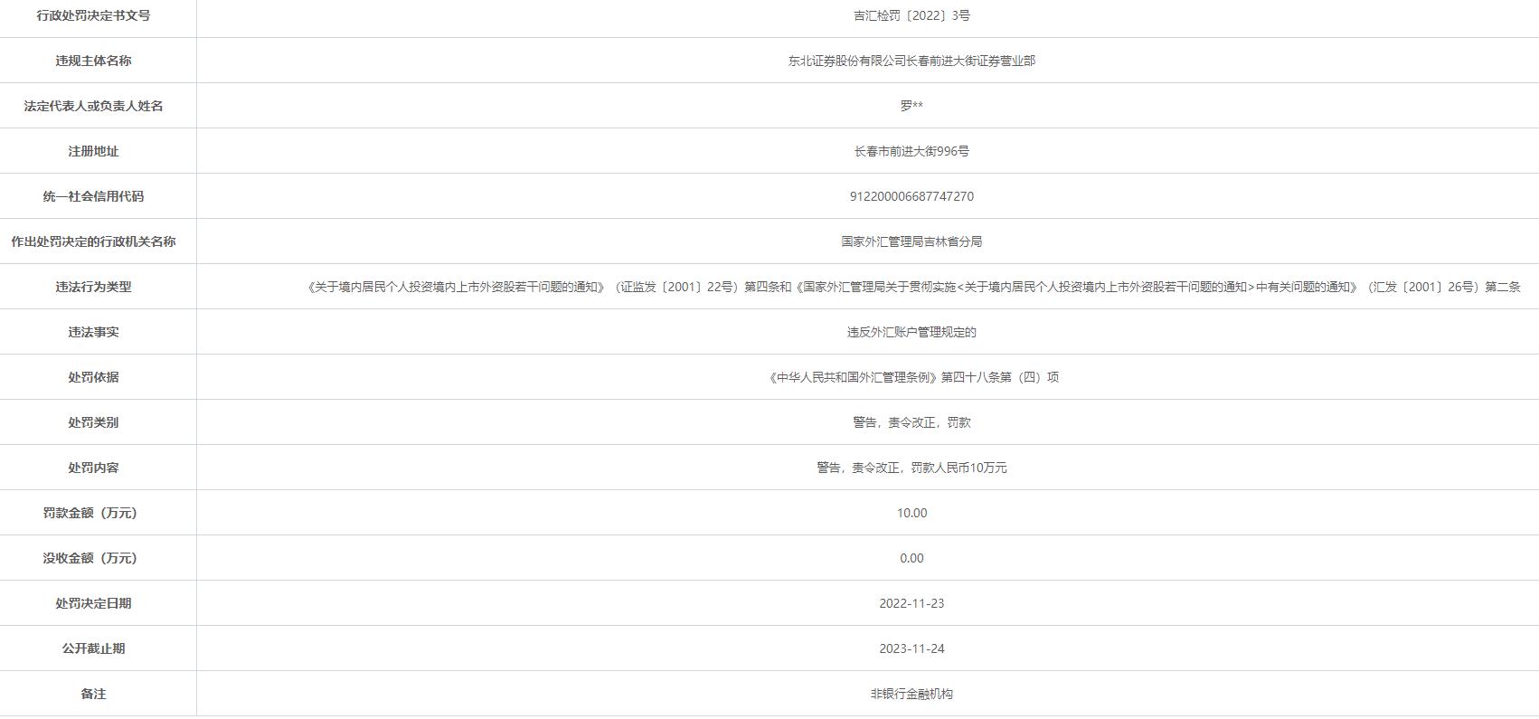
此外,行政处罚决定书(吉汇检罚〔2022〕3号)显示,东北证券股份有限公司长春前进大街证券营业部存在违反外汇账户管理规定的违法事实,违反了《关于境内居民个人投资境内上市外资股若干问题的通知》(证监发〔2001〕22号)第四条和《国家外汇管理局关于贯彻实施<关于境内居民个人投资境内上市外资股若干问题的通知>中有关问题的通知》(汇发〔2001〕26号)第二条规定,国家外汇管理局吉林省分局依据《中华人民共和国外汇管理条例》第四十八条第(四)项规定,对其警告,责令改正,罚款人民币10万元。处罚决定日期2022年11月23日。
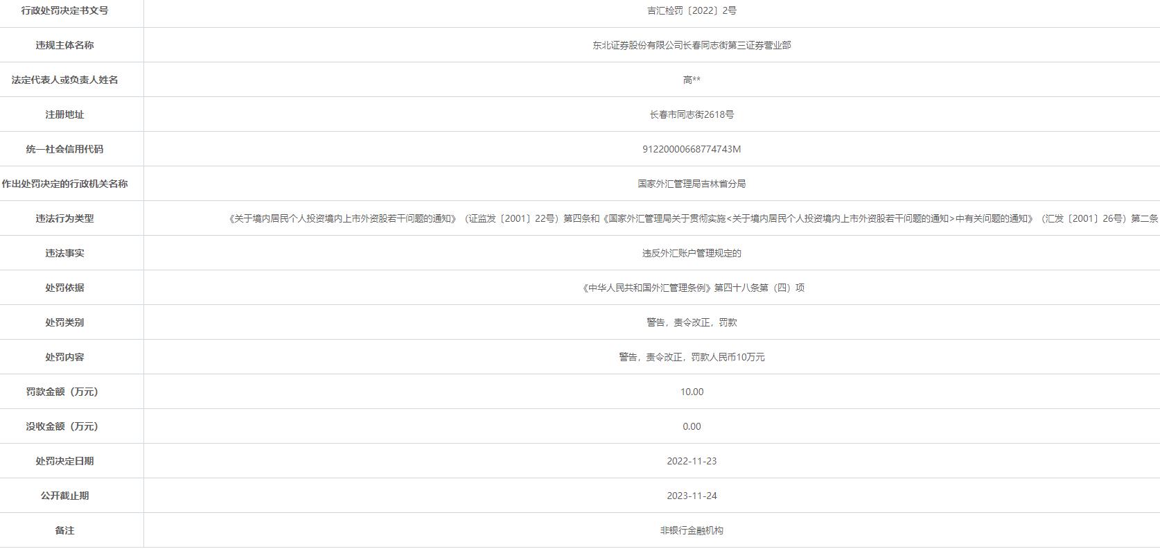
行政处罚决定书(吉汇检罚〔2022〕2号)显示,东北证券股份有限公司长春同志街第三证券营业部存在违反外汇账户管理规定的违法事实,违反了《关于境内居民个人投资境内上市外资股若干问题的通知》(证监发〔2001〕22号)第四条和《国家外汇管理局关于贯彻实施<关于境内居民个人投资境内上市外资股若干问题的通知>中有关问题的通知》(汇发〔2001〕26号)第二条规定,国家外汇管理局吉林省分局依据《中华人民共和国外汇管理条例》第四十八条第(四)项规定,对其警告,责令改正,罚款人民币10万元。处罚决定日期2022年11月23日。
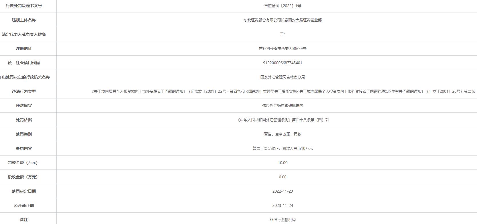
行政处罚决定书(吉汇检罚〔2022〕1号)显示,东北证券股份有限公司长春西安大路证券营业部存在违反外汇账户管理规定的违法事实,违反了《关于境内居民个人投资境内上市外资股若干问题的通知》(证监发〔2001〕22号)第四条和《国家外汇管理局关于贯彻实施<关于境内居民个人投资境内上市外资股若干问题的通知>中有关问题的通知》(汇发〔2001〕26号)第二条规定,国家外汇管理局吉林省分局依据《中华人民共和国外汇管理条例》第四十八条第(四)项规定,对其警告,责令改正,罚款人民币10万元。处罚决定日期2022年11月23日。
官网显示,东北证券股份有限公司前身为吉林省证券公司。2000年6月经中国证监会批准,经过增资扩股成立东北证券有限责任公司。2007年8月,锦州经济技术开发区六陆实业股份有限公司定向回购股份,以新增股份换股吸收合并东北证券有限责任公司,并更名为“东北证券股份有限公司”。2007年8月27日,公司在深圳证券交易所挂牌上市,股票简称为“东北证券”,股票代码为000686。公司注册地为吉林省长春市,注册资本为23.40亿元。
此前,国家外汇管理局吉林省分局网站公布行政处罚决定书(吉市汇检罚[2022]1号),东北证券吉林遵义东路证券营业部因违反外汇账户管理规定被国家外汇管理局吉林市中心支局警告,责令改正,罚款人民币10万元;行政处罚决定书(吉市汇检罚[2022]2号)显示,东北证券吉林光华路证券营业部因违反外汇账户管理规定被国家外汇管理局吉林市中心支局警告,责令改正,罚款人民币10万元。处罚决定日期均为2022年11月18日。
《中华人民共和国外汇管理条例》第四十八条规定:有下列情形之一的,由外汇管理机关责令改正,给予警告,对机构可以处30万元以下的罚款,对个人可以处5万元以下的罚款:
(一)未按照规定进行国际收支统计申报的;
(二)未按照规定报送财务会计报告、统计报表等资料的;
(三)未按照规定提交有效单证或者提交的单证不真实的;
(四)违反外汇账户管理规定的;
(五)违反外汇登记管理规定的;
(六)拒绝、阻碍外汇管理机关依法进行监督检查或者调查的。
以下为原文:


