合作多年一朝翻脸,东北证券讨要辛苦钱
以新三板业务著称的东北证券,至今仍在追讨多年前的一单项目的旧账。
新增送达公告
据人民法院公告网显示,北京市石景山人民法院近期公告送达东北证券股份有限公司(简称:东北证券)与北京哟哈科技股份有限公司(简称:哟哈股份)服务合同纠纷案的判决结果。

(2024)京0107民初26号民事判决书的主要内容如下:哟哈股份于本判决生效后七日内给付原告东北证券督导费16.25万元,并支付资金占用费(以5万元为基数,自2019年8月1日起至实际给付之日止,按照全国银行间同业拆借中心公布的同期一年期贷款市场报价利率为标准计算;以11.25万元为基数,自2020年8月1日起至实际给付之日止,按照全国银行间同业拆借中心公布的同期一年期贷款市场报价利率为标准计算)。
由此可以推测,作为被告方的哟哈股份并未出庭应诉,因而由法院公告送达判决书。
曾是挂牌公司
行家注意到,哟哈股份曾是新三板挂牌公司(证券代码:835419),而东北证券曾是其主办券商。
股转公司列示的历史文件显示,东北证券于2015年10月15日签署了《关于推荐北京哟哈科技股份有限公司股票进入全国中小企业股份转让系统挂牌的推荐报告》《公开转让说明书》等文件。
作为主办券商,在相关文件中签字的人员包括时任法定代表人杨树财,项目小组负责人梁司南,项目组成员张国海、张琪。而签字会计师事务所,正是如今已经“歇菜”的瑞华所。

2020年9月,股转公司应哟哈股份申请,决定于2020年9月14日起终止其股票挂牌。
没想到的是,虽已摘牌多年,哟哈股份与东北证券还有纠纷未了。
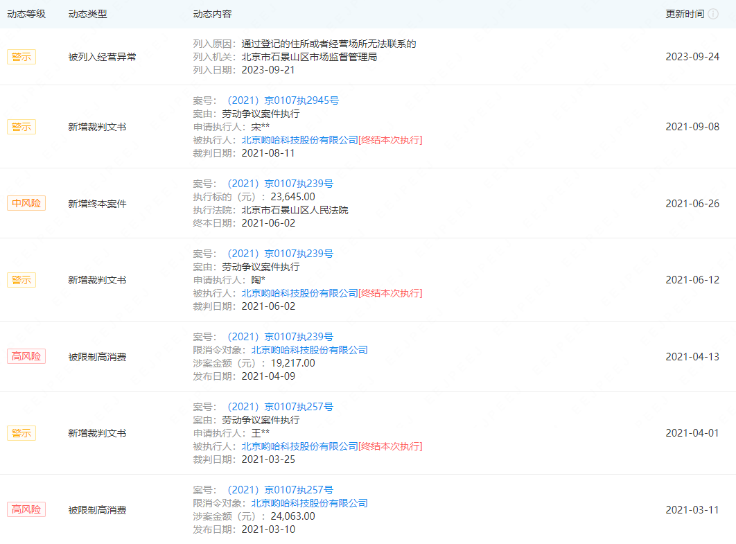
哟哈股份有多起限高和终本案件信息,并且已被列入经营异常。

签字人员下落
而东北证券的投行人员,也已经历经沧桑。
在前述文件中签字仅过了五天,杨树财先生就卸任了东北证券总裁;2016年1月,他卸任董事长,同年2月转任监事长至今。
项目小组签字的三名人员,如今均已离开证券行业。其中,梁司南曾是东北证券河北分公司负责人。2020年3月河北分公司注销后,未见下落。目前东北证券河北分公司原是石家庄民生路营业部,2023年2月升级为分公司。
张国海于2019年离开东北证券;2022年7月登记执业于开源证券,目前未见下落。
因重名人员较多,行家发现一位“张琪”曾在东北证券投行总部任职,于2019年6月加入方正证券承销保荐,但2021年之后离职注销。
分管高管见证
现任高管名单中,还有一位可能见证了与哟哈股份的“掰扯”。
曾在东北证券担任投资银行部副总经理、总裁助理,并兼任北京分公司总经理的梁化军先生,在2017年初升任为东北证券副总裁;并于2019年兼任中证协投资银行委员会委员。
从2017年至2023年,即使最低迷的时间段,这位分管投行的高管,薪酬也没有低于130万。尤其是2021年,连同递延薪酬在内超过600万元。
如果本次“讨账”成功,行家希望东北证券进一步奖励这位高管。
九年业绩轮回
东北证券2015年年报中,对新三板业务的“井喷”有如下描述:公司紧紧把握新三板市场发展机遇,新增挂牌企业93家,同比增长144.74%;累计挂牌企业136家,同比增长211.36%;在审企业45家;行业排名第11位。此外,公司新增申报股转挂牌项目140家,新增立项股转挂牌项目232家。
而在2023年,东北证券年报显得“收敛”了许多:推荐荐5家企业完成新三板挂牌;截至报告期末,公司累计完成推荐挂牌项目367个,行业排名第9位,督导新三板挂牌企业182家,行业排名第8位。
九年时间,从粗放经营到深耕细作。如今的东北证券,在选择项目时或许将更为谨慎,以减少不必要的纠纷。