来源 :交子行科技2022-03-11
泰禾急眼了。你一说他就急眼了,多半就是戳到痛处了。
泰禾集团发布公告“辟谣”
3月10号,泰禾集团官方账号发布声明称,在网上有自媒体在平台上,别有用心使用个人注册号发布了《房产巨头泰禾集团宣布破产,留下一些“烂尾楼”,被万科集团接手》《万科接手泰禾集团》等文章和视频,已对公司品牌声誉和正常运营造成恶劣影响。

泰禾集团官方账号公告称,目前,公司整体运营有条不紊。2022年,公司将坚持“直面问题、绝不躺平、积极自救”的第一指导要义,坚持复工复产这一最大策略,以“交付虽然迟到、品质不会缺席”的务实态度和自我要求,全力推进复工复产及保交付保品质等工作。
看“直面问题、绝不躺平、积极自救”这个第一指导要义就知道,泰禾集团目前问题是很大,更怕一些风吹草动,承不起这最后一根稻草的重量了。
不到一个月泰禾股价跌逾25%
泰禾集团股票在2月14日为3.59元/股,经过不到一个月的持续下跌,3月11日开盘跌至2.69元/股。股市低迷,泰禾集团股价更是跳水,截止到发文日期,泰禾的市值只剩下66.9亿元。甚至都不及泰禾集团被司法执行金额的一半。

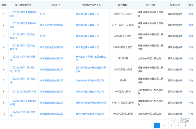
泰禾集团累计被执行154亿元
经过企业风险查询发现,泰禾集团目前共有被执行人信息22项、失信信息13项、限制高消费信息26项,其当前被执行总金额为154.84亿。这个被执行的金额都已经快是现在泰禾市值的3倍了。
其中原因还是高杠杆的问题,泰禾集团目前总负债高达2000多亿元。泰禾集团申请资产重组后,禾集团涉及的司法案件资金超13000件的惊人数量,这些官司,绝大部分是因为欠债。拖欠工程款、债权逾期、拖欠银行贷款、房屋买卖合同纠纷等。

其中诉讼案件不少都是票据逾期。
在小程序【探票】上可以查询到泰禾最新的商票贴息报价46.62%,这个数值基本上也就是代表企业商票兑付异常,谨慎持有。而且是有挂票数,但是没有成交数,市场上贪婪大胆的人都没人敢收。可想而知目前泰禾的市场认可度有多低。

泰禾被摆上拍卖席
3月24日,会有一场关于泰禾股权的拍卖。
北京第二中院将在3月24-25日,对泰禾集团无限售流通A股8804万股,进行第一次拍卖,起拍价约1.845亿元。

3月3日,据京东网络司法拍卖平台显示,北京市第二中级人民法院将于3月24日至3月25日,对标的物泰禾集团股份有限公司8804万无限售流通股进行第一次拍卖。
根据拍卖平台信息,此次拍卖标的物的所有人亦为泰禾集团,拍卖标的已被北京市第二中级人民法院查封,目前处于质押中。
“真真”假假复工
永远只见泰禾公告努力复工中,却没见到真复工的结果,这不是贾跃亭的“下周回”吗?
而且根据之前记者的实地采访报道,泰禾集团华东总部员工几乎全部撤走,仅剩下一条业务管理线人员。

泰禾在上海的项目基本上都已经停工了,也没有拿地和新开项目。资金链出现问题,只能收缩业务,售卖资产回血了,更别提拿地了。
重点是经过自救了两年多的泰禾,目前依旧处于项目开工没有保证,复工没有时断时续的阶段。
目前来说,泰禾转售资产,复工保交付,也许才有一丝丝可能获得资本市场的重新认可,可是泰禾的“狼来了式复工”让业主崩溃。
目前华夏幸福都部分项目复工了,泰禾依旧没一点消息。可想而知泰禾的雷还需要造谣吗?
秃子头上的虱子—明摆着的事儿。