chaguwang.cn-查股网.中国
查股网.CN
北京文化(000802)内幕信息消息披露
 
个股最新内幕信息查询:    
 

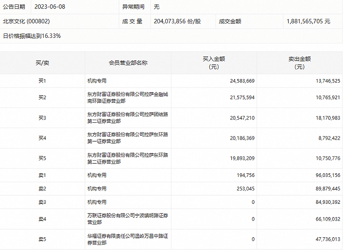
龙虎榜丨北京文化今日跌0.88%,机构合计净卖出2.6亿元

http://www.chaguwang.cn  2023-06-08  北京文化内幕信息

来源 :界面新闻2023-06-08

  6月8日,北京文化今日跌0.88%,龙虎榜数据显示,上榜营业部席位全天成交5.54亿元,占当日总成交金额比例为29.45%。其中,买入金额为1.07亿元,卖出金额为4.47亿元,合计净卖出3.4亿元。

  具体来看,机构买入2503.15万元,卖出2.85亿元,合计净卖出2.6亿元。此外,万联证券宁波镇明路证券营业部、华福证券温岭万昌中路证券营业部分别卖出6610.90万元、4773.60万元;东方财富证券拉萨金融城南环路证券营业部、东方财富证券拉萨团结路第二证券营业部分别买入2157.56万元、2054.72万元。

  

有问题请联系 767871486@qq.com 商务合作广告联系 QQ:767871486
www.chaguwang.cn 查股网