来源 :众合科技2023-08-26
8月26日,搭载着众合科技自主研发BiTRACON型信号系统的温州市域铁路S2线一期工程正式开通运营,众合科技再次以高质量的产品与服务,为温州打造“全国性综合交通枢纽”注入了新的生命与活力。

▲开通运营仪式现场
01
线网运营
轨道通达美好
温州是国内首个采用市域铁路创新制式的城市,从先行先试到全国示范,风驰电掣的市域铁路,是温州贯通东西南北的交通大动脉。
S2线一期工程北起乐清城东街道,南至瑞安市东山街道,全长63.63公里,设站20座,设计速度目标值140km/h,是环大罗山轨道交通网络的重要组成部分、推动温瑞一体化发展的重要纽带、串联东部沿海产业带的重要通道,对于温州进一步拉开城市框架,完善“大都市”格局,打造连接长三角一体化发展与粤闽浙沿海城市群建设的区域中心城市有着十分重要的意义。

▲ S2线站点与线路走向示意图
S2线开通后,将与S1线在机场站、灵昆站实现丝滑换乘,标志着温州轨道交通迈入了线网运营时代,给予市民出行更多的安全、高效、智能与便利,也赋予温州发展加倍的活力。
02
城轨大脑
创新安全高效
对于轨道交通来说,“安全”是永恒不变的主题,而信号系统好比其大脑和神经中枢,是保证行车安全、实现高效运营的关键设备。
作为响应温州市委市政府“大干交通,干大交通”战略的重点工程,S2线采用了众合科技全国产化自主研发的BiTRACON型CBTC列车运行控制系统,是国内首个全系统拥有完整SIL4级安全认证的CBTC系统,系统硬件采用DFX专项设计、主备系采用同步自跟踪技术,可实现自动或人工双系无扰切换,具有高安全性、高可靠性、高可用性、高可维护性。

▲业主领导与众合科技项目团队合影
“S2线信号系统由正线列车自动控制(ATC)系统和车辆段/停车场信号设备组成。正线信号系统采用完整的基于无线通信移动闭塞的列车自动控制系统(ATC),以故障-安全为基本原则,采用多重冗余技术,确保系统的安全性、可靠性、可用性、可维护性,提供高效的运营能力和灵活的可扩展功能。车辆段/停车场采用BiLOCKSTAR计算机联锁系统。正线和车辆段/停车场均设置配套信号维护监测子系统,”众合科技温州市域铁路S2线信号项目现场经理吴焕坤介绍称,S2线是众合科技继温州市域铁路S1线后在温州交付的第二条线路,自公司第一次踏上温州这片热土至今已有10年,众合人与温州轨道交通建设共同成长,共同进步,见证了温州市轨道交通从无到有,串线成网的全过程。
03
客户至上
荣获高度评价
众合科技项目团队始终坚持客户至上,在面临疫情冲击、有效工期短、任务重等不利条件时,用城轨建设者的敬业精神和技能水平,密切配合业主需求,主动优化管理,高效统筹资源配置,合理制定节点计划,积极协调相关单位,精确部署各方任务,通过“白夜两班倒”的高强度作业模式,顺利完成了8000余项联锁、ATS测试和1800余项车载测试用例调试,保障了信号系统的稳定运行,并在建设期间获得多项“先进集体”“先进个人”等荣誉,收获了业主的高度赞赏与认可。



S2线是亚运会温州分会场的重要对外窗口,满足了市民、游客及外宾的高效出行需求。接下来,众合科技将全力配合后续保障工作,为温州“迎亚运”配套基础工程保驾护航,以更高质量、更优服务、更好状态迎接亚运会召开。
众合科技科技也将一如既往践行“有你、有我,你在、我在”的用户理念,用倾注匠心的产品和关怀备至的服务,迎接每一次的如约交付、保证每一次的高质量开通。
TIPS:
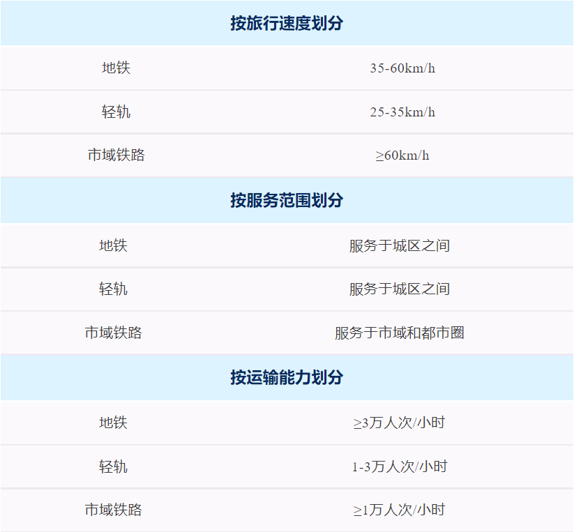
市域铁路是连接都市圈中心城市城区和周边城镇组团,为通勤客流提供快速度、大运量、公交化运输服务的轨道交通系统.与地铁、轻轨相比,市域铁路具有运行速度快、线路里程长、站间距较大等特点。

▲三类轨道交通的区别