辉入主3年,叶骥不仅未能带领山子高科(000981.SZ)成功转型,却再次因为债务危机成为“限高老赖”。
9月16日,天眼查app显示,宁波市海曙区人民法院发布一则案件信息,赤骥控股集团有限公司、宁波市诚业沥青有限公司、虞某、叶某1、叶某2为被执行人,执行标的为3851.34万元,案号为(2025)浙0203执9250号。
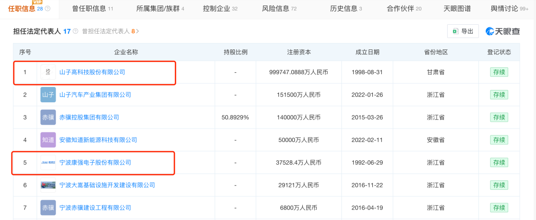
其中,赤骥控股集团有限公司的法人代表为叶骥。山子高科公告显示,公司实控人、董事长叶骥通过赤骥控股集团控制嘉兴梓禾瑾芯股权基金(以下简称“梓禾瑾芯”),从而间接控制山子高科10.05%股份。
根据案号,记者在全国法院执行信息网查询到叶骥的被执行信息。根据上市公司山子高科(原银亿股份)在2022年公布的一则详式权益变动报告书,叶骥出生于1983年,与被执行信息中所披露的身份证年份对应。
因此可推断,前述被执行人叶某即为上市公司山子高科的法人及董事长叶骥。对于此事,记者多次致电山子高科证券部电话,但始终未能接通,在山子高科官网所披露的联系方式中,其工作人员称不方便回应此事。



(图片来源:天眼查app)

(图片来源:全国法院执行信息网)

(图片来源:银亿股份有限公司详式权益变动报告书)
左手回购右手质押
叶骥多次被限高
记者注意到,这并非叶骥首次被限高。
天眼查app显示,2024年6月19日及2025年2月10日,赤骥控股集团、叶骥就因民间借贷纠纷、借款合同纠纷,分别被宁波市中院、绍兴市中院限制高消费,涉及资金分别为4.03亿元、5.15亿元。
此外,今年3月以来,因民间借款纠纷、金融借款纠纷等,赤骥控股集团和叶骥6次被中国银行宁波鄞州分行、中信银行宁波分行、吉利科技集团有限公司、宁波航威企业管理有限公司等告上法庭并开庭审理。


(图片来源:天眼查app)
叶骥的债务问题或源于去年对山子高科的一场“自救”。
2024年7月,山子高科股价跌破1元/股,面临退市风险。7月27日,公司发布多份公告称,计划最高出资10亿元回购公司股份,且董事长叶骥及其控制的企业计划自7月29日起通过二级市场择机增持公司股份,增持数量为1000万股。
在真金白银的许诺下,叶骥成功力挽狂澜,保住了山子高科的上市公司地位,公司股价回升至1元以上。
今年7月26日,山子高科发布公告称,叶骥所控企业已以2035.86万元资金增持公司股份1002.60万股,履行了其此前作出的增持承诺。
不过,虽然叶骥完成了增持,却转手就进行了同等股份的质押。7月31日,山子高科公告表示,叶骥又将其持有的1000万股股份质押给中财招商投资集团商业保理有限公司,以满足自身资金需求。
值得一提的是,山子高科此前承诺公司方面出资10亿元的回购并未完全履行,仅回购483.33万股,耗资1101.48万元,距离承诺回购的下限6亿元差距极大。
对此,山子高科给出的解释是,此前因为股价处在1.6元/股承诺回购价格以上,导致公司无法顺利回购。此后,因为资产处置及融资进度慢于预期,导致实际回购股票金额未达回购股票金额下限。
虽然最终未回购完成,但在公司承诺巨额回购的背景下,山子高科股价连续大涨,Choice数据显示,公司近一年涨幅高达279.41%。
清退地产造车梦仍未圆
业绩不振负债压顶
公开资料显示,山子高科成立于1998年,前身是宁波昔日的房地产领军企业银亿股份,曾由宁波首富熊续强控股。2011年,公司借壳登陆深交所,与康强电子(002119.SZ)、河化股份(000953.SZ),组成“银亿系”资本版图。
然而,随着房地产行业逐渐式微,2018年,银亿股份债券违约,“银亿系”陷入债务危局。为了化解债务危机,2020年,银亿股份向法院申请重整,叶骥在此时通过梓禾瑾芯以32亿元接盘。
值得一提的是,梓禾瑾芯成立于2020年8月,签订协议时,其成立不足4个月。而根据银亿股份详式权益变动报告书,梓禾瑾芯的控股股东赤骥控股还存在借贷情形。
显然,这个神秘的宁波商人想要以一己之力“独吞”银亿股份有些捉襟见肘,但记者注意到,彼时发布的公告中,叶骥任宁波产城集团董事长,在宁波产城的股东中,出现了“复星系”上海星景股权投资管理有限公司的身影,此外,在签订重整投资人协议后,梓禾瑾芯新增了海尔金控、吉利科技集团、李书福等股东。
多方资本支持下,叶骥最终在2022年2月正式成为了银亿股份的实控人,并于次年,将银亿股份更名为山子高科技股份有限公司,简称“山子高科”。公司三股东是海尔集团旗下的青岛海丽汇银,四股东为吉利科技集团。
自掌舵以来,叶骥一直在试图挽救山子高科,却依旧未能将公司拖出泥潭。
2022年的年报中,公司称,未来将聚焦新能源、半导体产业链,深化高端制造布局,拥抱数字化变革,实现向高新技术企业的全面转型。
转型第一步是出清房地产业务。2023年7月、10月,山子高科先后发布两则拟退出房地产业务的公告,奈何始终没有寻得愿意接盘的买家。直至2024年6月,公司通过公开挂牌方式,以约6亿元的价格剥离房地产业务,正式退出房地产行业,目前,公司的主营业务主要包括高端零部件制造和整车制造。
在不断亏损的房地产业务的拖累下,山子高科始终处于亏损状态。2022年、2023年、2024年,公司实现营收37.38亿元、53.36亿元、49.70亿元,归母净利润分别亏损9.69亿元、20.57亿元、17.33亿元。
有吉利做后盾,在出清房地产业务后,叶骥大力进军汽车产业。
2022年3月,山子高科以4亿元参与知豆汽车重整,紧接着又出资2.6亿元收购小灵狗出行的部分股权,上述两家公司均为吉利系投资企业。不过,收购小灵狗出行部分股权在次月终止。此外,山子高科的子公司南京邦奇是吉利汽车的CVT变速器长期供应商,与吉利在车辆回收拆解及资源循环利用等业务领域均有合作。
2023年5月,山子高科通过收购邢台龙冈投资发展有限公司获得了造车资质,邢台龙冈的主要资产为河北红星汽车。2024年7月,山子高科首款量产车型云枫汽车ks01正式下线。
2024年7月28日,叶骥在《致全体股东的一封信:坚持做难而正确的事》中表示:“云枫的整车已于7月2日实现量产下线,本月已累计下线整车超千台,在手订单达数千台,鉴于目标市场的需求旺盛,今年预计将实现超2万台的销量。”
不过,据公司公告,2024年度,云枫汽车实现营收5.13亿元,净亏损7571.08万元。2025年第一季度,云枫汽车营收为1.27亿元,净利润继续亏损3080.3万元。截至2025年3月31日,云枫汽车的总资产13.59亿元,总负债为14.41亿元,净资产为-8156.71万元。
从“地产巨头”到“造车新兵”,山子高科转型的同时,还面临较大的债务压力。2024年度股东大会资料显示,山子高科为云枫汽车新增担保40亿元,用于日常经营及补充流动资金。截至2025年6月末,公司短期借款10.8亿元,一年内到期的非流动负债近22亿,而账面货币资金仅3.28亿元。
因此,今年5月17日,山子高科发布公告称,经公司全体过半数董事同意,将出售云枫汽车80%的股权给哈尔滨市云开汽车零部件有限公司,交易对价为2460万元。
将造车业务“瘦身”,并不意味着山子高科放弃了造车。山子高科称,计划将资金和资源进行集中,继续利用现有资质,高效和低成本推进新车型的研发。今年7月,山子高科与天猫在杭州签署战略合作协议,首个合作项目V17定制车型已进入样车测试阶段。
此外,近日,山子高科还传出重整哪吒汽车的消息。据《九派新闻》报道,山子高科称公司已经参与到哪吒汽车母公司合众新能源破产重整事宜中。但合众新能源管理人于9月17日回应《每日经济新闻》称此为假消息,山子高科并没有重组哪吒汽车,管理人未收到其任何实质性参与意向材料。随后,山子高科相关工作人员称,公司仅是意向投资人之一,是否能成为重组企业,需以官方消息为准。
尽管传闻并未落定,但仍给市场打了一针“兴奋剂”。9月以来,山子高科股价持续拉升,涨幅达93.61%。截至9月23日,公司收报4.24元/股,总市值为423.89亿元。