数据显示,呼吸系统化药(含生物药)在2023年前三季度重点省份实体药店销售规模近80亿元,同比增长18.38%。
01
4个呼吸系统化药同日获批
江苏药企拿下国产第2家

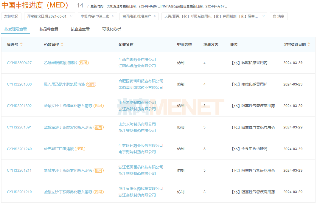
4月3日,国家药监局官网显示,4个呼吸系统化药(7个受理号)同日获批。其中,江苏联环药业的依巴斯汀口服溶液以仿制3类报产获批,成为该产品第2家国产企业。依巴斯汀口服溶液用于伴有或不伴有过敏性结膜炎的过敏性鼻炎(季节性和常年性),慢性特发性荨麻疹的对症治疗。目前该产品有广西维威制药、山西同达药业等6家企业报产在审。
今年3月至今呼吸系统化药(含生物药)获批情况


今年以来,呼吸系统化药(含生物药)已有20个品种(43个受理号)获批上市。其中,阻塞性气管疾病用药有9个品种(16个受理号),咳嗽和感冒用药有6个品种(18个受理号),全身用抗组胺药有5个品种(9个受理号)。
此外,48个品种(108个受理号)报产在审。吸入用丙酸倍氯米松混悬液、乙酰半胱氨酸口服溶液、比拉斯汀片等暂无仿制药企业获批,盐酸氨溴索(冻干)口崩片为2.2类改良型新药。
02
产品TOP20出炉
8亿感冒药领跑,氯雷他定片晋身前三
2023年Q1-Q3重点省份实体药店呼吸系统化药(含生物药)季度销售情况(单位:亿元)
数据显示,呼吸系统化药(含生物药)在2023年前三季度重点省份实体药店销售规模近80亿元,同比增长18.38%,是TOP5治疗大类。从集团TOP20格局来看,阿斯利康、葵花药业、吴太医药位居前三。
从亚类来看,咳嗽和感冒用药、阻塞性气管疾病用药、全身用抗组胺药是主力,合计市场份额近90%。从处方性质来看,OTC市场规模最大,双跨则增速最快。从剂型来看,片剂、气雾剂/喷雾剂与粉雾剂、散剂/颗粒剂、胶囊剂、溶液剂是五大主力剂型。
2023年Q1-Q3重点省份实体药店呼吸系统化药(含生物药)产品TOP20(单位:亿元)

注:不足1亿元以*表示
产品TOP20中,19个销售额超过1亿元,小儿氨酚黄那敏颗粒以8亿元稳居“销冠”宝座,氯雷他定片晋身前三,是唯一一个上榜的全身用抗组胺药。从亚类来看,咳嗽和感冒用药最多,有9个,其次是阻塞性气管疾病用药有7个。
5个独家产品,布地奈德福莫特罗吸入粉雾剂(Ⅱ)(阿斯利康)、丙酸氟替卡松鼻喷雾剂和沙美特罗替卡松吸入粉雾剂(葛兰素史克)、桉柠蒎肠溶胶囊(远大健康)、注射用奥马珠单抗(诺华)。其中,桉柠蒎肠溶胶囊(远大健康)和注射用奥马珠单抗(诺华)均是新上榜独家产品。
03
13个品牌增速亮眼
吴太感康、葵花、华润三九上榜
2023年Q1-Q3重点省份实体药店呼吸系统化药(含生物药)品牌TOP20(单位:亿元)

注:不足1亿元以*表示
品牌TOP20中,17个销售额超过1亿元,吉林省吴太感康药业的复方氨酚烷胺片、阿斯利康的布地奈德福莫特罗吸入粉雾剂(Ⅱ)、浙江亚峰药厂的复方氨酚烷胺胶囊位居前三,万全万特制药(厦门)的氯雷他定片、北京远大九和药业的桉柠蒎肠溶胶囊、欧加农制药的糠酸莫米松鼻喷雾剂、诺华的注射用奥马珠单抗4个是新上榜品牌。从数量来看,葵花药业最多,有4个上榜。
从增速来看,13个品牌有双位数增速,诺华的注射用奥马珠单抗最快,超过90%;浙江亚峰药厂的复方氨酚烷胺胶囊、葵花药业重庆小葵花儿童制药的小儿氨酚黄那敏颗粒、韩美的氨溴特罗口服溶液增速均超过50%。
2023年Q1-Q3重点省份实体药店小儿氨酚黄那敏颗粒TOP3品牌格局
小儿氨酚黄那敏颗粒为复方制剂,用于缓解儿童普通感冒及流行性感冒引起的发热、头痛、打喷嚏、流鼻涕、咽痛等症状,目前有264家企业拥有生产批文。小儿氨酚黄那敏颗粒在2023年前三季度重点省份实体药店销售规模超过8亿元,同比增长12.41%,葵花药业(襄阳)隆中、华润三九(黄石)药业、葵花药业(衡水)得菲尔的市场份额位居前三,合计占比近50%。
2023年Q1-Q3重点省份实体药店氯雷他定片TOP3品牌格局
氯雷他定片用于缓解过敏性鼻炎有关的症状,如喷嚏、流涕、鼻痒、鼻塞以及眼部痒及烧灼感,目前有35家企业拥有生产批文。氯雷他定片在2023年前三季度重点省份实体药店销售额超过6亿元,凭借18.43%的增速晋身TOP2产品。西安杨森、万全万特制药(厦门)、拜耳市场份额位居前三,均有双位数增速,合计市场份额占比超过60%。