一彬科技(001278)发布公告,本次发行价格为17.00元/股。投资者在2023年2月21日(T日)进行网上和网下申购时无需缴付申购资金。本次网下发行申购日与网上申购日同为2023年2月21日(T日),其中,网下申购时间为9:30-15:00,网上申购时间为9:15-11:30,13:00-15:00。
一彬科技主要产品包括汽车塑料件及金属件,广泛应用于副仪表盘系统、空气循环系统、发动机舱内装件系统、立柱护板系统、座椅系统、车内照明系统、门内护板系统、外饰件系统,并逐步开发新能源汽车专用零部件,是一家专业从事汽车零部件的设计、开发、生产和销售的高新技术企业。
从一彬科技披露的信息看,其资产减值大量吞噬利润。根据招股书,今年一季度,其预计业绩将出现下滑。此外,一彬科技被起诉事项颇多。
资产减值吞噬利润
报告期各期末,一彬科技资产减值准备余额分别为3,848.49万元、3,556.61万元、3,883.83万元和4,597.36万元,主要系应收账款、应收票据、其他应收款所计提的坏账准备和存货跌价准备,其构成情况如下:
同期,一彬科技的归母净利润也不过分别为5,677.84万元、8,781.11万元、9,811.86万元、4899.02万元。
可以看出,资产减值吞噬了公司大量利润,而且一旦遇到行业或者经济较为艰难的年份,有可能利润一下就被吞噬掉。
一彬科技的资产减值构成主要是应收账款和存货跌价准备。
报告期各期末,公司应收账款账面余额分别为29,211.18万元、29,513.80万元、31,896.69万元和33,829.08万元,占营业收入的比例分别为22.36%、22.36%、22.36%和20.34%,金额较大、占比较高。公司坦言,如在未来经营中,宏观经济环境发生剧烈变化,下游车企回款有所放缓,则公司应收账款将可能有所增长,从而给公司带来一定的资金压力。
报告期各期末,公司存货账面价值分别为35,219.78万元、32,717.20万元、45,107.05万元和45,146.59万元,占流动资产的比例分别为35.78%、30.02%、36.54%和33.74%。公司存货主要由原材料、在产品、库存商品、发出商品、委托加工物资和模具构成,一彬科技表示,虽然公司目前主要采取“以销定产、以产定购”的库存管理模式,严格制定和执行采购和生产计划,但若客户的生产经营发生重大不利变化,可能导致公司存货的可变现净值降低,进而带来存货减值的风险。
今年一季度业绩将倒退
结合公司的实际经营情况,经管理层初步测算,公司2023年1-3月的业绩预计情况具体如下:
根据公司管理层预计,2023年1-3月营业收入为42,000-47,000万元,预计同比变动4.20%至16.61%;归母净利润为1,400.00-1,700.00万元,预计同比下滑33.33%至19.04%;扣非后归属于母公司股东净利润为1,500.00-1,800.00万元,预计同比下滑21.26%至5.51%。
公司预计2023年1-3月的扣非归母净利润下降主要原因系受新冠疫情管控政策调整及春节假期的影响,2023年1-2月收入同比发生下降,同时随着模具及固定资产的投入,导致产销量不及预期时单位固定成本明显增加,使2023年1-2月毛利率相对较低。
被起诉事项多
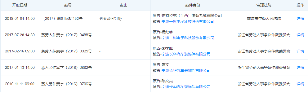
一彬科技近几年存在较多诉讼记录。
从公司的被起诉开庭公告信息看,以合同纠纷、计算机软件著作权纠纷以及劳动纠纷为主。




2012至2013年,一彬科技向格特拉克提供换挡板总成等多种变速箱零部件,格特拉克公司将上述换挡板用于变速箱的生产,供应福特汽车公司在南美、南非和泰国的工厂。由于换挡板存在质量瑕疵,使得变速箱无法正常使用,给格特拉克公司造成经济损失,双方因上述产品质量问题产生买卖合同纠纷。2018年3月19日,江西省南昌市中级人民法院开庭审理,于2019年3月29日下达(2017)赣01民初152号《民事判决书》,判决公司向原告格特拉克(江西)传动系统有限公司支付经济损失人民币2,995.63万元。
2019年4月23日,一彬科技向江西省高级人民法院重新提起上诉并提交了相关资料。2019年7月22日,江西省高级人民法院下达(2019)赣民终344号《民事判决书》,终审判决公司需赔偿格特拉克(江西)传动系统有限公司损失人民币1,358.47万元。因本次判决与原始判决结果产生差异,且该时点已超过2018年资产负债表日后调整事项范围,故公司于2019年将2018年因诉讼产生的预计负债转回,确认1,434.08万元营业外收入。
除此之外,一彬科技的劳动纠纷数量颇多。张凤英、张苏女、陈莲菊、杨纪峰、朱孝峰、盛文、陈亮亮、王帅滨、陈栋、刘建会、蒋祥华等11人先后将公司(或公司前身)告上浙江省劳动人事争议仲裁委员会。其中,与张凤英的纠纷还是在报告期内发生。
另外,一彬科技投资的宁波翼宇汽车零部件有限公司被起诉的开庭公告有多条,其中有8条是涉及到劳动纠纷的。