chaguwang.cn-查股网.中国
查股网.CN
通达创智(001368)内幕信息消息披露
 
个股最新内幕信息查询:    
 

龙虎榜丨通达创智今日涨停,上榜营业部席位合计净买入3697.92万元

http://www.chaguwang.cn  2023-04-04  通达创智内幕信息

来源 :界面新闻2023-04-04

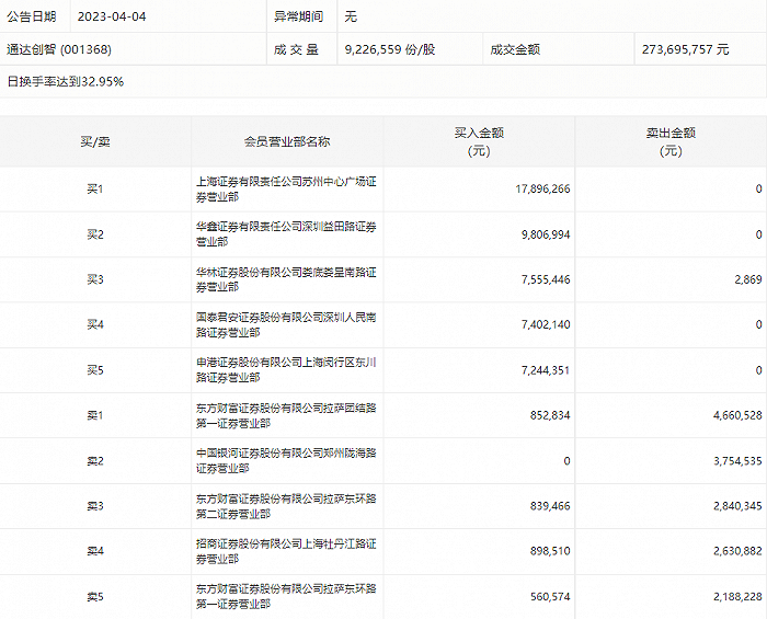
  4月4日,通达创智今日涨停,龙虎榜数据显示,上榜营业部席位全天成交6913.4万元,占当日总成交金额比例为25.26%。其中,买入金额为5305.66万元,卖出金额为1607.74万元,合计净买入3697.92万元。

  具体来看,上海证券苏州中心广场证券营业部、华鑫证券深圳益田路证券营业部分别买入1789.63万元、980.70万元;东方财富证券拉萨团结路第一证券营业部、中国银河证券郑州陇海路证券营业部分别卖出466.05万元、375.45万元。

  

有问题请联系 767871486@qq.com 商务合作广告联系 QQ:767871486
www.chaguwang.cn 查股网