chaguwang.cn-查股网.中国
查股网.CN
翔腾新材(001373)内幕信息消息披露
 
个股最新内幕信息查询:    
 

龙虎榜丨翔腾新材今日跌停,财通证券杭州上塘路证券营业部卖出2035.4万元

http://www.chaguwang.cn  2023-07-21  翔腾新材内幕信息

来源 :界面新闻2023-07-21

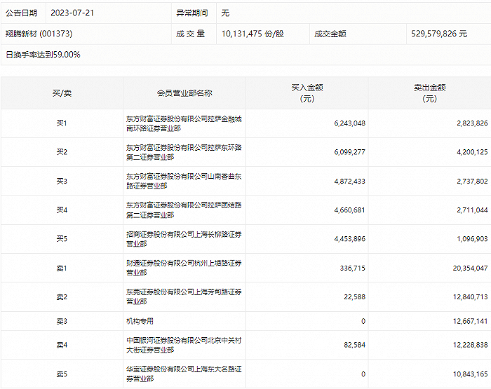
  7月21日,翔腾新材今日跌停,龙虎榜数据显示,上榜营业部席位全天成交1.09亿元,占当日总成交金额比例为20.63%。其中,买入金额为2677.12万元,卖出金额为8250.36万元,合计净卖出5573.24万元。

  具体来看,机构合计净卖出1266.71万元。此外,财通证券杭州上塘路证券营业部、东莞证券上海芳甸路证券营业部分别卖出2035.40万元、1284.07万元;东方财富证券拉萨金融城南环路证券营业部、东方财富证券拉萨东环路第二证券营业部分别买入624.30万元、609.93万元。

  

有问题请联系 767871486@qq.com 商务合作广告联系 QQ:767871486
www.chaguwang.cn 查股网