亿帆医药(002019)8月15日披露2024年半年度报告。2024年上半年,公司实现营业收入26.32亿元,同比增长35.39%;归母净利润2.53亿元,同比增长133.04%;扣非净利润1.79亿元,同比增长90.48%;经营活动产生的现金流量净额为1.44亿元,同比下降6.3%;报告期内,亿帆医药基本每股收益为0.21元,加权平均净资产收益率为2.96%。公司2024年半年度分配预案为:拟向全体股东每10股派现1元(含税)。
公告称,公司营业收入变化主要由于公司自研及引进医药品种陆续获批上市、医药自有存量产品(含进口)销售额大幅增加。
以8月14日收盘价计算,亿帆医药目前市盈率(TTM)约为-36.46倍,市净率(LF)约为1.74倍,市销率(TTM)约为3.12倍。
公司近年市盈率(TTM)、市净率(LF)、市销率(TTM)历史分位图如下所示:


根据半年报,公司第二季度实现营业总收入13.06亿元,同比增长29.90%,环比下降1.50%;归母净利润1.07亿元,同比增长144.10%,环比下降26.67%;扣非净利润6909.99万元,同比增长101.95%,环比下降37.36%。
半年报称,公司主要从事医药产品、原料药和高分子材料的研发、生产、销售及药品推广服务。
分产品来看,2024年上半年公司主营业务中,医药自有产品(含进口)收入18.56亿元,同比增长76.58%,占营业收入的70.52%;原料药收入3.76亿元,同比下降9.62%,占营业收入的14.28%;高分子材料收入0.89亿元,同比增长9.54%,占营业收入的3.38%。
2024年上半年,公司毛利率为47.77%,同比下降2.69个百分点;净利率为8.07%,较上年同期上升3.71个百分点。从单季度指标来看,2024年第二季度公司毛利率为48.17%,同比下降3.86个百分点,环比上升0.80个百分点;净利率为7.27%,较上年同期上升3.22个百分点,较上一季度下降1.60个百分点。
分产品看,医药自有产品(含进口)、原料药2024年上半年毛利率分别为53.34%、44.13%。
数据显示,2024年上半年公司加权平均净资产收益率为2.96%,较上年同期增长1.76个百分点;公司2024年上半年投入资本回报率为2.24%,较上年同期增长1.27个百分点。
2024年上半年,公司经营活动现金流净额为1.44亿元,同比下降6.30%;筹资活动现金流净额2.08亿元,同比增加3.01亿元;投资活动现金流净额-1.95亿元,上年同期为2372.86万元。
进一步统计发现,2024年上半年公司自由现金流为-6513.17万元,上年同期为-18490.34万元。
2024年上半年,公司营业收入现金比为96.10%,净现比为56.78%。
营运能力方面,2024年上半年,公司公司总资产周转率为0.22次,上年同期为0.15次(2023年上半年行业平均值为0.21次,公司位居同行业79/113);固定资产周转率为1.96次,上年同期为1.44次(2023年上半年行业平均值为1.22次,公司位居同行业42/113);公司应收账款周转率、存货周转率分别为2.06次、1.37次。
2024年上半年,公司期间费用为9.59亿元,较上年同期增加1.47亿元;但期间费用率为36.43%,较上年同期下降5.32个百分点。其中,销售费用同比增长25.72%,管理费用同比下降1.74%,研发费用同比增长4.62%,财务费用同比增长82.61%。
资料显示,财务费用的变动主要因为报告期汇兑收益同比减少。
资产重大变化方面,截至2024年上半年末,公司应收账款较上年末增加29.62%,占公司总资产比重上升2.20个百分点;在建工程较上年末增加57.06%,占公司总资产比重上升1.33个百分点;无形资产较上年末减少1.94%,占公司总资产比重下降1.03个百分点;固定资产较上年末减少3.55%,占公司总资产比重下降1.03个百分点。
负债重大变化方面,截至2024年上半年末,公司一年内到期的非流动负债较上年末增加87.04%,占公司总资产比重上升3.41个百分点;应付账款较上年末增加36.33%,占公司总资产比重上升1.10个百分点,主要系报告期期末应付供应商进口材料及货物采购款增加,以及未达付款条件的设备采购及基建工程款较年初增加;长期借款较上年末减少16.92%,占公司总资产比重下降1.50个百分点;其他应付款(含利息和股利)较上年末增加39.90%,占公司总资产比重上升0.83个百分点。
从存货变动来看,截至2024年上半年末,公司存货账面价值为10.79亿元,占净资产的12.67%,较上年末增加1.5亿元。其中,存货跌价准备为2866.88万元,计提比例为2.59%。
2024年上半年,亿帆医药的商誉达到27.37亿元,相当于同期公司净资产85.13亿元的32.16%。
在偿债能力方面,公司2024年上半年末资产负债率为30.43%,相比上年末上升2.21个百分点;有息资产负债率为17.72%,相比上年末上升1.08个百分点。
2024年上半年,公司流动比率为1.38,速动比率为0.99。
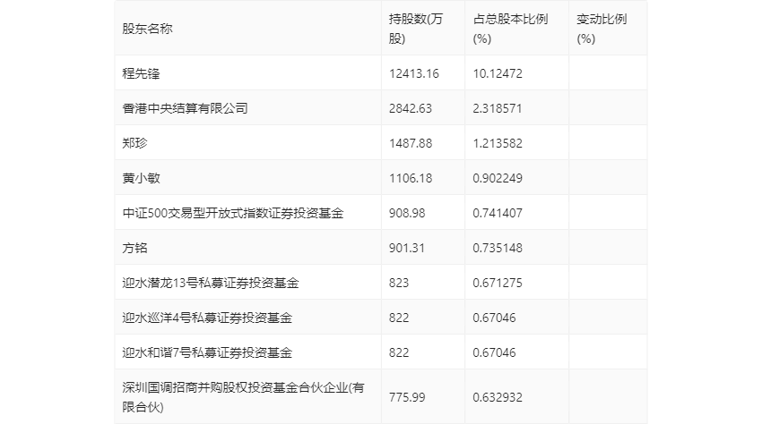
半年报显示,2024年上半年末公司十大流通股东中,持股最多的为程先锋,占比10.12%。十大流通股东名单相比2024年一季报维持不变。在具体持股比例上,郑珍、中证500交易型开放式指数证券投资基金持股有所上升,香港中央结算有限公司持股有所下降。
筹码集中度方面,截至2024年上半年末,公司股东总户数为3.91万户,较一季度末下降了1569户,降幅3.86%;户均持股市值由一季度末的33.39万元上升至38.74万元,增幅为16.02%。
指标注解:
市盈率
=总市值/净利润。当公司亏损时市盈率为负,此时用市盈率估值没有实际意义,往往用市净率或市销率做参考。
市净率
=总市值/净资产。市净率估值法多用于盈利波动较大而净资产相对稳定的公司。
市销率
=总市值/营业收入。市销率估值法通常用于亏损或微利的成长型公司。
文中市盈率和市销率采用TTM方式,即以截至最近一期财报(含预报)12个月的数据计算。市净率采用LF方式,即以最近一期财报数据计算。
市盈率为负时,不显示当期分位数,会导致折线图中断。