来源 :今日头条2021-08-17
8月17日,因公司拟作价1.42亿元出让的三灶科技工业园存在被查封冻结的情况等事项,深交所向贤丰控股(002141.SZ)发布关注函,要求贤丰控股就关注函所述问题做出书面说明,在2021年8月23日前将有关说明材料报送深交所并对外披露,同时抄送派出机构。
来源:深交所官网
深交所关注函称,2021年8月14日,贤丰控股披露《关于转让土地使用权及地上附着建筑物所有权的公告》,公司拟作价1.42亿元向晨熙实业投资(珠海横琴)有限公司转让位于珠海市金湾区三灶科技工业园的土地使用权及其地上附着建筑物(下称“标的资产”),标的资产存在被查封冻结的情况,目前由公司控股子公司珠海蓉胜超微线材有限公司承租。标的资产转让定价为1.42亿元,本次交易预计产生4,396.83万元的资产转让收益,转让后晨熙投资将保证珠海蓉胜不低于五年的租赁权。
深交所要求贤丰控股说明标的资产评估的具体情况,包括评估增值情况、评估参数等,并结合可比地段近期成交价、估值情况,说明评估结果的公允性;本次转让收益的具体计算过程、确认依据、会计处理,是否符合《企业会计准则》的相关规定;标的资产是否为珠海蓉胜主要的生产经营场所,如是,请说明本次资产转让是否可能对珠海蓉胜的生产经营产生不利影响及其应对措施;转让后珠海蓉胜承租标的资产的租赁费用及其公允性、后续支付安排,是否可能导致珠海蓉胜生产经营成本大幅上升。
深交所关注函称,因贤丰控股为下属公司与汇信融资租赁(深圳)有限公司之间的融资租赁、售后回租交易提供连带担保责任,导致标的资产被查封冻结,要求公司说明标的资产被查封冻结的具体情况、后续解除安排,并进行相关风险提示。
贤丰控股信披考评连续5年为C
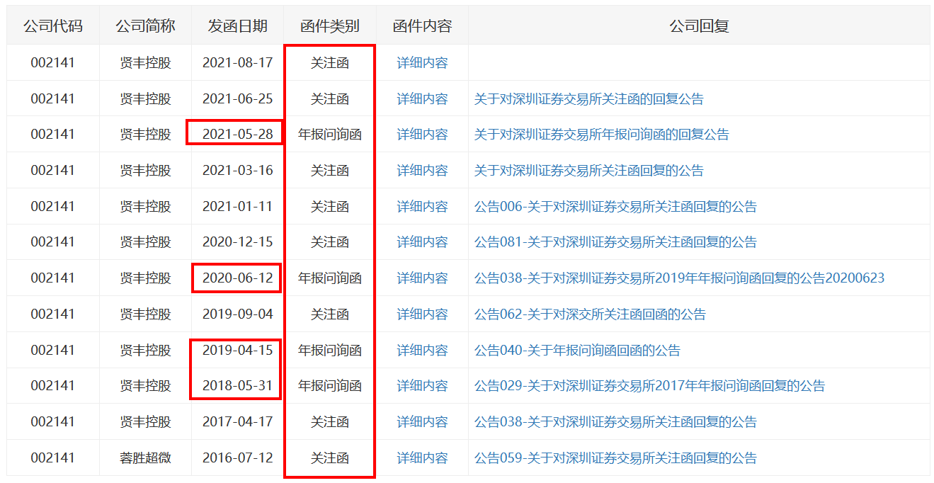
据投研电讯信披质量研究院统计,自2007年11月1日在深交所主板上市,贤丰控股在深交所14次年度信息披露考评中7次为B(或良好),7次为C(或合格)。投研电讯注意到,贤丰控股在2016年度信息披露考评中由B下降为C后,连续5年信披考评为C。
来源:深交所官网
根据深圳证券交易所上市公司信息披露工作考核办法(2020年修订),上市公司在考核期内存在下列情形之一的,其信息披露工作考核结果评为C,包括(一)年度财务报告或半年度财务报告被注册会计师出具保留意见审计报告,或仅因公司持续经营能力存在重大不确定性而被出具无法表示意见审计报告;(二)公司披露的年度内部控制自我评价报告或会计师事务所出具的内部控制审计报告显示,最近一个会计年度内部控制存在重大缺陷;(三)董事会秘书空缺(包括指定董事或高级管理人员代行董事会秘书职责以及由董事长代行董事会秘书职责等情形)累计时间超过六个月;(四)本所认定的其他情形。
贤丰控股年报连续4年被深交所问询 3次收到深交所监管函
投研电讯信披质量研究员发现,2016年7月12日至2021年8月17日,贤丰控股累计收到深交所12份问询函件,包括8份关注函,4份年报问询函。值得注意的是,公司连续4年均收到深交所年报问询函。
来源:深交所官网
此外,2019年3月29日至2021年3月24日,贤丰控股、持股5%以上的股东、控股股东、实控人共计3次收到深交所监管函。2021年3月24日,因关联方信息披露不准确、未及时披露担保进展信息、结构化主体相关信息披露存在遗漏等违规行为,深交所向贤丰控股出具监管函。
来源:深交所官网
2021年1月贤丰控股及责任人因信披违规等被证监局出具警示函
投研电讯信披质量研究员注意到,因未及时披露并购基金投资的进展情况、未及时披露政府补助事项、未及时披露大股东股份质押信息、关联方信息披露不准确、未及时披露担保信息、结构化主体相关信息披露存在遗漏等信息披露方面违规行为和应收票据核算不准确、未对联营公司的长期股权投资进行减值测试等财务核算方面违规行为,2021年1月6日,广东证监局决定对贤丰控股、陈文才、韩桃子、卢敏、谢文彬采取出具警示函的行政监管措施。
来源:证监局官网
因未将股份被质押信息告知上市公司并披露,未及时将股份被司法冻结信息告知上市公司并披露等违规行为,2021年1月6日,广东证监局决定对贤丰集团、贤丰控股的控股股东和一致行动人贤丰有限采取出具警示函的行政监管措施。
来源:证监局官网
投研电讯资料显示,贤丰控股的主营业务为漆包线、生物疫苗,占营收比例为95.99%、3.73%。截至2021年8月16日,贤丰控股总市值54.35亿元,在金属制品行业81家上市公司中排名32位。