宁波银行的“风语”智能数据分析管理平台以数据资产管理为导向,以内部管理系统为抓手,打造“BI+AI+KG”互通互联的全行性一站式分析管理平台。
平台包括两个部分:一是智能化数据分析挖掘,支持业务人员快捷分析建模,解决“业务不懂科技,科技不懂业务”的行业痛点;二是线上化过程管理,实现解决“业务流程缺乏闭环管理”的经营难点。
平台创新点在于首次实现商业智能、人工智能、知识图谱三大平台及数据互通,将数据解释、AI算法插件化等功能产品化落地,并通过精细化权限管控及数据脱敏保障信息安全。形成“线下流程线上化、人员管理数字化、机构评价智能化”的全新管理体系,助力银行前中后台真正实现数字化经营。

创新技术/模式应用
一、智能化的数据分析挖掘
“风语”平台通过算法场景化,帮助业务人员以低门槛创建人工智能模型,提升经营分析和管理的智能化水平,具体抽象为四大类:归因(即数据解释),探寻数据异动原因;分类(算法插件产品化),客群分层分类;预测(时序预测),预测业务发展趋势;关联(知识图谱联动BI),寻找与特定客户存在关联的客群。

一是归因(数据解释),针对传统模式下“业务对报表关键指标波动解读和分析,需要进行复杂查询、对比、制作报告”的痛点,基于博弈论里中经典的Shapley Value理论,从指定业务宽表中各维度出发,对客户客群批量特征进行算法分析,自动搜寻对业务关心指标影响最大的维度组合,快速实现对关键指标波动的解释说明。
以业务资产质量监测场景为例,当某分行逾期率出现骤升时,平台调用数据解释模型,从该分行业务结构、客群特征、与历史时点的纵向对比、与兄弟分行间的横向对比等维度开展自动分析,定位导致逾期率波动的关键因素(如,进件渠道、特定产品异动),同时归纳梳理各类客群画像,反哺业务策略。

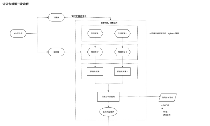
二是分类(算法插件产品化),针对传统业务分析需借助科技开发及第三方参与,经历“业务需求撰写、双方沟通对齐、科技建模反馈”的漫长步骤才能应用算法模型的痛点,“风语”平台实现了算法插件产品化。
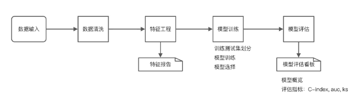
以评分卡插件化为例,摆脱传统建立评分卡复杂的代码设计,让业务通过拖拉拽完成自主建模,产品化后的建模简化为四步:一键数据集替换→“人工+机器学习”特征选择→不同算法模型效果自动对比选择→模型评价指标可视化展示。
便捷构建的评价可协助业务人员在业务营销前做好客群分析,精准营销。通过模型高效快速反馈潜在优质客户,提升营销成功率,提高客户满意度。

三是预测(时序预测),基于COX(比例风险模型)作为主要算法,“风语”平台设计并独创了特色化时序预测模型在金融场景的应用。
以风控场景为例,时序预测可以对风险化解手段进行成效分析,助于挖掘深层次、隐藏的风险指标。适用场景主要覆盖三类:一是预测风险程度及利润损失,二是对风险化解手段进行成效分析,三是挖掘更深层次、更隐蔽的监测指标。

四是关联(知识图谱联动BI),“风语”平台开创性地实现了BI与知识图谱之间的联动,打通了知识图谱与BI的数据和技术壁垒。业务人员可以在“风语”平台一键处理图数据、加工图算法、查询客户关联信息。同时,图谱支持联动下钻分析,极大地降低了业务使用门槛,提升了数据挖掘的解释性、说服力。
例如,对于已知的行内客户,银行可通过流水、票据、股权关系、外部诉讼等数据,找到公司、个人客户之间的潜在关联关系。前台可用于拓展关联营销,中后台可用于防控风险传导。

二、线上化的业务生态闭环
为更好地推进银行数字化转型,“风语”平台创造性地构建了以智能监测分析为触点,以模型库管理为抓手,以数据安全管控为核心,形成数据分析线上管理的闭环,提升了管理效率、任务处理效率、机构工作质量。
一是智能监测分析,“风语”平台数据异动触发预警后,自动发布分析排查任务。与以往的线下报送的监测月报相比,使用“风语”平台后,一方面,提高任务触发的精准率,减少分行工作量,提高分析效率;另一方面,实现过程管理线上化,便于后续的信息统计和原因分析。
二是模型库管理,将优秀监测分析模型纳入全生命周期管理,涵盖新增立项申请、开发计划填报、验收报告提交、操作手册撰写、上线计划审批、优化意见填报等环节,大幅提升了模型开发质量和效率,实现了项目开发的规范化管理。
三是数据安全管控,基于用户、角色的差异化模板配置,通过精细化权限管控和数据脱敏,满足科技数据开发、业务人员、分支行管理层、总行管理层不同人员的看数、用数需求,保障数据安全。
项目效果评估
“风语”平台上线以来(2020.1-2022.4),经不断应用与优化,已成为宁波银行数字化的重要抓手,实现了人工智能下的业务模式创新,构建了大数据智能化下的风险业务生态闭环。
性能架构方面,“风语”平台支持全行各条线超千人使用;数据安全方案,支持敏感数据自动脱敏及精细化权限管控;监测场景方面,支持行内外数据资产灵活合规使用、支持“BI(商业智能)+AI(人工智能)+KG(知识图谱)”互相融合;在应用效能方面,支持移动轻应用(手机、PC、PAD端)。
当前“风语”平台对接全行信贷、核心、信用卡、人力等20余个系统,整合了客户、业务、流水、征信、担保、票据等9大数据主题,形成了3万余张数据分析表,构建了400余个监测分析模型,实现了全行级别的数据资产管理及融通体系。