来源 :经济参考网2023-06-26
继今年3月5633.99万股正威新材(002201.SZ)股份被冻结后,正威新材控股股东深圳翼威新材料有限公司(简称“翼威新材”)所持1145.39万股公司股份又被冻结。至此,翼威新材持有的正威新材股份被冻结数量占其持股总数量的比例增至73%。正威新材近日发布的公告显示,此次1145.39万股股份被山东省青岛市中级人民法院冻结,占其所持股份的8.99%,冻结的起始日期为2023年6月19日,冻结的结束日期为2026年6月18日。

图1:正威新材股权结构图资料来源:公司2022年报
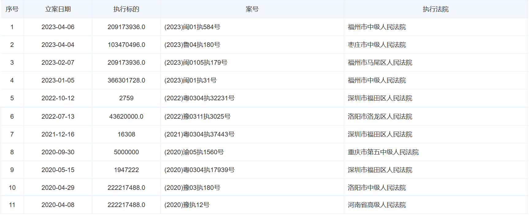
正威新材称上述股份被冻结的原因“不明”,且目前翼威新材不存在非经营性资金占用、违规担保等侵害上市公司利益的情形。但数据显示,深圳正威(集团)有限公司(简称“正威集团”)持有翼威新材100%股权,正威集团对外投资企业数量高达157家(含已注销企业),正威集团2022年曾是最高人民法院所示的失信公司,2020年4月至2023年4月,正威集团因未按时履行法律义务而被法院强制执行的立案数量共11起。

图2:正威集团因未按时履行法律义务而被法院强制执行情况(2020年—2023年)
公告显示,截至2023年6月21日,翼威新材共持有正威新材1.27亿股,其中累计被质押5960.62万股,占其所持股份的比例为46.79%,已质押股份限售和冻结数量为2521.01万股,占已质押股份比例为42.29%。截至2023年6月21日,翼威新材累计被冻结股份数量为9300.39万股,占其所持股份的比例为73%,占公司总股本的比例为14.27%。这意味着,翼威新材所持的1.27亿股正威新材股份中的大部分股份处于被冻结或质押状态。
正威新材称,公司已就此向翼威新材专函询问涉及本次股份解质押再质押和冻结的相关情况,并依照法定规则,请其就相关问题给予回复。此事对公司的生产经营等暂无较大影响,公司经营层将密切关注此事项的演变过程,积极与控股股东联系,力求全面、准确地了解相关情况,并及时披露相关信息。