chaguwang.cn-查股网.中国
查股网.CN
歌尔股份(002241)内幕信息消息披露
 
个股最新内幕信息查询:    
 

歌尔股份及其子公司被强执17万

http://www.chaguwang.cn  2025-02-07  歌尔股份内幕信息

来源 :亿欧网2025-02-07

  风险信息显示,近日,歌尔股份有限公司及其子公司北京歌尔泰克科技有限公司新增一条被执行人信息,执行标的17万余元,执行法院为北京市海淀区人民法院。

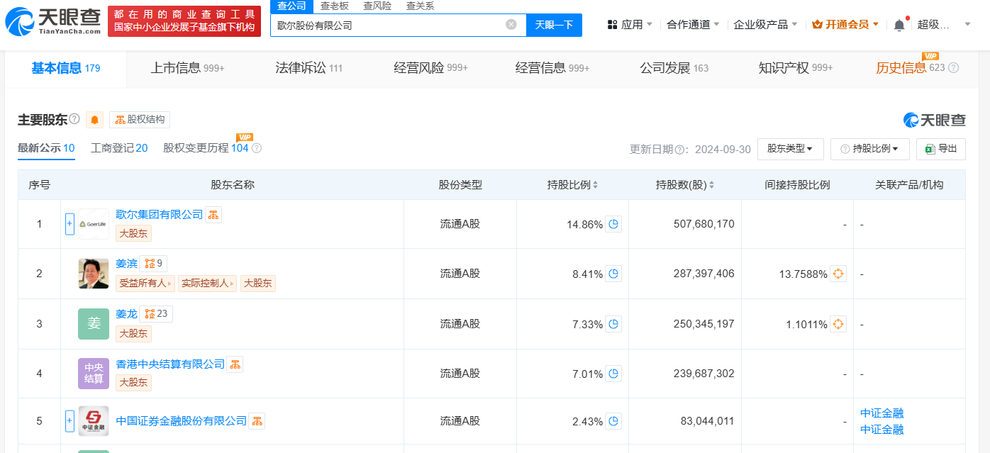
  歌尔股份有限公司成立于2001年6月,法定代表人为姜滨,注册资本约34.17亿人民币,经营范围包括电子元器件制造、电子元器件批发、模具制造等,由歌尔集团有限公司、姜滨、姜龙等共同持股。

  3917915574fe8451c1fc8906a580b78.png15f262dfa4124f2e86bd1eee9b09c68.png

查股网为非盈利性网站 本页为转载如有版权问题请联系 767871486@qq.comQQ:767871486
Copyright 2007-2025
www.chaguwang.cn 查股网