chaguwang.cn-查股网.中国
查股网.CN
美邦服饰(002269)内幕信息消息披露
 
个股最新内幕信息查询:    
 

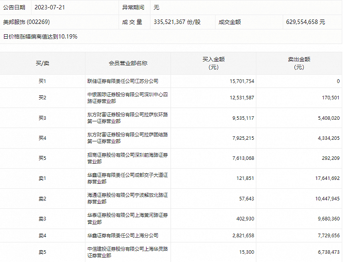
龙虎榜丨美邦服饰今日涨停,华鑫证券成都交子大道证券营业部卖出1764.17万元

http://www.chaguwang.cn  2023-07-21  美邦服饰内幕信息

来源 :界面新闻2023-07-21

  7月21日,美邦服饰今日涨停,龙虎榜数据显示,上榜营业部席位全天成交1.19亿元,占当日总成交金额比例为18.93%。其中,买入金额为5672.61万元,卖出金额为6244.31万元,合计净卖出571.69万元。

  具体来看,联储证券江苏分公司、中银国际证券深圳中心四路证券营业部分别买入1570.18万元、1253.16万元;华鑫证券成都交子大道证券营业部、海通证券宁波解放北路证券营业部分别卖出1764.17万元、1044.79万元。

  

有问题请联系 767871486@qq.com 商务合作广告联系 QQ:767871486
www.chaguwang.cn 查股网