chaguwang.cn-查股网.中国
查股网.CN
美邦服饰(002269)内幕信息消息披露
 
个股最新内幕信息查询:    
 

年报前夕高管接连离任,美邦服饰陷亏损、诉讼双重困局

http://www.chaguwang.cn  2025-12-01  美邦服饰内幕信息

来源 :鹰眼IPO观察2025-12-01

  11月30日, 美邦服饰 (002269.SZ)发布公告称,公司董事庄欢跃女士辞去董事及战略委员会委员职务,辞职后将不再担任公司任何职务。而就在一个月前的10月31日,公司财务总监 李莹 也已递交辞呈,卸任相关岗位。截至目前,财务总监这一关键职位暂由公司董事长、实际控制人周成建兼任。

  值得注意的是,当前正处于上市公司年度财务报表披露的关键前夕, 美邦服饰 核心管理岗位却接连出现人事变动,且两位离职高管的任职周期均相对较短:庄欢跃出生于1980年,2025年7月才出任公司非独立董事,此前曾担任公司METERS/BONWE品牌南区商品管理副总经理、商品管理部商品业务总经理等职,任职时长仅5个月左右; 李莹 出生于1984年,拥有杭州伊芙丽集团财务高级总监、海尔集团智慧家庭平台财务总监等履历,2024年1月加入 美邦服饰 担任财务总监,任职时长1年10个月,对比其上一任财务总监3年2个月的任职周期,明显偏短。核心高管在关键节点接连离职,是否暗藏未披露的经营隐情,引发市场关注。

  业绩持续下滑陷亏损泥潭,大额减值侵蚀净资产

  从财务数据来看, 美邦服饰 的经营状况已连续多年处于下滑通道。自2018年起,公司营收便开启大幅下滑模式,从当年的76.77亿元一路跌至2024年的6.81亿元,六年时间营收降幅超九成;利润端表现更为惨淡,2018年后公司累计亏损额已达30.72亿元。

  2025年前三季度,公司经营颓势仍未扭转,实现营收3.29亿元,同比减少37.31%;实现净利润0.69亿元,同比下降233.12%。不仅如此,公司还对2025年前三季度资产进行了大额计提减值准备,根据披露信息,本次拟计提的资产减值准备金额达2881万元,计提范围主要集中在应收账款与存货两大板块,分别计提2148万元、654万元。

  截至2025年三季度末, 美邦服饰 净资产为1.88亿元,而本次拟计提的减值准备金额已占到净资产的15.32%。现金流层面同样不容乐观,截至三季度末,公司经营活动产生的现金净流量为-1.53亿元,期末现金余额仅0.29亿元,当前日常经营所需现金流主要依赖借款及其他筹资方式支撑,资金链紧张问题凸显。

  实控人及关联方陷执行风波,公司涉多起诉讼

  美邦服饰 第一大股东为 上海华服投资有限公司 ,实际控制人为周成建。但 企查查 显示,目前 上海华服投资有限公司 及周成建本人均已被列为被执行人;与此同时,周成建控制的 美特斯邦威集团有限公司 也同样进入被执行人名单。

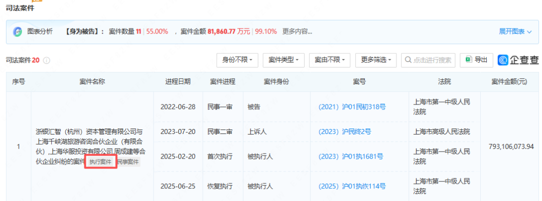
  具体诉讼事项上,2025年6月25日, 上海市第一中级人民法院 对浙银汇智(杭州)资本管理有限公司与 上海千峡湖旅游咨询合伙企业 (有限合伙)、 上海华服投资有限公司 、周成建等的合伙企业纠纷案件作出恢复执行决定,周成建等被告需执行的金额达7.97亿元。

  而 美邦服饰 自身也陷入多起诉讼纠纷。11月28日公司公告称,在与 上海鸿鼎投资管理有限公司 的租赁合同纠纷中,因认为原审判决在房屋占用使用费计算标准及免租期租金处理上存在事实认定不清、法律适用不当问题,公司已在一审判决后提起上诉,不过目前二审受理及开庭时间尚未明确,诉讼结果存在不确定性。

  公告同时提及,截至披露日, 美邦服饰 及控股子公司仍有13项未披露的中小额诉讼、仲裁事项,涉及金额合计1590万元。由于相关案件进展尚未明确,公司暂无法预计上述诉讼对本期或期后利润的具体影响,后续经营仍面临不确定性风险。

查股网为非盈利性网站 本页为转载如有版权问题请联系 767871486@qq.comQQ:767871486
Copyright 2007-2025
www.chaguwang.cn 查股网