chaguwang.cn-查股网.中国
查股网.CN
奥飞娱乐(002292)内幕信息消息披露
 
个股最新内幕信息查询:    
 

龙虎榜丨奥飞娱乐今日涨停,知名游资炒股养家净卖出5993.1万元

http://www.chaguwang.cn  2023-12-21  奥飞娱乐内幕信息

来源 :界面新闻2023-12-21

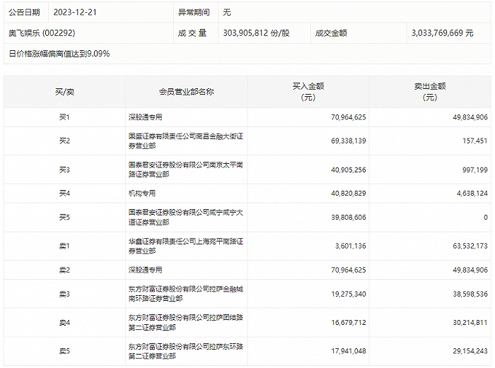
  12月21日,奥飞娱乐今日涨停,龙虎榜数据显示,上榜营业部席位全天成交5.36亿元,占当日总成交金额比例为17.68%。其中,买入金额为3.19亿元,卖出金额为2.17亿元,合计净买入1.02亿元。

  具体来看,机构买入4082.08万元,卖出463.81万元,合计净买入3618.27万元。此外,知名游资现身龙虎榜,深股通专用、国盛证券南昌金融大街证券营业部分别买入7096.46万元、6933.81万元;炒股养家(华鑫证券上海宛平南路证券营业部)、深股通专用分别卖出6353.22万元、4983.49万元。

  

有问题请联系 767871486@qq.com 商务合作广告联系 QQ:767871486
www.chaguwang.cn 查股网