南国置业(002305)4月25日披露2023年年报。2023年,公司实现营业总收入10.59亿元,同比下降89.22%;归母净利润亏损16.93亿元,上年同期亏损8.23亿元;扣非净利润亏损16.20亿元,上年同期亏损9.51亿元;经营活动产生的现金流量净额为15.78亿元,上年同期为-23.37亿元;报告期内,南国置业基本每股收益为-0.9764元,加权平均净资产收益率为-127.16%。


以4月24日收盘价计算,南国置业目前市盈率(TTM)约为-1.38倍,市净率(LF)约为4.83倍,市销率(TTM)约为2.21倍。
公司近年市盈率(TTM)、市净率(LF)、市销率(TTM)历史分位图如下所示:


数据统计显示,南国置业近三年营业总收入复合增长率为-35.92%,在商业地产行业已披露2023年数据的8家公司中排名第8。近三年净利润复合年增长率为-536.17%,排名8/8。
资料显示,公司是一家以商业地产为引导,涵盖多种物业类型的综合性开发、运营企业。
分产品来看,2023年公司主营业务中,物业销售收入4.95亿元,同比下降94.67%,占营业收入的46.74%;物业出租及物业管理收入4.94亿元,同比增长9.55%,占营业收入的46.67%;酒店运营及其他收入6979.42万元,同比下降9.43%,占营业收入的6.59%。
截至2023年末,公司员工总数为524人,人均创收202.07万元,人均创利-323.13万元,人均薪酬36.54万元,较上年同期分别变化-88.04%、-128.11%、7.76%。
2023年,公司毛利率为-55.03%,同比下降61.91个百分点;净利率为-165.97%,较上年同期下降159.98个百分点。从单季度指标来看,2023年第四季度公司毛利率为-45.45%,同比下降54.92个百分点,环比上升30.96个百分点;净利率为-163.17%,较上年同期下降161.39个百分点,较上一季度上升17.52个百分点。
分产品看,物业销售、物业出租及物业管理2023年毛利率分别为-26.98%、-91.07%。
报告期内,公司前五大客户合计销售金额0.65亿元,占总销售金额比例为6.12%,公司前五名供应商合计采购金额5.23亿元,占年度采购总额比例为34.97%。
数据显示,2023年公司加权平均净资产收益率为-127.16%,较上年同期下降94.77个百分点;公司2023年投入资本回报率为-12.47%,较上年同期下降12.27个百分点。
2023年,公司经营活动现金流净额为15.78亿元,同比增加39.15亿元;筹资活动现金流净额-17.59亿元,同比减少25.43亿元;投资活动现金流净额1.38亿元,上年同期为-6.09亿元。
进一步统计发现,2023年公司自由现金流为40.49亿元,相比上年同期增长747.42%。
2023年,公司营业收入现金比为629.31%,净现比为-93.21%。
营运能力方面,2023年,公司公司总资产周转率为0.04次,上年同期为0.30次(2022年行业平均值为0.18次,公司位居同行业1/10);固定资产周转率为2.22次,上年同期为19.93次(2022年行业平均值为8.35次,公司位居同行业2/10);公司应收账款周转率、存货周转率分别为3.79次、0.12次。
资产重大变化方面,截至2023年年末,公司使用权资产较上年末减少27.88%,占公司总资产比重下降2.38个百分点;投资性房地产较上年末增加23.52%,占公司总资产比重上升2.32个百分点;其他应收款(含利息和股利)较上年末减少14.44%,占公司总资产比重下降1.13个百分点;其他流动资产较上年末增加122.97%,占公司总资产比重上升0.82个百分点。
负债重大变化方面,截至2023年年末,公司合同负债较上年末增加231.07%,占公司总资产比重上升8.34个百分点,主要系西安泷悦长安、重庆高新沈悦长安、重庆清韵阶庭等项目预售;其他应付款(含利息和股利)较上年末增加17.48%,占公司总资产比重上升9.54个百分点;一年内到期的非流动负债较上年末减少58.90%,占公司总资产比重下降5.47个百分点;租赁负债较上年末减少23.24%,占公司总资产比重下降1.69个百分点。
从存货变动来看,截至2023年年末,公司存货账面价值为131.88亿元,占净资产的2719.56%,较上年末减少4.89亿元。其中,存货跌价准备为4.05亿元,计提比例为2.98%。
在偿债能力方面,公司2023年年末资产负债率为91.98%,相比上年末上升6.31个百分点;有息资产负债率为13.49%,相比上年末下降8.00个百分点。
2023年,公司流动比率为0.87,速动比率为0.26。
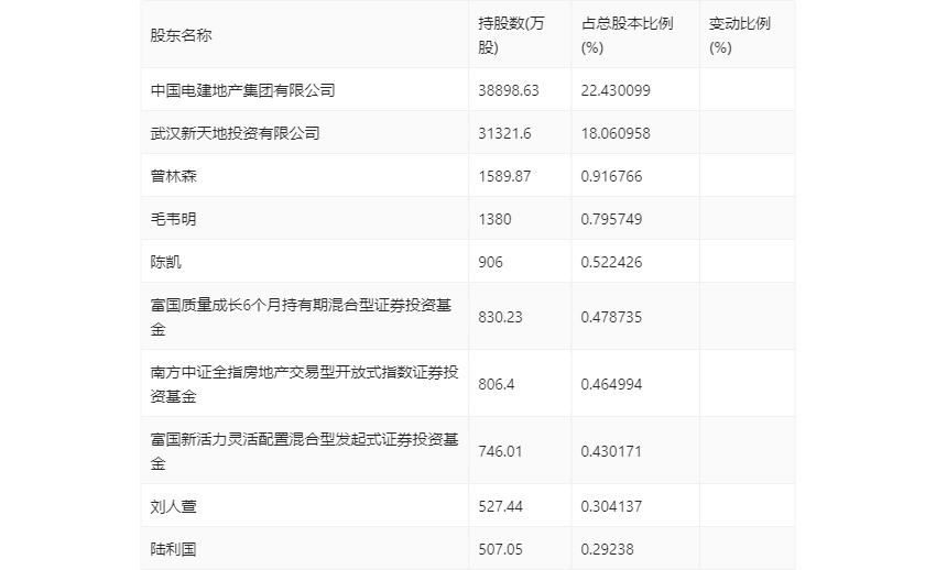
年报显示,2023年年末公司十大流通股东中,新进股东为富国质量成长6个月持有期混合型证券投资基金、富国新活力灵活配置混合型发起式证券投资基金、陆利国,取代了三季度末的安信策略精选灵活配置混合型证券投资基金、姚新华、安信远见成长混合型证券投资基金。在具体持股比例上,曾林森、毛韦明、陈凯持股有所上升,南方中证全指房地产交易型开放式指数证券投资基金、刘人萱持股有所下降。
筹码集中度方面,截至2023年年末,公司股东总户数为6.05万户,较三季度末下降了4684户,降幅7.18%;户均持股市值由三季度末的5.82万元上升至5.90万元,增幅为1.37%。
指标注解:
市盈率
=总市值/净利润。当公司亏损时市盈率为负,此时用市盈率估值没有实际意义,往往用市净率或市销率做参考。
市净率
=总市值/净资产。市净率估值法多用于盈利波动较大而净资产相对稳定的公司。
市销率
=总市值/营业收入。市销率估值法通常用于亏损或微利的成长型公司。
文中市盈率和市销率采用TTM方式,即以截至最近一期财报(含预报)12个月的数据计算。市净率采用LF方式,即以最近一期财报数据计算。
市盈率为负时,不显示当期分位数,会导致折线图中断。