来源 :有连云2023-07-14
截至10:29,电信ETF(159507)开盘持续向上,现涨2.54%,成交额1832万元,成交额持续放大,市场交投活跃。

该基金紧密跟踪国证通信指数。指数成分股中,星网锐捷涨停,亨通光电上涨9.18%,天孚通信上涨8.55%,剑桥科技、中国联通、太辰光等涨幅均超5%。

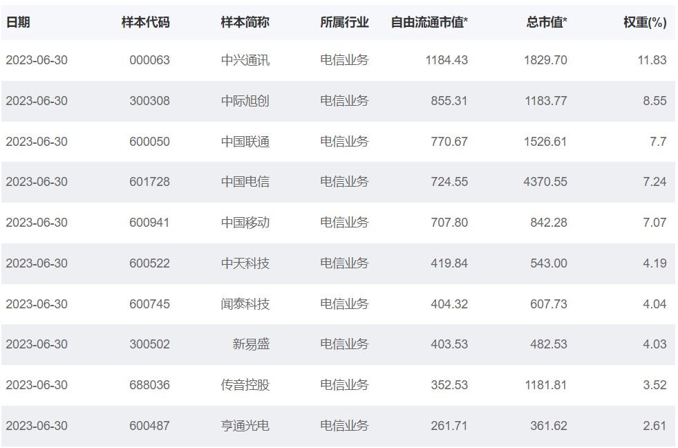
国证通信指数选取沪深北交易所通信产业相关上市公司编制而成的,用以反映中国证券市场上通信行业证券价格变动的趋势,并为市场增加新的指数投资品种。数据显示,截至2023年6月30日,该指数前十大权重股包括中兴通讯(11.83%)、中际旭创、中国联通、中国电信、中国移动等。(数据来源:国证指数官网,指数成份股不代表个股推荐)

天风证券认为,AI+数字经济共振的算力方向仍为强主线,但逐步进入到去伪存真阶段,同时建议积极把握二季度绩优个股。推荐把握AI算力方向核心受益的优质标的以及高景气格局好的细分赛道方向:1)AI和数字经济仍为强主线,未来需要紧抓核心受益标的:ICT设备、光模块/光芯片、PCB、IDC/液冷散热、GPT应用、电信运营商(数字经济+工业互联网)等相关公司都有望迎来新机遇。2)“天地一体化”为6G重点方向,建议关注通导遥各细分赛道。3)海风未来几年持续高景气,海缆壁垒高格局好估值低,投资机会凸显。