来源 :腾讯财经2022-04-15
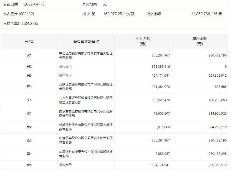
4月15日,九安医疗股价尾盘跌停上演“天地板”,全天成交额148.63亿元,换手率达35%,该股上午一度涨停,此前连续3日涨停。
深交所公布的盘后数据显示,资金博弈激烈。
其中,中信证券西安朱雀大街营业部买入3.56亿元并卖出2.30亿元,一机构净买入3.53亿元。
卖一席位国泰君安北京知春路营业部卖出3.15亿元并买入1680万元,另有一机构卖出2.09亿元并买入1.94亿元。

4月11日晚间,九安医疗披露2021年度业绩快报,报告期内,公司实现营业总收入25.13亿元,比上年度增长 25.11%;实现归属于母公司所有者的净利润9.13亿元,比上年度增长276.87%;实现归属于母公司所有者的扣除非经常性损益的净利润8.32亿元,比上年度增长 236.03%。
同时,公司披露了2022年第一季度业绩预告,一季度公司预计实现归属于母公司所有者的净利润为140亿元—160亿元,比上年同期增长36707.43%—41965.63%。
公司4月13日晚间发布风险提示称,当前股价、市盈率较公司历史股价及市盈率等数据均处于相对较高位置,不排除公司未来股价及上述指标发生回落的风险。