海格通信(002465)披露2024年半年度报告。2024年上半年,公司实现营业收入25.91亿元,同比下降9.93%;归母净利润1.96亿元,同比下降37.11%;扣非净利润1.08亿元,同比下降57.36%;经营活动产生的现金流量净额为-7.4亿元,上年同期为-5.53亿元;报告期内,海格通信基本每股收益为0.08元,加权平均净资产收益率为1.51%。

以8月23日收盘价计算,海格通信目前市盈率(TTM)约为37.94倍,市净率(LF)约为1.76倍,市销率(TTM)约为3.62倍。

公司近年市盈率(TTM)、市净率(LF)、市销率(TTM)历史分位图如下所示:



根据半年报,公司第二季度实现营业总收入14.47亿元,同比下降21.48%,环比增长26.46%;归母净利润1.53亿元,同比下降43.03%,环比增长260.69%;扣非净利润8408.92万元,同比下降64.93%,环比增长257.60%。

资料显示,公司主营业务覆盖“无线通信、北斗导航、航空航天、数智生态”四大领域,是全频段覆盖的无线通信与全产业链布局的北斗导航装备研制专家、电子信息系统解决方案提供商。
分产品来看,2024年上半年公司主营业务中,数智生态收入12.46亿元,同比下降1.57%,占营业收入的48.07%;无线通信收入7.31亿元,同比下降44.60%,占营业收入的28.23%;北斗导航收入4.14亿元,同比增长275.45%,占营业收入的15.96%。

2024年上半年,公司毛利率为32.12%,同比下降1.85个百分点;净利率为8.63%,较上年同期下降2.44个百分点。从单季度指标来看,2024年第二季度公司毛利率为32.29%,同比下降2.76个百分点,环比上升0.38个百分点;净利率为11.80%,较上年同期下降3.17个百分点,较上一季度上升7.18个百分点。

分产品看,数智生态、无线通信、北斗导航2024年上半年毛利率分别为15.22%、40.42%、60.73%。

数据显示,2024年上半年公司加权平均净资产收益率为1.51%,较上年同期下降1.38个百分点;公司2024年上半年投入资本回报率为1.08%,较上年同期下降1.45个百分点。

2024年上半年,公司经营活动现金流净额为-7.40亿元,同比减少1.86亿元,主要系2023年年末备货开具的票据在上半年集中到期,赊购待付款账期到期,支付货款较去年同期增加所致;筹资活动现金流净额3.81亿元,同比增加3.31亿元,主要系经营管理需要,短期借款增加所致;投资活动现金流净额-7.66亿元,上年同期为-2.59亿元,主要系报告期内在建工程项目支出增加,同时理财产品到期规模小于购买规模所致。
进一步统计发现,2024年上半年公司自由现金流为-14.39亿元,上年同期为-7.52亿元。

2024年上半年,公司营业收入现金比为87.16%,净现比为-377.64%。

营运能力方面,2024年上半年,公司公司总资产周转率为0.13次,上年同期为0.18次(2023年上半年行业平均值为0.13次,公司位居同行业18/62);固定资产周转率为1.71次,上年同期为2.01次(2023年上半年行业平均值为1.69次,公司位居同行业26/62);公司应收账款周转率、存货周转率分别为0.47次、1.16次。

2024年上半年,公司期间费用为7.06亿元,较上年同期增加4032.72万元;期间费用率为27.24%,较上年同期上升4.10个百分点。其中,销售费用同比下降14.41%,管理费用同比增长0.1%,研发费用同比增长13.2%,财务费用由去年同期的-1664.83万元变为-1804.27万元。

资产重大变化方面,截至2024年上半年末,公司货币资金较上年末减少24.96%,占公司总资产比重下降5.81个百分点;交易性金融资产较上年末增加153.10%,占公司总资产比重上升2.14个百分点;合同资产较上年末增加42.89%,占公司总资产比重上升1.95个百分点;在建工程较上年末增加112.59%,占公司总资产比重上升1.72个百分点。

负债重大变化方面,截至2024年上半年末,公司短期借款较上年末增加63.75%,占公司总资产比重上升4.14个百分点,主要系因经营管理需要,短期借款增加;应付账款较上年末减少14.08%,占公司总资产比重下降2.28个百分点;应交税费较上年末减少66.65%,占公司总资产比重下降0.40个百分点;长期递延收益较上年末减少67.88%,占公司总资产比重下降0.39个百分点。

从存货变动来看,截至2024年上半年末,公司存货账面价值为14.18亿元,占净资产的11.17%,较上年末减少2.02亿元。其中,存货跌价准备为1.43亿元,计提比例为9.17%。

在偿债能力方面,公司2024年上半年末资产负债率为31.14%,相比上年末上升0.55个百分点;有息资产负债率为11.78%,相比上年末上升4.09个百分点。

2024年上半年,公司流动比率为2.33,速动比率为2.07。

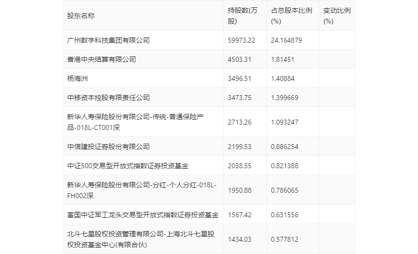
半年报显示,2024年上半年末的公司十大流通股东中,新进股东为中移资本控股有限责任公司、中信建投证券股份有限公司、上海北斗七星股权投资基金中心(有限合伙),取代了一季度末的南方军工改革灵活配置混合型证券投资基金、国泰中证军工交易型开放式指数证券投资基金、张志强。在具体持股比例上,中证500交易型开放式指数证券投资基金、富国中证军工龙头交易型开放式指数证券投资基金持股有所上升,香港中央结算有限公司、杨海洲持股有所下降。

筹码集中度方面,截至2024年上半年末,公司股东总户数为10.67万户,较一季度末增长了5469户,增幅5.40%;户均持股市值由一季度末的27.35万元下降至24.11万元,降幅为11.85%。

指标注解:
市盈率
=总市值/净利润。当公司亏损时市盈率为负,此时用市盈率估值没有实际意义,往往用市净率或市销率做参考。
市净率
=总市值/净资产。市净率估值法多用于盈利波动较大而净资产相对稳定的公司。
市销率
=总市值/营业收入。市销率估值法通常用于亏损或微利的成长型公司。
文中市盈率和市销率采用TTM方式,即以截至最近一期财报(含预报)12个月的数据计算。市净率采用LF方式,即以最近一期财报数据计算。
市盈率为负时,不显示当期分位数,会导致折线图中断。