来源 :证券时报网2023-06-27
6月27日,上证指数早盘震荡上扬,午后持续走强;深证成指早盘震荡攀升,随后有所回落,午后再度上扬;创业板指早盘冲高回落,午后一度回升,随后再度回落;科创50指数早盘冲高回落,临近午盘探底回升,午后再度回落,涨幅缩窄。截至收盘,上证指数报3189.44点,涨1.23%,成交额3544.88亿元;深证成指报10978.08点,涨0.97%,成交额4865.76亿元;创业板指报2191.83点,涨0.26%,成交额2047.14亿元;科创50指数报1011.35点,涨0.1%,成交额669.74亿元。沪深两市合计成交8410.64亿元,成交额较上一交易日减少1361.81亿元。
资金流向
1.主力资金
wind统计显示,沪深两市主力资金今日净流出37.15亿元。其中,创业板主力资金净流出46.78亿元,沪深300成分股主力资金净流入12.92亿元,科创板主力资金净流入4.15亿元。
从行业板块来看,申万所属的31个一级行业,今日有12个行业板块主力资金呈现净流入,其中,房地产行业板块主力资金净流入最多,净流入金额9.54亿元;行业板块主力资金净流入居前的还有银行、国防军工、建筑装饰,净流入金额分别为7.66亿元、6.29亿元、5.19亿元。 19个行业板块主力资金呈现净流出,其中,计算机行业板块主力资金净流出最多,净流出金额为17.48亿元;行业板块主力资金净流出靠前的还有公用事业、通信、机械设备、汽车、传媒,净流出金额分别为14.45亿元、13.52亿元、10.27亿元、7.85亿元、3.04亿元。

个股来看,今日有1999只个股获主力资金净流入,其中,32股获主力资金净流入超1亿元。拓维信息获主力资金净流入最多,净流入金额为7.58亿元;主力资金净流入居前的个股还有立讯精密、中船科技、华丰科技、安凯微、万科A,净流入金额分别为5.98亿元、5.72亿元、3.67亿元、2.88亿元、2.74亿元。

此外,2972只个股被主力资金净卖出,其中,25股被主力资金净卖出超1亿元。主力资金净流出最多的个股是浪潮信息,净流出金额为4.56亿元;主力资金净流出居前的个股还有昆仑万维、中际旭创、比亚迪、三六零、剑桥科技,净流出金额分别为4.54亿元、4.02亿元、3.64亿元、3.22亿元、2.88亿元。

2.北向资金
北向资金今日成交额为1166.81亿元,成交净卖出25.96亿元。其中,沪股通净卖出0.58亿元,深股通净卖出25.38亿元。
活跃个股方面,北向资金今日净买入较多的有美的集团、工业富联、中际旭创、中国平安、比亚迪,净买入金额分别为7.79亿元、0.47亿元、0.42亿元、0.41亿元、0.06亿元。北向资金净卖出较多的有五粮液、贵州茅台、宁德时代、中兴通讯、中国船舶,净卖出金额分别为5.99亿元、5.78亿元、5.76亿元、5.03亿元、4.74亿元。

3.龙虎榜机构资金动向
盘后龙虎榜数据显示,今日机构席位资金合计净买入约2834.66万元。其中,净买入的个股16只,净卖出的个股13只。机构净买入最多的股票是新时达,净买入金额约9813.07万元;机构净买入居前的还有中国动力、东田微、南方精工、深南电A、威星智能等股。机构净卖出最多的股票是顺鑫农业,净卖出金额约9931.98万元;机构净卖出居前的还有华光环能、秦川机床、国瑞科技等股。

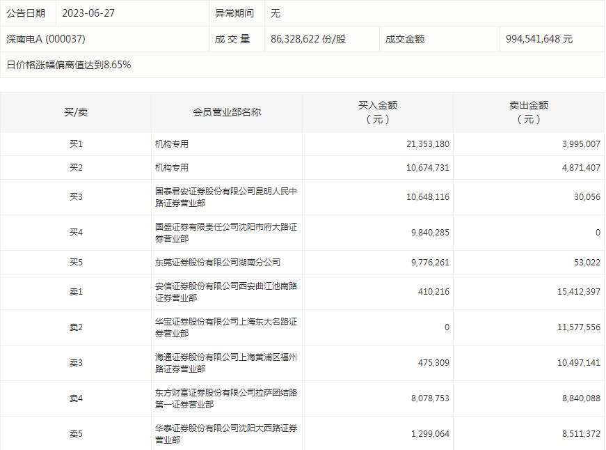
深南电A今天涨停。盘后数据显示,2个机构出现在龙虎榜单上,合计净买入约2316.15万元;国泰君安证券股份有限公司昆明人民中路证券营业部买入1064.81万元,同时卖出3.01万元;海通证券股份有限公司上海黄浦区福州路证券营业部买入47.53万元,同时卖出1049.71万元。

涨跌停个股
截至收盘,沪深两市合计4213只个股上涨,731只个股下跌,平盘个股46只,停牌的个股29只。不含当日上市新股,共有79只个股涨停,4只个股跌停。连续涨停天数看,*ST美谷均已连收6个涨停板,连续涨停板数量最多。
从收盘涨停板封单量来看,康盛股份最受追捧,收盘涨停板封单有7229.4万股;其次是中南建设、华脉科技,涨停板封单分别有3448.97万股、2123万股。以封单金额计算,华脉科技、康盛股份、同为股份等涨停板封单资金较多,分别有4.01亿元、2.43亿元、1.4亿元。

行业板块、概念方面看,行业板块涨多跌少。其中,房地产、轻工制造、建筑材料、教育、纺织服装、化工、家电、石油石化、钢铁等行业板块涨幅靠前;租售同权、氦气概念、在线旅游、赛马概念、装配建筑、抗菌面料、氢能源、海工装备、彩票概念、发电机概念等概念走势活跃。电力、半导体、CPO概念、ERP概念等板块走势较弱。涨停个股主要集中在轻工制造、医药生物、房地产、机械设备、通信、化工等行业。