chaguwang.cn-查股网.中国
查股网.CN
新时达(002527)内幕信息消息披露
 
个股最新内幕信息查询:    
 

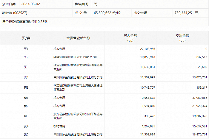
新时达今日涨停,机构合计净卖出4299.75万元

http://www.chaguwang.cn  2023-08-02  新时达内幕信息

来源 :界面新闻2023-08-02

  8月2日,新时达今日涨停,龙虎榜数据显示,上榜营业部席位全天成交1.96亿元,占当日总成交金额比例为26.48%。其中,买入金额为8659.14万元,卖出金额为1.09亿元,合计净卖出2262.79万元。

  具体来看,机构买入3252.13万元,卖出7551.88万元,合计净卖出4299.75万元。此外,华鑫证券上海分公司、华宝证券深圳新闻路证券营业部分别买入1985.39万元、1163.91万元;东方证券徐州和平路证券营业部、中国国际金融上海分公司分别卖出1920.74万元、1387.08万元。

  

有问题请联系 767871486@qq.com 商务合作广告联系 QQ:767871486
www.chaguwang.cn 查股网