chaguwang.cn-查股网.中国
查股网.CN
新联电子(002546)内幕信息消息披露
 
个股最新内幕信息查询:    
 

龙虎榜 | 新联电子今日跌停,机构合计净买入522.41万元

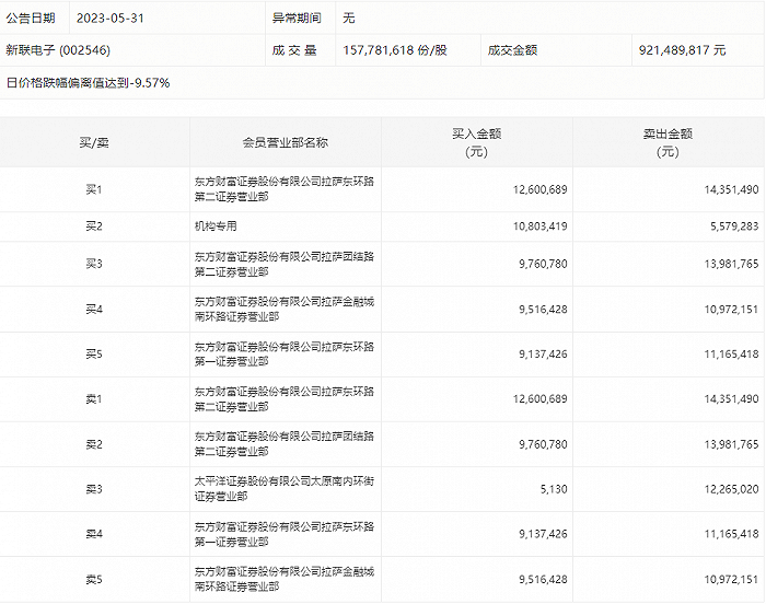
http://www.chaguwang.cn  2023-05-31  新联电子内幕信息

来源 :界面新闻2023-05-31

  5月31日,新联电子今日跌停,龙虎榜数据显示,上榜营业部席位全天成交1.2亿元,占当日总成交金额比例为13.04%。其中,买入金额为5182.39万元,卖出金额为6831.51万元,合计净卖出1649.13万元。

  具体来看,机构买入1080.34万元,卖出557.93万元,合计净买入522.41万元。此外,东方财富证券拉萨东环路第二证券营业部、东方财富证券拉萨团结路第二证券营业部分别卖出1435.15万元、1398.18万元;东方财富证券拉萨东环路第二证券营业部、东方财富证券拉萨团结路第二证券营业部分别买入1260.07万元、976.08万元。

  

有问题请联系 767871486@qq.com 商务合作广告联系 QQ:767871486
www.chaguwang.cn 查股网