2016年开始向教育领域转型的东莞勤上光电股份有限公司(002638,“勤上股份”)仍未走出业绩下滑困境。
1月5日,勤上股份披露风险提示公告称,“双减政策”对公司全资子公司广州龙文教育科技有限公司(“龙文教育”)和公司的整体经营产生了重大不利影响,2021年第三季度对收购龙文教育形成的商誉计提减值准备2.49亿元。
资料显示,勤上股份自2011年上市以来,已累计亏损19亿元。二级市场上,其股价累计跌逾80%。
收购多家教育机构布局教育产业
资料显示,勤上股份的前身是东莞勤上五金塑胶制品有限公司,2011年12月在深交所中小板挂牌,是A股首家以LED照明灯具为主营业务的上市公司。2016年公司开始筹划教育产业,主打半导体与教育培训双主业布局。
据不完全统计,2016年至今,勤上股份通过发行股份、支付现金、增资等方式分别收购龙文教育100%股权、英伦教育40%股权、凹凸教育10%股权、思齐教育10%股权、壹杆体育30%股权及柳州小红帽,并且其2017年停牌半年后宣布拟1.4亿元控股华顿文体。
根据媒体报道,2016年开始,勤上股份相继筹划收购多家公司,涉及的交易金额超过70亿元。
其中,值得注意的是,2016年1月,勤上股份通过发行股份和支付现金的方式出资20亿元,高溢价收购龙文教育100%股权。评估报告显示,当时龙文教育的净资产为-0.66亿元,采用收益法评估后的价值为20.14亿元,较同口径审计后净资产评估增至20.80亿元,增值率3151.52%。
与此同时,作为高溢价的一种“补偿”,龙文教育原股东承诺2015年至2018年度审计的净利润合计不低于5.638亿元,否则龙文教育原股东将承担补偿责任。
不过,“高溢价、高预期”并未给勤上股份带来预期的高回报。2015年龙文教育扣非净利润和统一控制下企业合并产生的子公司期初至合并日的当期净损益为8626.36万元;2016年-2018年,龙文教育扣非净利润分别为6642.46万元、8413.62万元及5769.01万元。四年业绩承诺期内共实现净利润合计2.9亿元,远低于承诺的5.638亿元,总完成率为52.24%。

与不及预期的盈利水平相对应的,则是高溢价收购所致巨额商誉的减值风险。
据财报显示,勤上股份对龙文教育并购共产生19.95亿元的商誉,在收购完成并表的第一年,勤上股份便计提商誉减值准备4.64亿元,当期公司净利润亏损4.27亿元。并且于2018年继续计提商誉减值准备10.88亿元,当期勤上股份净利润亏损12.49亿元。
资料显示,龙文教育的营业收入及利润占比已超过50%,是勤上股份主营业务收入和利润来源之一。1月6日,勤上股份再次发布公告称,受“双减政策”影响,公司2021年第三季度对收购龙文教育形成的商誉计提减值准备24,900.00万元。截至2021年9月30日,公司收购龙文教育形成的商誉可回收金额为19,432.59万元,该剩余部分商誉未来仍存在部分或全额减值的可能性。

据勤上股份2020年业绩预告显示,受新冠疫情影响,根据政府统一安排,龙文教育线下网点一季度全部停业。2021年6月,勤上股份发公告称,龙文教育已暂时关闭广州市57家、佛山市17家教学点,并处理调课及退费等相关事宜。广佛线下教学点的复课时间暂时无法预计。
由于广佛教学点的营业收入和利润占龙文教育整体的比重较高,且关闭门店会对相关城市教学点的课消情况以及即将到来的学期末和暑期旺季招生产生严重不利影响。因此勤上股份表示此次突发疫情或将对龙文教育及公司整体经营业绩产生较大不利影响。
其实自2020年以来,有投资者就开始在股吧喊话,希望勤上股份能够剥离龙文教育。该投资者表示,自从收购龙文教育后真是灾难不断,股价跌的面目全非。对此有业内人士也表示,义务教育培训业务剥离上市公司体系是政策方向。即便此业务留在上市公司体内,意义也不大。
对于将来是否会剥离教培业务,中国网财经致函勤上股份,截至发稿,未收到任何回复。
教育产业的“乏力”带来最直观的结果是业绩的“不堪”。
2018年-2021年第三季度,勤上股份分别实现营收12.98亿元、12.53亿元、9.95亿元及8.87亿元,同比增长率分别为-19.35%、-3.47%、-20.53%及24.77%;归母净利润分别为-12.49亿元、-3.73亿元、4518.79亿元及-3.47亿元,同比增长率分别为-1583.33%、70.15%、112.12%及-1662.28%。

其中,2018年-2021年上半年,公司半导体照明应用分别实现营收6.07亿元、6.16亿元、4.96亿元及2.98亿元,毛利率分别为20.16%、20.27%、20.98%及14.53%;教育培训分别实现营收6.91亿元、6.37亿元、4.99亿元及3.41亿元,毛利率分别为25.50%、15.13%、8.86%及13.49%。
多次收到行政处罚和监管函
记者注意到,在发布《关于落实“双减”限价举措对全资子公司龙文教育经营影响的风险提示》的同时,勤上股份还发布了《关于收到中国证券监督管理委员会广东监管局行政监管措施决定书的公告》。
该公告指出,勤上股份存在未如实披露与控股股东未完全分开情况、对关联方的信息披露不准确、未如实披露煜光照明大额信托资金去向情况、部分关联交易信息披露不完整、财务核算方面不规范、内幕信息管理违规等问题。
广东证监局强调,勤上股份的上述行为违反了《上市公司信息披露管理办法》、《企业会计准则第 36 号——关联方披露》、《上市公司治理准则》、《企业会计准则--基本准则》、《关于上市公司建立内幕信息知情人登记管理制度的规定》等规定,被责令改正,并要求公司应对相关责任人员进行内部问责。
同时,梁金成作为勤上股份董事长、总经理、代董事会秘书,邓军鸿作为财务总监,未按照《上市公司信息披露管理办法》第三条规定履行勤勉尽责义务,对公司上述相关违规行为负有主要责任。其中梁金成对公司上述全部违规行为负有主要责任,邓军鸿对除内幕信息管理方面问题以外的公司违规行为负有主要责任。
根据《上市公司信息披露管理办法》第五十九条和《关于上市公司建立内幕信息知情人管理制度的规定》第十五条的规定,广东证监局决定对梁金成、邓军鸿采取出具警示函的行政监管措施。
值得注意的是,这不是勤上股份第一次涉及行政监管措施。据不完全统计,自2014年以来,勤上股份共发布10起有关行政处罚或行政监管措施的公告,深交所中小板公司管理部对其发出2份监管函。
其中,2018年7月,勤上股份因未及时披露信息被曾令改正、警告并处以罚款60万,实际控制人李旭亮被警告并处以罚款60万元,并被采取终身证券市场禁入措施;2015年3月,因信息披露违规行为被责令改正、警告并处以罚款50万元。

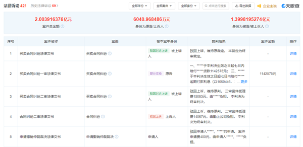
此外,勤上股份还“诉讼缠身”。据不完全统计,自2016年以来,公司共涉及421起法律诉讼,案由包括买卖合同纠纷、侵害发明专利权纠纷、股权转让纠纷等,案件总金额达2亿元。并且其曾多次成为被执行人、被执行总金额达7648.92万元。

最近的一次为今年1月7日,据勤上股份发布的关于公司控股股东及实际控制人相关诉讼事项进展公告,公司控股股东东莞勤上集团有限公司(“勤上集团”)及实际控制人李旭亮、温琦于2022年1月7日收到了广东省深圳市中级人民法院送达的《执行裁定书》([2021]粤03执9166号)。
裁定书显示,申请执行人彼岸大道与被执行人勤上集团、李旭亮、温琦借款合同纠纷一案,广东省深圳市中级人民法院[2019]粤03民初1500号民事判决已经发生法律效力,由于被执行人没有履行生效法律文书确定的内容,申请执行人向法院申请强制执行,法院于2021年 12月27日依法立案执行,裁定内容为查封、冻结、扣押、扣留、提取或划拨被执行人勤上集团、李旭亮、温琦的财产(以人民币191,086,094.20 元及迟延履行期间的债务利息、申请执行费、执行中实际支出的费用等为限)。

另外,2021年3月26日,据北京市教育委员会官方微信公众号“首都教育”通报,勤上股份全资子公司北京龙举云兴教育科技有限公司黄庄分公司(新科祥园甲4号2层)因未经批准擅自恢复线下培训被通报。
2021年6月1日,市教委印发《北京市教育委员会关于检查校外培训机构发现问题的通报(京教函[2021]267号),其中北京龙举云兴教育科技有限公司西城区中信城教学点被列入无办学许可证、违规开展线下教学活动的培训机构;北京龙举云兴教育科技有限公司富力城校区被列入无办学许可证、转为线上教学消耗存量课程但仍对外宣传招收新学员的培训机构。