chaguwang.cn-查股网.中国
查股网.CN
龙洲股份(002682)内幕信息消息披露
 
个股最新内幕信息查询:    
 

龙虎榜丨龙洲股份今日跌停,机构净卖出1654.24万元

http://www.chaguwang.cn  2024-01-04  龙洲股份内幕信息

来源 :界面新闻2024-01-04

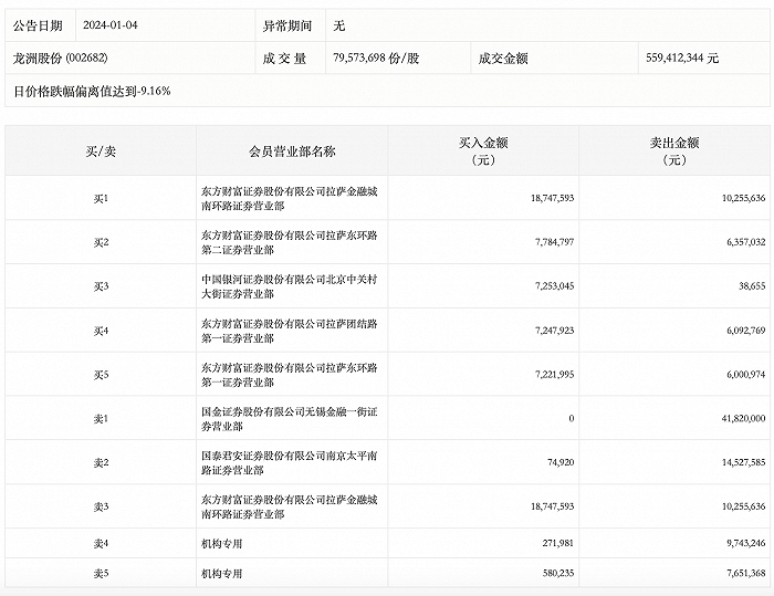
  1月4日,龙洲股份今日跌停,全天换手率14.15%,成交额5.59亿元,振幅6.17%。龙虎榜数据显示,机构净卖出1654.24万元,营业部席位合计净卖出3676.24万元。深交所公开信息显示,当日该股因日跌幅偏离值达-9.16%上榜。上榜的前五大买卖营业部合计成交1.52亿元,其中,买入成交额为4918.25万元,卖出成交额为1.02亿元,合计净卖出5330.48万元。

  

有问题请联系 767871486@qq.com 商务合作广告联系 QQ:767871486
www.chaguwang.cn 查股网