来源 :中国经济网2023-06-21
6月20日,国家药监局发布通告,15批次药品不符合规定。其中,葵花药业药品又在列。值得注意的是,国家药监局数据库显示,此前,标示葵花药业生产的16批次药品曾抽检不合格,涉及炎立消胶囊、氨咖黄敏胶囊、小儿化痰止咳颗粒、复方对乙酰氨基酚片等常用品种。
根据国家药监局6月20日通告,经重庆市食品药品检验检测研究院检验,标示为葵花药业集团湖北武当有限公司委托葵花药业集团(襄阳)隆中有限公司生产的1批次杏苏止咳糖浆不符合规定,不符合规定项目为pH值。

据了解,pH值是氢离子浓度指数,作为酸碱程度的衡量指标。pH值不合格,药品安全性和疗效是否会受影响?患者服用后,又会面临怎样的隐患?此外,已售不合格药品都流向了哪里?召回进展又如何?对此,中国经济网记者6月21日上午就此致电葵花药业,对方向记者表示,可14:30后再次致电,届时公司证代回复记者。然而,14:30后记者多次致电葵花药业,其电话始终处于无人接听状态。
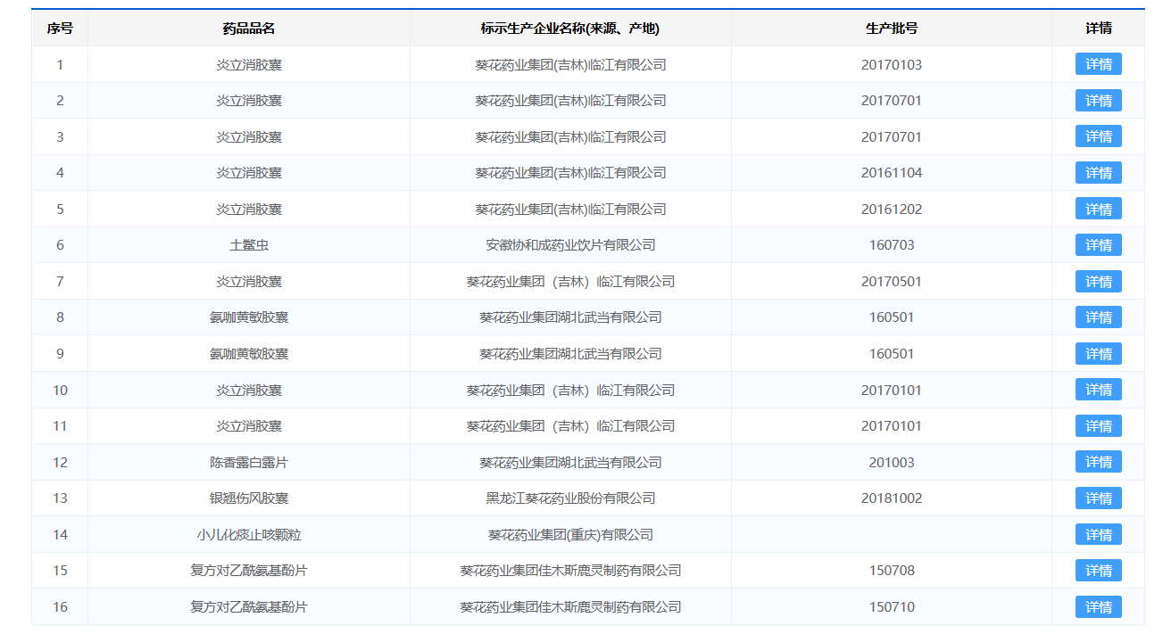
事实上,近年来,在药品质量问题上,葵花药业曾多次被曝光。中国经济网记者在国家药监局数据库检索“葵花药业”发现,其旗下有16批次不合格药品在列,涉及炎立消胶囊、土鳖虫、氨咖黄敏胶囊、陈香露白露片、银翘伤风胶囊、小儿化痰止咳颗粒、复方对乙酰氨基酚片7个品种。

值得注意的是,上述16批次不合格药品中,此次涉事企业葵花药业集团湖北武当有限公司共涉及3批次药品。根据葵花药业《2022年年度报告》,葵花药业集团湖北武当有限公司为葵花药业集团(襄阳)隆中有限公司全资子公司,而葵花药业集团(襄阳)隆中有限公司又系葵花药业控股子公司,此两家下属企业于2022年被认定为高新技术企业,2022年-2024年享受15%企业所得税优惠税率。

