2025年2月17日,万达电影持股5%以上股东莘县融智抛出减持计划,减持上限为公司股份总数的3%。公告一经发布,万达电影当日股价迅速跳水跌停,此后震荡走低。公司最新一日收盘价11.34元/股,总市值239亿元,较一年内高点蒸发超百亿。

万达电影近一年股价走势
业绩方面,2024年度,公司国内直营影院实现票房 57.2 亿元(不含服务费),较上年同期下降24.3%;利润端,预计由盈转亏,净亏损8.5亿元到9.5亿元,上年为盈利9.12亿元,同比降幅高达200%左右。
本期预计巨亏背后,是公司票房收入大幅下滑叠加固定成本居高不下,造成盈利能力承压,以及对商誉等计提巨额资产减值准备。
票房收入稳定性不佳警惕商誉埋雷
公开资料显示,万达电影主营业务为影院投资建设、院线电影发行、影院电影放映及相关衍生业务,主要业务收入来自电影票房收入、卖品收入以及广告收入。
一方面,营收高度依赖票房业务,另一方面,非票业务拓展未达预期,导致万达电影近年来业绩极不稳定。


2021-2023年、2024年1-9月(以下简称“报告期”),公司实现营业收入124.90亿元、96.95亿元、146.20亿元和98.47亿元,分别较上年同期变动98.40%、-22.38%、50.79%和-13.23%;实现净利润1.16亿元、-19.58亿元、9.32亿元和1.77亿元,分别较上年同期变动101.70%、-1785.52%、147.61%和-84.32%。
2024年度,公司预计净亏损8.5亿元到9.5亿元,上年为盈利9.12亿元,同比下滑193.20%到204.17%;扣非后净亏损9.7亿元到10.7亿元,上年为盈利7.19亿元,同比下滑234.91%到248.82%。
据此估算,2024年末,公司未弥补亏损预计将超过60亿元,约是实收资本的三倍。
造成万达电影本期同比由盈转亏的主要原因有三,即电影整体票房收入下滑、固定成本居高不下,以及计提资产减值损失。
其一,2024年受头部影片供给不足等因素影响,电影市场表现较为低迷。据国家电影局统计,全国电影票房425.02亿元,较2023年下降22.6%;观影人次10.1亿,较2023年下降22.3%,单银幕产出同比下滑,影院经营承压。
2024年公司国内直营影院实现票房57.2亿元(不含服务费),较上年同期下降24.3%,观影人次1.4亿,较上年同期下降23.7%,同时影院传统非票房收入也受到人次下滑影响;叠加影院折旧、租金、能耗等固定成本较高,导致国内影院仍出现一定程度亏损。
其二,报告期内,公司固定资产及使用权资产期末账面价值分别为96.84亿元、90.04亿元、82.16亿元和77.06亿元,分别占总资产的33.21%、33.71%、32.70%和30.84%,比例始终维持在30%以上。截至2024年6月末,公司固定资产、使用权资产的累计折旧金额分别高达42.19亿元和41.87亿元。
近年来,公司线下影院及银幕数量呈逐年增加趋势,折旧、租金、能耗等固定成本造成利润持续承压,但2024年内,出现直营及轻资产影院数量双降情形。

截至2024年9月30日,公司国内拥有已开业影院894家,其中,直营影院707家,轻资产影院187家,分别较年初减少2家和9家;已开业影院银幕7468块,较年初减少78块。公司澳洲院线拥有影院61家,530块银幕,其中,影院数量较年初未发生变动,银幕数量较年初增加1块。
其三,2024年影视行业整体恢复未达预期,公司部分资产出现减值迹象。根据《企业会计准则》及《会计监管风险提示第8号—商誉减值》等相关规定,基于谨慎性原则,公司对各项资产进行了减值测试并相应计提减值准备约7亿元至8亿元。剔除计提资产减值因素后,公司预计经营亏损约1亿元至1.5亿元。
值得注意的是,公司在业绩预告中提及《会计监管风险提示第8号—商誉减值》,这就意味着2024年计提了商誉减值准备。
近年来,商誉减值损失是造成公司巨亏的主要原因之一,仅2019年、2020年两年就计提了商誉减值损失91.72亿元。报告期内,公司仅在2022年计提了1.26亿元商誉减值损失,2021年、2023年均未计提。
截至2024年9月末,公司商誉账面价值仍高达43.74亿元,占期末归母净资产的53.64%,投资者应警惕公司商誉埋雷风险。
2024年,除影院票房业务收入下滑外,公司非票业务拓展也未达到预期。
上半年,公司非票业务收入25.79亿元,较上年同期下滑8.79%;其中,商品、餐饮销售收入8.13亿元,较上年同期下滑17.25%,毛利率下降1.98个百分点至60.96%。
今年春节档电影市场迎来开门红,万达影城7日内实现票房12.4亿元,同比增长22%,创历史新高。在票房TOP100的影城里,万达影城占据68席,并包揽了21个省级票房冠军、166个市级票房冠军。
需要指出的是,国内电影市场冷热不均的现象突出,市场供给和观影习惯使观众集中在节假日观影,档期票房占比较高,而3-4月、9-11月票房相对疲软。其中,春节档、暑期档、国庆档、贺岁档是四大热门档期。
虽然公司今年春节档票房收入创新高,但全年收入是否实现同比增长仍是未知数。我们将持续关注公司今年暑期档、国庆档、贺岁档的票房表现,以及非票业务开拓情况。
1年内市值蒸发超百亿管理层毫无作为?
2025年2月17日,万达电影发布公告称,持股5%以上股东莘县融智计划在本公告披露之日起15个交易日后的3个月内通过集中竞价及大宗交易方式减持公司股份累计不超过6335.34万股,即不超过公司总股本的3%。
公告显示,莘县融智系公司第三大股东,持有公司股份15484.72万股,占公司总股本的7.3325%。
此次减持完毕后,莘县融智持股比例将降低至4.3325%,成为持股5%以下的股东,这就意味着其后续减持无须提前公告。
这一减持计划迅速引起了市场的广泛关注。莘县融智作为万达电影的重要股东,其减持行为无疑将对公司的股价产生影响。事实上,在公告发布当日,万达电影的股价即迅速跌停。
值得注意的是,莘县融智的实际控制人为万达集团的创始人王健林。莘县融智的执行事务合作人为北京万达文化产业集团有限公司,而王健林则是该公司的最终受益人,持股比例高达78.16%。因此,莘县融智的减持计划也被视为王健林个人财务策略的一部分。
王健林减持万达电影的背后,是前“首富”不断增加的债务压力。
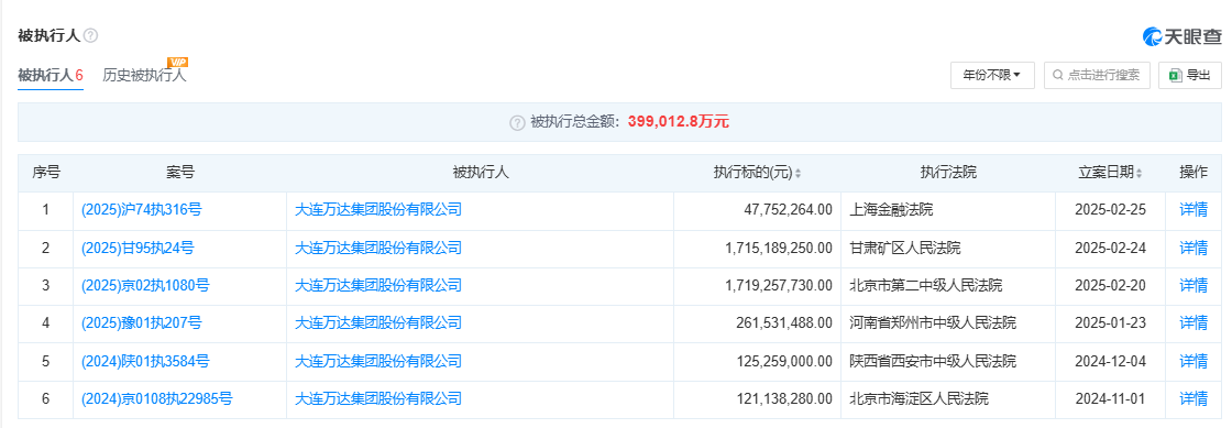
去年,王健林通过“脱手”万达电影控制权,套现资金超过20亿元,彼时市场就有猜测其是否正面临资金压力。据统计,自今年开年以来,王健林已经多次出现持股被冻结的情况,目前,万达集团被执行总金额39.90亿元,累计被冻结股权金额已近60亿元。


随着上述消息传播开来,叠加春节档电影市场热情趋冷,万达电影股价也跟着跌跌不休。截至2025年2月26日收盘,公司股价报11.31元/股,总市值239亿元,较2024年3月高点已蒸发超百亿。
事实上,万达电影因“市值管理不作为”长期遭到投资者质疑。

图源:深交所互动易
需要指出的是,万达电影在市值管理方面堪称“毫无作为”:自上市以来从未开展过股权激励计划;控股股东上次增持公司股票还要追溯到8年前;仅在上市初期进行利润分配,2018年至今再未现金分红;唯一一次股份回购,还是回购注销业绩承诺补偿股份。
并购重组方面,万达电影还“惹了一身骚”。2019年,公司以支付现金及发行股份方式向控股股东万达投资等21名交易对方购买其持有的万达影视96.8262%的股权,交易价格高达105.24亿元。万达投资、莘县融智、林宁承诺(以下简称“补偿义务主体”)万达影视2018年度、2019年度、2021年度、2022年度实现扣非后归母净利润数分别不低于7.63亿元、8.88亿元、10.69亿元、12.74亿元。
业绩承诺期间,万达影视实现扣非后归母净利润分别为7.99亿元、3.01亿元、4.22亿元和-7.14亿元,其中,仅2018年完成业绩承诺;累计实现净利润8.08亿元,完成率为20.22%。
根据《盈利预测补偿协议》,若万达影视未能完成承诺业绩,莘县融智、林宁应按照其各自在本次交易中获得的对价股份占上市公司在本次交易中发行股份总数的比例承担补偿义务,余下部分的应补偿股份由万达投资承担,万达投资对莘县融智、林宁女士的业绩补偿义务承担连带责任。
2024年3月,因上述补偿义务主体未履行业绩承诺补偿义务,北京监管局对其采取责令改正的行政监管措施。
根据《上市公司监管指引第10号——市值管理》,上市公司应当牢固树立回报股东意识,采取措施保护投资者尤其是中小投资者利益,诚实守信、规范运作、专注主业、稳健经营,以新质生产力的培育和运用,推动经营水平和发展质量提升,并在此基础上做好投资者关系管理,增强信息披露质量和透明度,必要时积极采取措施提振投资者信心,推动上市公司投资价值合理反映上市公司质量。
面对投资者的质疑和跌跌不休的股价,万达电影应拿出切实可行的市值管理方案,维护投资者的合法权益。