风云君脑海中闪过一句话:当你撒了一个谎,后面要撒无数个谎来圆。


这天,风云君正在市值风云APP社区闲逛,发现了这样一个有趣的帖子,ID为”第一创业股东“的用户质疑国光股份(002749.SZ,以下称国光股份或国光)财务数据有问题,吾股排名虚高。

(有趣有料的市值风云APP社区)
哟呵,这是来踢馆的吗?手撕垃圾公司那可是风云君的祖传手艺,果真有漏网之鱼?
风云君顺手查了一下这家公司的数据,确实有许多蹊跷之处,比如颜氏家族成员大量持股并占据财务条线各类要职,没有外部机构股东等等。

(来源:招股说明书,2015.03)
这一下子就让风云君来了兴趣。

国光股份是国内植物生长调节剂领域登记品种最多、制剂销售额最大的公司。
2021年,公司营收13.6亿,同比增长17.1%,扣非归母净利润2.0亿,同比减少10.8%;今年上半年,公司营收8.8亿,同比增长34.2%,扣非归母净利润1.3亿,同比减少了8.9%。

(图片来源网络)

第二大股东、实控人之子热衷股权投资
截至2022年半年报,国光股份前11大股东都是颜氏家族成员,合计持股65.7%。
其中第一大股东是颜昌绪,持股36.98%,第二大股东颜亚奇持股9.39%,颜亚奇是颜昌绪的儿子。
除了这两人之外,其他家族成员持股都不到4%,也谈不上有什么问题。

(2022半年报)
应该产生疑问的是,公司为什么没有较大的机构投资者。
在2019、2020年报中,广发稳健增长证券投资基金和基本养老保险八零五组合曾进入前十大股东,但在2021年报中就消失了。
一般来说,机构不看好可能是因为公司市值太小、流通盘太少,也可能是不看好其未来成长等等。
风云君这里就不去猜测了,我们还是要回到国光自身。
国光股份的前身是四川简阳县国光保鲜剂厂,成立于1984年,属于集体所有制企业;
1994年,国光变更为民营企业,挂靠平泉镇政府,2000年又变更为有限责任公司;
2009年,公司变更为股份有限公司,2015年上市。

(招股书)
这一路走来,国光股份的创始人和现任董事长颜昌绪可以说是独挑大梁。
颜昌绪出生于解放前的1948年,目前已经74岁高龄。颜昌绪的研究成果”国光牌SE-02保鲜剂“曾被列为国家级重点科技成果,其本人被评为高级工程师、优秀企业家和科技带头人,目前还兼任国光股份的技术中心主任。

(可转债募集说明书,2020.07)
颜昌绪的儿子、国光股份第二大股东颜亚奇,出生于1979年,目前任公司总经理,并分管作物部、采购部。
正常来讲,颜亚奇应该会接班颜昌绪。
不过从公司披露的资料来看,颜亚奇似乎在产品、研发上没多大贡献,而是热衷于股权投资。
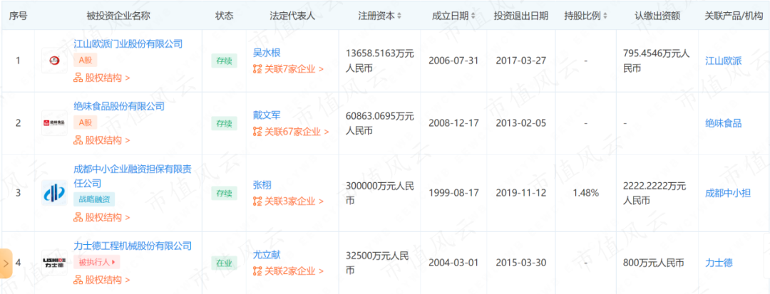
在上市之前,颜亚奇就持有苏州周原九鼎投资中心(有限合伙)(简称周原九鼎)1%的合伙份额。周原九鼎的执行事务合伙人是昆吾九鼎投资管理有限公司——九鼎投资(600053.SH)的全资子公司。

(招股书)
周原九鼎曾经投资过江山欧派(603208.SH)、绝味食品(603517.SH)等公司,颜亚奇想必跟着赚了不少钱。

(企查查)
2015年,国光股份上市,账上突然多了一大笔钱。次年12月,国光以自有资金3000万元投资苏州泰昌九鼎投资中心(有限合伙)(简称泰昌九鼎),这当中很难说没有颜亚奇的牵线搭桥。

(2016年报)

国光股份的两笔对外投资——一赚一平
泰昌九鼎唯一的投资项目是润丰股份(301035.SZ),润丰股份又是国光股份的供应商。

(市值风云APP润丰股份研报)
润丰股份在2018年的招股书申报稿中曾表示,泰昌九鼎(即截图中的苏州九鼎)与主要客户之间不存在业务往来或关联关系。

(润丰股份招股书(申报稿2018年4月2日报送))
但是国光2020年的可转债募集说明书中明确写道,润丰股份是其供应商,投资泰昌九鼎的目的之一就是增强合作粘性,稳定原料供应。

(可转债募集说明书)
风云君疑惑的是润丰为什么不披露这层关联关系,或许是因为国光体量太小、不在前十大客户之列?
总之,润丰的上市之路比较漫长,直到泰昌九鼎2020年退出之后才于次年成功上市。
国光则是在这笔投资中赚了773万元,收益率25.8%,年化约6%。
2018年,国光又拿出4500万投资江苏景宏生物科技有限公司(简称景宏生物),资金来自IPO中的终止项目。
景宏生物是国光2018年的第一大供应商,跟投资润丰的套路很像。
这笔投资自始至终都不顺利。
2018年4月,由于景宏生物所在化工园区进行安全、环保整改,政府部门向其下达停产通知。
2019年,受响水”3.21“特大爆炸事故影响,景宏生物继续停产,并转型委托加工业务。
2020年,因长期停产导致生产设备存在重大安全隐患,景宏生物被要求拆除原药合成生产设备。
但是国光最终于2020年退出对景宏生物的投资时,居然拿回了4500万本金。
而且就在景宏生物停产、转型的过程中,其居然一直是国光的第一大供应商,为国光提供农药外协加工服务,2018-2020年分别占到国光采购总额的10.9%、13.2%、15.8%。
所以,这笔投资到底是国光加强了对供应商的控制,还是供应商以本金为要挟绑架了国光呢?
两笔投资给风云君的印象是,这位富家公子哥的投资也仅限于“窝里横”,基本上被惦记到的都是自家的供应商:
一起做生意,可以,但我得“一鱼两吃”。


经营权上的分离,增收不增利
按道理说,如果家族成员在主业上没有什么作为的话,放权给职业经理也不是不可以。
2018年,国光首次出台限制性股票激励方案,设定2018-2020年的收入增长考核指标为每年20%。

(国光股份2018年限制性股票激励计划(草案)摘要,2018-05-03)
激励对象包括何鹏、牟兴勇、何颉等高管以及大量中层管理人员和核心骨干。
何鹏等人基本上都是早期进入公司然后被提拔起来的打工人。

(国光股份2018年限制性股票激励计划(草案)摘要,2018-05-03)
看似放权了,实际上又没有放权。
在被问到为什么以营收作为股权激励考核目标时,国光股份表示,“经营方针、产品结构、产品定价等由公司决定”。

(国光股份调研活动信息,20210305)
事后来看,公司2018-2020年的营收增速分别为17.4%、17.2%、14.4%,没有达到考核目标。
2021年2月,国光再次出台限制性股票激励计划,设定的2021-2023年营收增速考核目标为每年17%。2021年实际增长了17.1%,今年上半年增长了34.1%,全年目标也非常有希望达成。

(国光股份:2021年限制性股票激励计划(草案)摘要,2021.02.25)
不过,今年上半年的大幅增长是由于一季度收购了鹤壁全丰。
3月,公司宣布收购鹤壁全丰生物科技有限公司(简称鹤壁全丰)51%的股份,总代价为2.7亿元。鹤壁全丰去年的收入相当于国光股份的21%,但利润率低于国光。
果然比起经营主业,还是资本运作来得快呀。

而在国光核心管理层仍然掌控的产品结构、产品定价上,也没有什么好消息。
从2018年开始,国光的盈利能力不断下滑。去年的毛利率、经调整营业利润率分别为44.6%、16.7%,比2017年的高点分别下降了7.6个、11.5个百分点。
扣非净利润2017-2021年仅增长了9.9%,年化2.4%。


被严重夸大的行业龙头,上市以来也没折腾出像样的新品
除了公司治理上的问题外,国光的困境还与农药行业的大趋势有关。
我国的农药行业整体处于小而分散的状态,去年排名第一的诺普信(002215.SZ)销售额32.49亿元,仅相当于国际巨头安道麦(000553.SZ)的1/10。
国光股份农药制剂销售额9.49亿元,排名第9位。

(全国农药行业制剂销售百强,来源:智研咨询)
国光虽然称自己是植物调节剂“行业龙头“,但是在2017年,中国农药行业销售额3080亿元,其中植物调节剂市场64亿,占仅比2%。
而且调节剂的生产一般包括原药生产和制剂生产两个流程,国光只是最大的调节剂制剂销售公司,在原药生产上的能力不足。
在产品上,我国的农药行业还处于仿制阶段。
国光的植物生长调节剂主要包括甲哌鎓、萘乙酸、多效唑、乙烯利等,属于化学农药,主要产品与IPO时相比变化很小。

(招股书,2015.03)
(可转债募集说明书,2020.07)
另外,农药的生产采用登记证制度。国光目前拥有114个调节剂登记证、69个杀菌剂登记证,2014年底时拥有40个调节剂登记证、31个杀菌剂登记证,增量主要来自收购的重庆依尔双丰、山西浩之大和鹤壁全丰。

(2022年半年报)
因此,随着国际巨头的进入和国内竞争的加剧,缺乏核心技术和全产业链能力的公司毛利率下滑是必然的。
2017-2021年,国光调节剂毛利率下降了5.8个百分点;
杀菌剂毛利率下降了5.5个百分点;
水溶性肥料毛利率下降了10.5个百分点。

自2018年以来,国光的研发费用率不断下降,今年上半年仅有2.7%;管理费用率不断上升,今年上半年达到6.3%;销售费用率不断下降,今年上半年为11.9%。
销售费用率最高,说明国光最依赖销售;而管理费用率不断增加,则与股权激励等有关。


拖了5年的IPO募投项目,不顾一切的募资扩产
最后我们来谈谈股民体验。
主要包括两部分:募投项目和分红。
国光股份在招股书中表示,产能不足是调节剂业务的主要瓶颈。
2015,公司IPO募资3.4亿,用途包括建设2100吨/年的调节剂原药、1.9万吨/年的农药制剂和6000吨/年的植物营养品等生产线,计划于2016年上半年末投产。

(招股书)
结果到了2016年年报,公司终止了500公斤/年S-诱抗素原药项目,其余项目的预定可使用日期也推迟到了2017年底。
2017年年报中,IPO项目的预定可使用日期再次推迟到2018年底。
2018年年报中,再次推迟到2019年9月底。
2019年年报中,部分项目再次推迟到2019年年底。
募投项目推迟的主要原因变成了施工图的设计调整、园区配套项目不完善等。
到了2021年,IPO募投项目终于投产了,但是产能利用率不足。去年,公司农药销量增长了18.7%,设计产能利用率则是从62.1%下降到38.9%。
虽然公司表示由于农药需求的季节性和保质期等原因,实际产能利用率要更高。但是从投资者角度看,公司对IPO募集资金的使用效率仍然是不及格的。
(市值风云整理,2015-2016年公司未披露产能情况;2020年公司通过收购山西浩之大新增了6万吨生物有机肥/菌肥产能以及部分农药制剂产能,另外平泉老厂关停了部分产能)
风云君脑海中闪过一句话:当你撒了一个谎,后面就要撒无数个谎来圆。
2020年,公司又宣布发行3.2亿的可转债,用途包括年产2.2万吨制剂生产线搬迁技改项目、年产5万吨水溶性肥料生产线搬迁技改项目。这两个搬迁技改项目主要针对的是平泉老厂区,而非IPO厂区。

(可转债募集说明书)
搬迁改造完成后,制剂、肥料项目将分别净增加产能2.5万吨/年、4.6万吨/年。
2020年,公司还计划通过自有资金1.9亿元在重庆万盛经开区建设原药及中间体生产线,产能3.5万吨/年。

(2020年报)
不管短期利润率如何,国光显然已经决定在扩产能这条路上狂奔一阵。

边融资边分红,分红大部分进了颜氏家族腰包
其实,国光股份并不缺钱。
截至今年上半年末,公司的资产负债率仅29%,负债中超过4成还是可转债,并不需要真正去还。
公司的净现比常年在100%以上。2014-2021年,公司累计自由现金流11.1亿元。
但是,公司仍然偏好用股权融资的方式来募集资金:IPO募资3.4亿,可转债又募资3.2亿。
明明可以靠自己,却非要靠资本市场,这都什么臭毛病?!我堂堂大A,就是你家取款机吗?
公司在分红上非常大方,上市后累计分红8.5亿元,分红占自由现金流的比例高达76.1%。

这些分红则是大部分进了颜氏家族成员腰包——IPO之后,颜氏家族合计持有75%的股份。
截至上半年末,持股前11名的股东仍然全部是颜氏家族成员,合计持股65.7%。

国光股份从1984年的集体所有制企业一路走来,如今还能排在农药制剂行业第9,值得肯定。
但是,家族企业的传承问题,农药行业集中度提高、对产品和全产业链能力要求越来越高的问题,都在困扰着这家公司。
公司目前给出的解决方案非常简单粗暴:扩张产能和外延式收购。从IPO募投项目的效果和业务上的增收不增利来看,表现一般。
公司在不缺钱的情况下不断进行股权融资,同时大笔分红进了家族成员腰包,更是让中小投资者的切身利益受到真实伤害。