
中证智能财讯新兴装备(002933)8月10日披露2024年半年报。2024年上半年,公司实现营业总收入2.14亿元,同比增长69.95%;归母净利润1026.19万元,同比增长47.19%;扣非净利润598.72万元,同比增长12.97%;经营活动产生的现金流量净额为-5245.50万元,上年同期为1926.61万元;报告期内,新兴装备基本每股收益为0.09元,加权平均净资产收益率为0.69%。
公告称,公司营业收入变化主要由于本期受客户采购需求的影响,公司批产的装备产品交付数量较上期有所上升。
报告期内,公司合计非经常性损益为427.48万元,其中委托他人投资或管理资产的损益为247.60万元。
以8月9日收盘价计算,新兴装备目前市盈率(TTM)约为154.21倍,市净率(LF)约为1.82倍,市销率(TTM)约为5.36倍。
公司近年市盈率(TTM)、市净率(LF)、市销率(TTM)历史分位图如下所示:


根据半年报,公司第二季度实现营业总收入1.23亿元,同比增长49.63%,环比增长33.90%;归母净利润1593.62万元,同比下降15.57%,环比增长380.85%;扣非净利润1373.59万元,同比下降27.12%,环比增长277.27%。
半年报称,公司主营业务是以伺服控制技术为核心的航空装备产品的研发、生产、销售及相关服务。
分产品来看,2024年上半年公司主营业务中,机载设备收入2.10亿元,同比增长91.14%,占营业收入的97.80%。
2024年上半年,公司毛利率为24.29%,同比下降13.71个百分点;净利率为4.21%,较上年同期下降0.84个百分点。从单季度指标来看,2024年第二季度公司毛利率为24.26%,同比下降22.57个百分点,环比下降0.08个百分点;净利率为11.98%,较上年同期下降10.82个百分点,较上一季度上升18.18个百分点。
数据显示,2024年上半年公司加权平均净资产收益率为0.69%,较上年同期增长0.21个百分点;公司2024年上半年投入资本回报率为0.37%,较上年同期增长0.23个百分点。
2024年上半年,公司经营活动现金流净额为-5245.50万元,同比减少7172.11万元;筹资活动现金流净额-822.40万元,同比减少3.95亿元;投资活动现金流净额-3.97亿元,上年同期为-2.53亿元。
进一步统计发现,2024年上半年公司自由现金流为-4.66亿元,上年同期为-2.12亿元。
2024年上半年,公司营业收入现金比为59.14%,净现比为-511.16%。
营运能力方面,2024年上半年,公司公司总资产周转率为0.09次,上年同期为0.06次(2023年上半年行业平均值为0.16次,公司位居同行业44/46);固定资产周转率为1.71次,上年同期为5.11次(2023年上半年行业平均值为1.18次,公司位居同行业5/46);公司应收账款周转率、存货周转率分别为0.69次、0.62次。
2024年上半年,公司期间费用为3668.57万元,较上年同期减少883.17万元;期间费用率为17.12%,较上年同期下降18.98个百分点。其中,销售费用同比下降22.19%,管理费用同比下降23.24%,研发费用同比下降4.07%,财务费用由去年同期的-249.51万元变为-250.99万元。
资料显示,销售费用的变动主要因为本期销售人员股份支付摊销较上期减少;管理费用的变动主要因为本期管理人员股份支付摊销较上期减少。
资产重大变化方面,截至2024年上半年末,公司货币资金较上年末减少37.97%,占公司总资产比重下降17.65个百分点;交易性金融资产较上年末增加212.09%,占公司总资产比重上升16.85个百分点;应收账款较上年末增加12.62%,占公司总资产比重上升1.98个百分点;应收票据较上年末减少73.13%,占公司总资产比重下降1.38个百分点。
负债重大变化方面,截至2024年上半年末,公司合同负债较上年末减少30.19%,占公司总资产比重下降1.74个百分点;应付票据较上年末减少62.07%,占公司总资产比重下降1.23个百分点;应付职工薪酬较上年末减少26.09%,占公司总资产比重下降0.33个百分点;其他流动负债较上年末减少39.03%,占公司总资产比重下降0.28个百分点。
从存货变动来看,截至2024年上半年末,公司存货账面价值为2.57亿元,占净资产的17.26%,较上年末减少1113.42万元。其中,存货跌价准备为5637.79万元,计提比例为17.98%。
在偿债能力方面,公司2024年上半年末资产负债率为37.15%,相比上年末下降2.63个百分点;有息资产负债率为17.25%,相比上年末上升0.61个百分点。
2024年上半年,公司流动比率为4.80,速动比率为4.17。
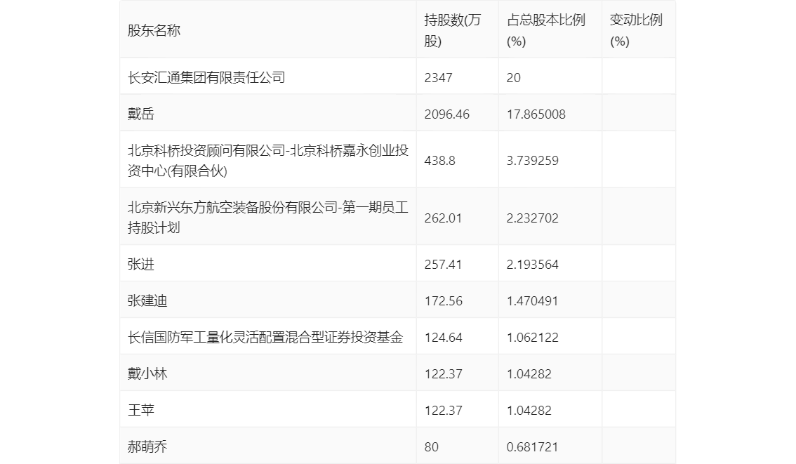
半年报显示,2024年上半年末公司十大流通股东中,新进股东为长信国防军工量化灵活配置混合型证券投资基金,取代了一季度末的王楚新。在具体持股比例上,北京科桥投资顾问有限公司-北京科桥嘉永创业投资中心(有限合伙)持股有所下降。
筹码集中度方面,截至2024年上半年末,公司股东总户数为1.64万户,较一季度末下降了2986户,降幅15.37%;户均持股市值由一季度末的18.85万元下降至16.36万元,降幅为13.21%。
指标注解:
市盈率
=总市值/净利润。当公司亏损时市盈率为负,此时用市盈率估值没有实际意义,往往用市净率或市销率做参考。
市净率
=总市值/净资产。市净率估值法多用于盈利波动较大而净资产相对稳定的公司。
市销率
=总市值/营业收入。市销率估值法通常用于亏损或微利的成长型公司。
文中市盈率和市销率采用TTM方式,即以截至最近一期财报(含预报)12个月的数据计算。市净率采用LF方式,即以最近一期财报数据计算。
市盈率为负时,不显示当期分位数,会导致折线图中断。