chaguwang.cn-查股网.中国
查股网.CN
中岩大地(003001)内幕信息消息披露
 
个股最新内幕信息查询:    
 

龙虎榜丨中岩大地今日跌停,机构合计净卖出442.26万元

http://www.chaguwang.cn  2023-03-16  中岩大地内幕信息

来源 :界面新闻2023-03-16

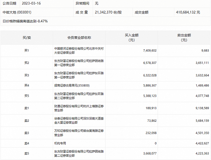
  3月16日,中岩大地今日跌停,龙虎榜数据显示,上榜营业部席位全天成交7655.92万元,占当日总成交金额比例为18.64%。其中,买入金额为3574.84万元,卖出金额为4081.08万元,合计净卖出506.24万元。

  具体来看,机构合计净卖出442.26万元。此外,财通证券杭州上塘路证券营业部、华泰证券深圳深南大道基金大厦证券营业部分别卖出913.86万元、568.42万元;中国银河证券北京中关村大街证券营业部、东方财富证券拉萨团结路第一证券营业部分别买入740.96万元、657.83万元。

  

有问题请联系 767871486@qq.com 商务合作广告联系 QQ:767871486
www.chaguwang.cn 查股网