距离被“强制减持”,华测检测的境外机构投资者们仅有一步之遥。
根据深交所官网披露的信息,境外投资者持有华测检测A股总数在8月31日首次达到5亿股,持股比例已至29.74%,再度逼近30%“预警线”。数据显示,自8月25日起,境外投资者对华测检测的持股比例五连增。
根据交易所最新数据,华测检测是目前两市唯一一家境外投资者持股比例超过28%的公司。值得注意的是,如果境外投资者因主动买入导致持有华测检测的比例突破30%,或将面临被强制减持。有意思的是,就在9月1日晚间,华测检测公告称已通过自有资金完成了0.06%的回购。

国信证券在相关研报中指出,华测检测所处的检测行业是长坡厚雪的优质赛道,长期确定性强、短期公司在疫情反复下业绩稳定兑现、呈现极强韧性。
由此,不仅是境外机构,国内机构投资者对华测检测也颇为青睐。今年以来,共计771家机构参与了华测检测2次调研。截至二季度末,其十大流通股股东中港资机构、外资机构各占一席,嘉实基金旗下3只产品均在位列其中。同一时期,共计342家机构持股华测检测,持仓比例超过50%。
梳理深沪交易所近两日的数据,境外投资者对多家上市公司的持股比例在24-26%。根据wind数据显示,截至目前,沪(深)股通持股占比超过10%的A股上市公司共有51家。而这51家公司的市盈率主要在30-50倍之间。而比之被外资“卖爆”的高光时刻,华测检测年初至今的股价表现着实黯淡。
华测检测遇外资五连增
实际上,境外投资者对于华测检测的青睐,最早可追溯至2019年12月18日。因为证监会规定,所有境外投资者持有同一上市公司A股数额合计达到或超过该公司股份总数的26%时,需公布境外投资者已持有该公司A股的总数及其占公司股份总数的比例。
首次披露的持股数据显示,境外投资者彼时持有华测检测4.31亿股,持股比例为26.01%。自此,境外投资者开始不断增持华测检测。到了2021年6月24日,境外投资者对华测检测的持股比例已经超过28%,达到证监会要求外资暂停买入的红线。
在实际操作中,境外投资者持股比例达到26%被视为警戒点,持股比例达到28%则暂停外资购买。而如果境外投资者因主动买入导致持股比例突破30%,或将面临被强制减持。若因公司回购等原因导致外资持股被动达到30%以上,则投资者无需卖出但港交所将暂停买盘。
今年7月8日,境外投资者持有华测检测已有4.88亿股,持股比例为29.02%,已经逼近强制减持的预警线。自此,华测检测的外资持有比例均在上下徘徊。
8月24日,境外投资者持有华测检测4.94亿股,持股比例为29.42%。第二日,境外投资者便开始了对华测检测连续5次的增持操作。通过增持,外资对华测检测的的持股比例分别达29.46%、29.48%、29.63%、29.69%,对应的持股数量也分别实现了4.95、4.96、4.98、4.99亿股。
直至8月31日,境外投资者已持有华测检测5亿股,持股比例为29.74%,朝着“强制减持”更进一步。到了9月1日,境外投资者持股华测检测的数据还未发生变化。
就在9月1日晚间,华测检测发布了关于回购股份的进展公告。公告指出,截至8月31日,公司通过回购专用证券账户以集中竞价交易方式实施股份回购,回购股份数量为100万股,占公司目前总股本的0.06%,最高成交价为20.75元/股,最低成交价为19.70元/股,成交均价20.31元/股,成交总金额为2030.85万元(不含交易费用)。
很显然,0.06%的回购比例将造成境外投资者持股比例的被动抬升,让被动减持更接近现实。
华测检测也得国内机构偏爱
国信证券在相关研报中指出,华测检测所处的检测行业是长坡厚雪的优质赛道,长期确定性强、短期公司在疫情反复下业绩稳定兑现、呈现极强韧性。
在机构调研中,华测检测也公开表示,从历史来看,检测认证行业是一个比较稳健的防御性行业,可能不具备高科技产业或者是新兴产业的短期爆发性,但具有较强的确定性,尤其在市场整体不太乐观的情况下,能够体现出检测认证行业的经营韧性和稳定性。
今年上半年,全国疫情多地散发,公司运营承压,但营收业绩均实现稳健增长。华测检测上半年营收21.72亿元,同比增长20.07%;归母净利润3.61亿元,同比增长19.82%;扣非净利润3.23亿元,同比增长31.58%。单就二季度看,华测检测实现收入12.64亿元,同比增长20.74%;归母净利润2.41亿元,同比增长19.83%。
回顾前三年业绩,华测检测同样呈现出稳步增长的态势。2019-2021年间,公司分别实现营收31.83亿元、35.68亿元和43.29亿元;同步增长的还有净利润,这三年的净利润分别为4.84亿元、5.89亿元和7.63亿元。
除了外资“卖爆”外,华测检测也得到国内多家机构的关注。
在8月25日现场业绩说明会上,有424家机构投资者参与其中。此前4个月,有447家机构投资者通过视频会议参与调研。wind数据显示,两次调研会议,共计771家机构参与其中。
根据半年报数据,共计342家机构持股华测检测,累计持股7.86亿股,对应持仓市值为182.43,持仓比例为51.61%,相较上个季度增持了1.49亿股。
截至二季度末,除社保基金外,机构投资者在华测检测前十大流通股东中占据5个席位。其中,英国安本投资以3220.24万股的持股数量位居其第四大流通股东。嘉实基金旗下3只产品分别以3097.58万股、2579.23万股、2355.40万股的持股数量,在华测检测十大流通股东中依次排名第五、第八、第十。
值得注意的是,这4只产品二季度均有不同程度的减持操作。也就意味着,这4只产品此前持股更多。
同一阶段,香港汇丰银行新进华测检测前十大流通股东之中,以2479.17万股的持股数量位居第九名。
外资还“买爆”了哪些A股?
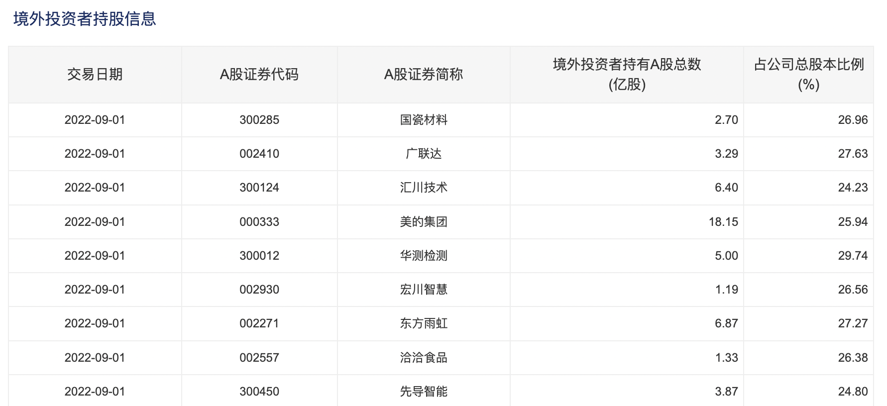
深交所披露的境外投资者数据显示,截至9月1日,华测检测之外,外资对国瓷材料、广联达、宏川智慧、东方雨虹、恰恰食品的持股比例均超过了26%,达到了持股警戒点。

上述5家公司,外资持股比例分别为26.96%、27.63%、26.56%、27.27%、26.38%。此外,同日披露数据的汇川技术、美的集团、先导智能,外资持股比例也在24-26%范围内。

从上交所近两日公布的数据看,境外投资者对沪市2只个股持股比例均在24.9-26%之间。虽均未触及警戒点,却也仅一步之遥。其中,外资对珀莱雅持股比例早在2021年年末便超过26%,之后围绕着26%上下波动。
根据wind数据显示,截至目前,沪(深)股通持股占比超过10%的A股上市公司共有51家。经查发现,这些上市公司的市盈率普遍偏低,市盈率超过百倍的公司更是屈指可数,其中包括斯达半导、埃斯顿、恒生电子、索菲亚。而华测检测、宏川智慧以及宏发股份、汇川技术、先导智能等多家上市公司的市盈率均在30-50倍之间。
虽然如国信证券多言,华测检测呈现出极强韧性和稳健性,但今年以来,其股价已累计跌去20.18%。比之被外资“卖爆”的高光时刻,股价表现着实黯淡。
自从2021年5月录得股价高点35.24元之后,华测检测的股价便开始“跌跌不休”。同年6月28日,即境外投资者持有华测检测股份超过28%之后的第4天,华测检测股价当日大跌8.77%,一度跌超10%,而这一日创业板指大涨。
据此,有观点指出由于部分股票触及外资持股上限,其股价可能会因指数样本调整而在短期内承压,但从长期来看,这些股票往往能够取得显著的超额收益。