来源 :新浪财经2023-09-21
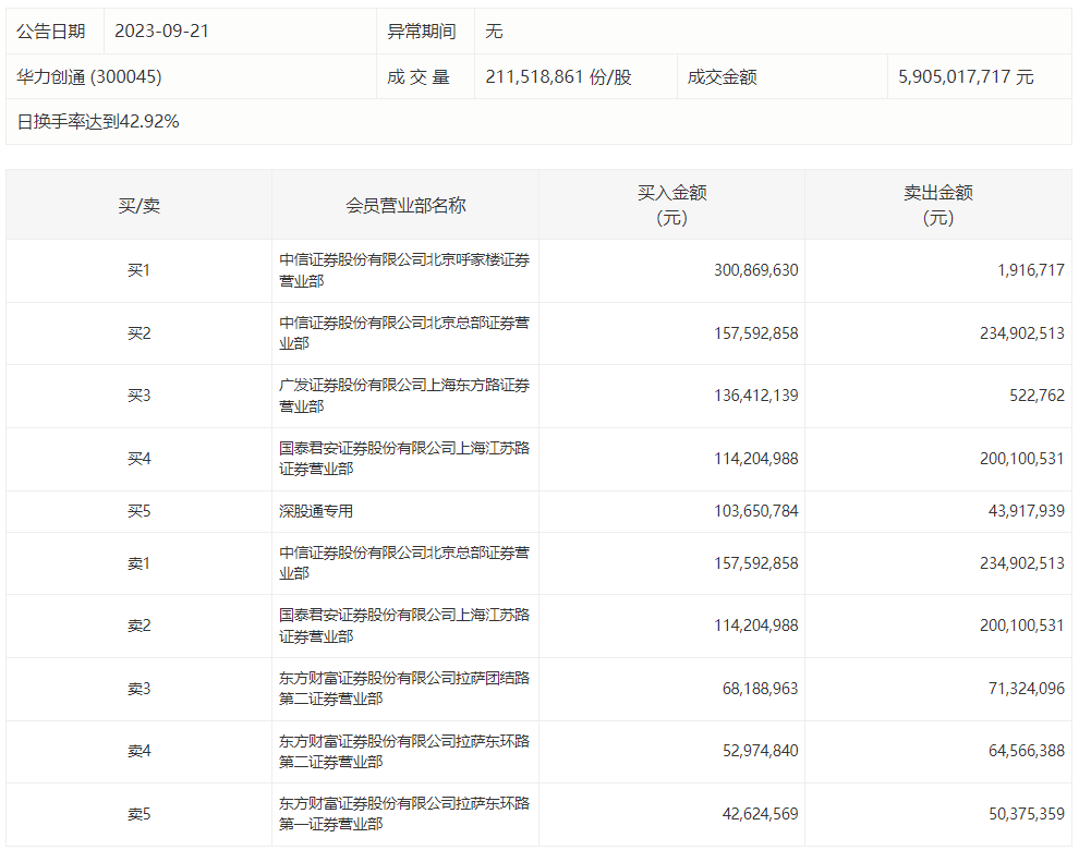
盘后龙虎榜数据显示,中信证券北京呼家楼营业部净买入2.99亿元,深股通买入1.04亿元并卖出4391.79万元。
9月21日,截至收盘,华力创通涨13.94%,成交额59.05亿元,换手率42.92%。9月以来,该股股价累计涨117%,报29.02元。

盘后龙虎榜数据显示,中信证券北京呼家楼营业部净买入2.99亿元,深股通买入1.04亿元并卖出4391.79万元。

9月5日,华力创通公告,公司于2023年与某客户(作为买方)签署了《采购主协议》,协议约定具体采购信息以客户后续下发的《采购订单》内容为准。合同标的:主要为芯片类产品。截至公告披露日,公司在连续十二个月内累计收到该客户采购订单总金额约为2.1亿元(含税),超过公司2022年度经审计主营业务收入的50%。
9月6日,华力创通公告提示,8月24日至2023年9月6日连续十个交易日收盘价格涨幅偏离值累计达到100%以上。根据深圳证券交易所相关规定,属于股票交易严重异常波动情形。公司目前经营情况及内外部经营环境未发生重大变化。
业绩方面,今年上半年,华力创通实现营业总收入2.21亿元,同比增长1.30%;归母净利润亏损1225.48万元,上年同期亏损787.45万元。
民生证券研报指出,后续伴随卫星互联网下游应用领域的不断发展开拓,公司作为我国为数不多在卫星应用领域具备通导一体化芯片能力的企业有望充分受益。