电科院(300215)4月23日披露2023年年报。2023年,公司实现营业总收入6.21亿元,同比下降4.92%;归母净利润1910.11万元,同比下降42.33%;扣非净利润1635.10万元,同比下降13.70%;经营活动产生的现金流量净额为4.82亿元,同比增长79.75%;报告期内,电科院基本每股收益为0.03元,加权平均净资产收益率为0.96%。公司2023年年度利润分配预案为:拟向全体股东每10股派0.35元(含税)。

以4月22日收盘价计算,电科院目前市盈率(TTM)约为143.93倍,市净率(LF)约为1.38倍,市销率(TTM)约为4.43倍。

公司近年市盈率(TTM)、市净率(LF)、市销率(TTM)历史分位图如下所示:



数据统计显示,电科院近三年营业总收入复合增长率为-4.02%,在检测服务行业已披露2023年数据的11家公司中排名第11。近三年净利润复合年增长率为-39.59%,排名11/11。

资料显示,公司致力于提高电器产品质量,恪守“科学管理、测试公正、数据准确”的质量方针,坚持“守信、守约、守法”,服务于国内外电器技术及检验市场,可为客户提供较为全面的一站式检测服务,也是目前我国电器检测条件较完备、检测能力较强、检测规模较大的第三方检测机构。
分产品来看,2023年公司主营业务中,高压电器检测收入4.90亿元,同比下降1.59%,占营业收入的78.86%;低压电器检测收入1.22亿元,同比下降3.17%,占营业收入的19.58%;环境检测收入0.00亿元,同比下降98.90%,占营业收入的0.03%。

截至2023年末,公司员工总数为1111人,人均创收55.90万元,人均创利1.72万元,人均薪酬18.98万元,较上年同期分别下降12.71%、47.06%、10.42%。

2023年,公司毛利率为32.24%,同比下降5.28个百分点;净利率为3.19%,较上年同期下降2.00个百分点。从单季度指标来看,2023年第四季度公司毛利率为41.85%,同比上升17.76个百分点,环比上升11.34个百分点;净利率为15.00%,较上年同期上升20.21个百分点,较上一季度上升14.92个百分点。

分产品看,高压电器检测、低压电器检测2023年毛利率分别为24.00%、67.29%。

报告期内,公司前五大客户合计销售金额1.01亿元,占总销售金额比例为16.23%,公司前五名供应商合计采购金额0.51亿元,占年度采购总额比例为39.90%。

数据显示,2023年公司加权平均净资产收益率为0.96%,较上年同期下降0.73个百分点;公司2023年投入资本回报率为1.24%,较上年同期下降0.92个百分点。

2023年,公司经营活动现金流净额为4.82亿元,同比增长79.75%;筹资活动现金流净额-5.17亿元,同比减少3563.71万元;投资活动现金流净额4511.04万元,上年同期为-1666.02万元。
进一步统计发现,2023年公司自由现金流为3.97亿元,相比上年同期增长7.83%。

2023年,公司营业收入现金比为128.62%,净现比为2525.72%。

营运能力方面,2023年,公司公司总资产周转率为0.20次,上年同期为0.18次(2022年行业平均值为0.41次,公司位居同行业17/19);固定资产周转率为0.28次,上年同期为0.30次(2022年行业平均值为2.26次,公司位居同行业19/19);公司应收账款周转率、存货周转率分别为7.30次、479.41次。

2023年,公司期间费用为1.76亿元,较上年同期减少2436.04万元;期间费用率为28.31%,较上年同期下降2.33个百分点。其中,销售费用同比下降34.35%,管理费用同比增长10.42%,研发费用同比下降22.88%,财务费用同比下降47.64%。

资产重大变化方面,截至2023年年末,公司固定资产较上年末减少10.96%,占公司总资产比重上升3.53个百分点;在建工程较上年末减少0.28%,占公司总资产比重上升1.29个百分点;货币资金较上年末减少21.34%,占公司总资产比重下降0.92个百分点;应收票据较上年末减少74.48%,占公司总资产比重下降0.75个百分点。

负债重大变化方面,截至2023年年末,公司短期借款较上年末减少61.79%,占公司总资产比重下降9.97个百分点,主要系短期流动资金贷款减少;一年内到期的非流动负债较上年末减少57.72%,占公司总资产比重下降2.32个百分点;应付账款较上年末减少15.45%,占公司总资产比重下降0.01个百分点;长期借款较上年末减少7.13%,占公司总资产比重上升1.01个百分点。

从存货变动来看,截至2023年年末,公司存货账面价值为36.62万元,占净资产的0.02%。根据财报,公司本期没有计提存货跌价准备。

2023年全年,公司研发投入金额为4635.71万元,同比下降22.88%;研发投入占营业收入比例为7.46%,相比上年同期下降1.74个百分点。此外,公司全年研发投入资本化率为0。


年报称,2023年,电科院母公司新增“一种开断大电流的试验回路及试验方法”“一种变压器产品碳足迹核算方法及系统”“一种无线充放电测试系统及方法”等8项已获得专利权的发明和实用新型专利;截至报告期末,新增“一种基于新国标下的交流电智能充电装置”“一种产品碳足迹核算及其评估方法”“一种基于温室气体的产品碳足迹测量装置”等20项已受理的国内专利。
在偿债能力方面,公司2023年年末资产负债率为30.23%,相比上年末下降11.25个百分点;有息资产负债率为21.99%,相比上年末下降11.29个百分点。
2023年,公司流动比率为0.85,速动比率为0.85。
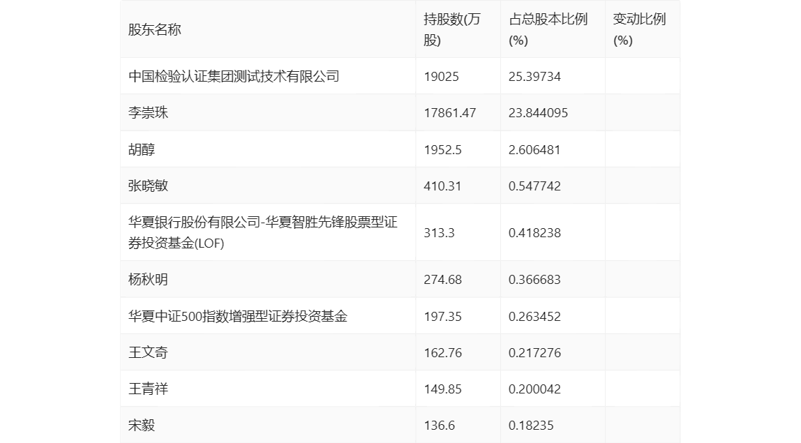
年报显示,2023年年末公司十大流通股东中,新进股东为华夏银行股份有限公司-华夏智胜先锋股票型证券投资基金(LOF)、华夏中证500指数增强型证券投资基金、宋毅,取代了三季度末的海南三原华庭物业服务有限公司、金林根、肖裕福。在具体持股比例上,中国检验认证集团测试技术有限公司、李崇珠、胡醇、张晓敏、杨秋明、王青祥持股有所上升,王文奇持股有所下降。

筹码集中度方面,截至2023年年末,公司股东总户数为2.86万户,较三季度末下降了1420户,降幅4.73%;户均持股市值由三季度末的12.76万元上升至13.86万元,增幅为8.62%。

指标注解:
市盈率
=总市值/净利润。当公司亏损时市盈率为负,此时用市盈率估值没有实际意义,往往用市净率或市销率做参考。
市净率
=总市值/净资产。市净率估值法多用于盈利波动较大而净资产相对稳定的公司。
市销率
=总市值/营业收入。市销率估值法通常用于亏损或微利的成长型公司。
文中市盈率和市销率采用TTM方式,即以截至最近一期财报(含预报)12个月的数据计算。市净率采用LF方式,即以最近一期财报数据计算。
市盈率为负时,不显示当期分位数,会导致折线图中断。