
金城医药(300233)8月19日披露2023年半年度报告。2023年上半年,公司实现营业总收入17.05亿元,同比下降7.91%;归母净利润1.02亿元,同比下降53.55%;扣非净利润9241.25万元,同比下降57.76%;经营活动产生的现金流量净额为2.81亿元,上年同期为-1565.26万元;报告期内,金城医药基本每股收益为0.26元,加权平均净资产收益率为2.78%。
以8月18日收盘价计算,金城医药目前市盈率(TTM)约为47.0倍,市净率(LF)约为2.0倍,市销率(TTM)约为2.18倍。

公司近年市盈率(TTM)、市净率(LF)、市销率(TTM)历史分位图如下所示:



根据半年报,公司第二季度实现营业总收入8.76亿元,同比下降2.55%,环比增长5.57%;归母净利润5155.48万元,同比下降51.59%,环比增长2.79%;扣非净利润4950.76万元,同比下降54.88%,环比增长15.39%。

资料显示,公司主营业务涵盖医药中间体、原料药、口服及外用制剂以及注射剂的研发、生产和销售等。
分产品来看,2023年上半年公司主营业务中,制剂产品收入6.16亿元,同比增长41.09%,占营业收入的36.11%;头孢侧链活性酯系列产品收入4.38亿元,同比下降1.57%,占营业收入的25.66%;生物制药及特色原料药系列产品收入2.43亿元,同比下降10.92%,占营业收入的14.25%。
2023年上半年,公司毛利率为43.13%,同比下降1.41个百分点;净利率为6.50%,较上年同期下降5.61个百分点。从单季度指标来看,2023年第二季度公司毛利率为43.56%,同比下降2.42个百分点,环比上升0.87个百分点;净利率为6.38%,较上年同期下降5.65个百分点,较上一季度下降0.24个百分点。

分产品看,制剂产品、头孢侧链活性酯系列产品、生物制药及特色原料药系列产品2023年毛利率分别为69.95%、31.39%、54.63%。其中,制剂产品连续3年下降。

数据显示,2023年上半年公司加权平均净资产收益率为2.78%,较上年同期下降3.49个百分点;公司2023年上半年投入资本回报率为2.69%,较上年同期下降2.75个百分点。

2023上半年,公司经营活动现金流净额为2.81亿元,同比增加2.97亿元;筹资活动现金流净额-9276.88万元,同比减少2.36亿元;投资活动现金流净额-1.29亿元,上年同期为-2.69亿元。
进一步统计发现,2023年上半年公司自由现金流为1.34亿元,上年同期为-1.23亿元。

2023年上半年,公司营业收入现金比为95.55%,净现比为276.65%。

营运能力方面,2023年上半年,公司总资产周转率为0.29次,上年同期为0.34次(2022年上半年行业平均值为0.21次,公司位居同行业18/111);固定资产周转率为0.73次,上年同期为1.02次(2022年上半年行业平均值为1.21次,公司位居同行业67/111);公司应收账款周转率、存货周转率分别为3.07次、1.71次。

2023年上半年,公司期间费用为5.82亿元,较上年同期增加4569.45万元;期间费用率为34.16%,较上年同期上升5.17个百分点。其中,销售费用同比增长22.3%,管理费用同比下降8.34%,研发费用同比增长2.03%,财务费用同比增长111.34%。

资产重大变化方面,截至2023年二季度末,公司无形资产较上年末增加20.05%,占公司总资产比重上升1.54个百分点;货币资金余额较上年末增加7.28%,占公司总资产比重上升1.05个百分点;应收账款较上年末减少8.47%,占公司总资产比重下降0.86个百分点;存货余额较上年末减少3.63%,占公司总资产比重下降0.38个百分点。

负债重大变化方面,截至2023年二季度末,公司应付账款较上年末减少6.18%,占公司总资产比重下降0.64个百分点;长期借款较上年末增加8.19%,占公司总资产比重上升0.38个百分点;短期借款较上年末减少4.29%,占公司总资产比重下降0.16个百分点;一年内到期的非流动负债较上年末减少5.42%,占公司总资产比重下降0.16个百分点。

从存货变动来看,截至2023年上半年末,公司存货账面价值为5.58亿元,占净资产的15.19%,较上年末减少2102.52万元。其中,存货跌价准备为2764.15万元,计提比例为4.72%。

偿债能力方面,公司2023年二季度末资产负债率为36.07%,相比上年末减少1.12个百分点;有息资产负债率为11.19%,相比上年末增加0.05个百分点。

2023年上半年,公司流动比率为1.42,速动比率为1.08。

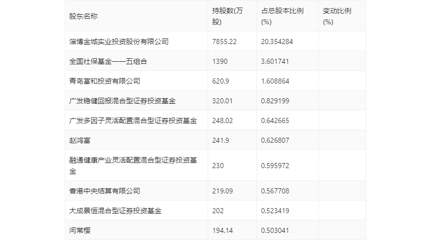
半年报显示,2023年上半年末的公司十大流通股东中,新进股东为大成景恒混合型证券投资基金、闫常樱,取代了一季度末的赵叶青、上海森茏园林工程有限公司。在具体持股比例上,淄博金城实业投资股份有限公司、全国社保基金一一五组合、青岛富和投资有限公司、广发稳健回报混合型证券投资基金、广发多因子灵活配置混合型证券投资基金、赵鸿富持股有所上升,融通健康产业灵活配置混合型证券投资基金、香港中央结算有限公司持股有所下降。

筹码集中度方面,截至2023年二季度末,公司股东总户数为2.75万户,较一季度末下降了1444户,降幅4.99%;户均持股市值由一季度末的30.87万元下降至26.68万元,降幅为13.57%。

指标注解:
市盈率
=总市值/净利润。当公司亏损时市盈率为负,此时用市盈率估值没有实际意义,往往用市净率或市销率做参考。
市净率
=总市值/净资产。市净率估值法多用于盈利波动较大而净资产相对稳定的公司。
市销率
=总市值/营业收入。市销率估值法通常用于亏损或微利的成长型公司。
文中市盈率和市销率采用TTM方式,即以截至最近一期财报(含预报)12个月的数据计算。市净率采用LF方式,即以最近一期财报数据计算。
市盈率为负时,不显示当期分位数,会导致折线图中断。