来源 :国际太阳能光伏网2024-04-12
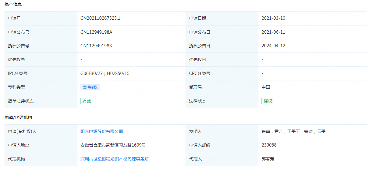
国际能源网获悉,根据企查查数据显示,阳光电源新获得一项实用新型专利授权,专利名为“光伏组串的故障检测方法、装置及计算机存储介质”,专利申请号为CN202110267525.1,授权日为2024年4月12日。


专利摘要:本发明公开了一种光伏组串的故障检测方法,包括以下步骤:获取待测光伏组串的电流-电压曲线;将电流-电压曲线按照各个故障诊断算法进行计算,得到各个故障诊断算法的诊断结果;根据多个故障诊断算法的诊断结果确定待测光伏组串的故障检测结果。本发明还公开了一种光伏组串的故障检测装置及计算机存储介质。本发明通过将待测光伏组串的电流-电压曲线分别采用多种不同的故障诊断算法进行故障诊断,根据不同故障诊断算法的诊断结果综合判断待测光伏组串是否故障以及具体是哪一故障,通过多种不同的故障诊断算法对待测光伏组串进行综合故障诊断,提高了故障诊断的准确性。