来源 :LEDinside2023-06-14
华灿光电的“微型发光二极管芯片及其制备方法”专利已获得授权,授权公告日为6月9日,授权公告号为CN114388672B,该专利能够提升芯片键合强度,使键合层与基板和外延结构的连接更紧密,提高芯片的可靠性。
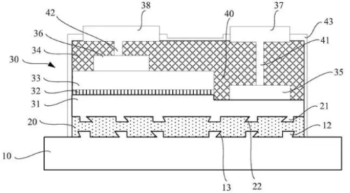
据专利文件介绍,微型发光二极管(Micro Light Emitting Diode,Micro LED)芯片通常包括基板、外延结构、第一电极和第二电极,外延结构层叠于基板的表面,第一电极和第二电极位于外延结构上远离基板的表面,且分别与外延结构中的p型层和n型层相连。通常在将外延结构设置于基板上时,会在基板和外延结构之间设置键合层。
然而,相关技术中键合层上与基板和外延结构贴合相连的两侧面均为平坦的平面,这样在芯片遇到应力时,容易使基板或外延结构与键合层的部分区域之间出现脱落的问题,影响芯片的可靠性。

针对上述问题,华灿光电研发了相关解决方案。根据专利文件显示,“微型发光二极管芯片及其制备方法”公开提供了一种微型发光二极管芯片及其制备方法,属于光电子制造技术领域。
该微型发光二极管芯片包括依次层叠的基板、键合层和发光结构;所述发光结构靠近所述基板的表面设有多个第一凸起,所述第一凸起靠近所述基板的一端的端面面积大于所述第一凸起与所述发光结构相连的一端的端面面积;所述基板靠近所述发光结构的表面设有多个第二凸起,所述第二凸起靠近所述发光结构的一端的端面面积大于所述第二凸起与所述基板相连的一端的端面面积。