苏试试验(300416)3月29日披露2023年年报。2023年,公司实现营业总收入21.17亿元,同比增长17.26%;归母净利润3.14亿元,同比增长16.44%;扣非净利润2.80亿元,同比增长17.08%;经营活动产生的现金流量净额为3.70亿元,同比下降20.89%;报告期内,苏试试验基本每股收益为0.618元,加权平均净资产收益率为12.89%。公司2023年年度利润分配预案为:拟向全体股东每10股派1.5元(含税)。

以3月28日收盘价计算,苏试试验目前市盈率(TTM)约为22.82倍,市净率(LF)约为2.84倍,市销率(TTM)约为3.39倍。
公司近年市盈率(TTM)、市净率(LF)、市销率(TTM)历史分位图如下所示:


数据统计显示,苏试试验近三年营业总收入复合增长率为21.34%,近三年净利润复合年增长率为36.56%。
资料显示,公司是一家工业产品环境与可靠性试验验证与综合分析服务解决方案提供商,致力于环境试验设备的研发和生产,及为客户提供从芯片到部件到终端整机产品全面的、全产业链的环境与可靠性综合试验验证及分析服务。
分产品来看,2023年公司主营业务中,环境可靠性试验服务收入10.03亿元,同比增长19.45%,占营业收入的47.39%;试验设备收入7.53亿元,同比增长23.00%,占营业收入的35.56%;集成电路验证与分析服务收入2.57亿元,同比增长2.34%,占营业收入的12.12%。
截至2023年末,公司员工总数为2706人,人均创收78.22万元,人均创利11.61万元,人均薪酬18.25万元,较上年同期分别变化-1.46%、-2.15%、1.76%。
2023年,公司毛利率为45.60%,同比下降1.06个百分点;净利率为17.42%,较上年同期上升0.16个百分点。从单季度指标来看,2023年第四季度公司毛利率为46.94%,同比下降0.29个百分点,环比上升1.18个百分点;净利率为18.79%,较上年同期下降0.66个百分点,较上一季度上升0.60个百分点。
分产品看,环境可靠性试验服务、试验设备、集成电路验证与分析服务2023年毛利率分别为58.80%、32.76%、43.28%。
报告期内,公司前五大客户合计销售金额2.16亿元,占总销售金额比例为10.18%,公司前五名供应商合计采购金额1.44亿元,占年度采购总额比例为18.99%。
数据显示,2023年公司加权平均净资产收益率为12.89%,较上年同期下降1.70个百分点;公司2023年投入资本回报率为10.22%,较上年同期下降0.21个百分点。
2023年,公司经营活动现金流净额为3.70亿元,同比下降20.89%;筹资活动现金流净额1.31亿元,同比增加1.55亿元;投资活动现金流净额-6.22亿元,上年同期为-3.65亿元。
进一步统计发现,2023年公司自由现金流为-3.69亿元,上年同期为0.73亿元。
2023年,公司营业收入现金比为94.31%,净现比为117.83%。
营运能力方面,2023年,公司公司总资产周转率为0.46次,上年同期为0.45次(2022年行业平均值为0.41次,公司位居同行业10/19);固定资产周转率为1.79次,上年同期为1.91次(2022年行业平均值为2.26次,公司位居同行业14/19);公司应收账款周转率、存货周转率分别为2.20次、3.13次。
2023年,公司期间费用为5.58亿元,较上年同期增加4810.20万元;但期间费用率为26.37%,较上年同期下降1.89个百分点。其中,销售费用同比增长18.11%,管理费用同比增长1.93%,研发费用同比增长23.91%,财务费用同比下降27.24%。
资产重大变化方面,截至2023年年末,公司货币资金较上年末减少12.10%,占公司总资产比重下降5.56个百分点;应收账款较上年末增加38.61%,占公司总资产比重上升4.20个百分点;固定资产较上年末增加30.91%,占公司总资产比重上升3.71个百分点;存货较上年末减少14.05%,占公司总资产比重下降2.23个百分点。
负债重大变化方面,截至2023年年末,公司长期借款较上年末减少40.04%,占公司总资产比重下降3.05个百分点,主要系部分中长期贷款重分;短期借款较上年末增加25.07%,占公司总资产比重上升1.02个百分点;一年内到期的非流动负债较上年末增加139.93%,占公司总资产比重上升1.89个百分点;合同负债较上年末减少34.15%,占公司总资产比重下降2.52个百分点,主要系报告期内合同预收款减少。
从存货变动来看,截至2023年年末,公司存货账面价值为3.4亿元,占净资产的13.46%,较上年末减少5561.84万元。其中,存货跌价准备为14.94万元,计提比例为0.04%。
2023年全年,公司研发投入金额为1.67亿元,同比增长23.91%;研发投入占营业收入比例为7.87%,相比上年同期上升0.42个百分点。此外,公司全年研发投入资本化率为0。

资料显示,公司始终坚持试验设备及试验技术研发的重要核心地位,秉承以技术引领市场、以创新创造需求的理念,通过对试验需求的深入理解及公司自身持续深耕研发创新,在实践中不断优化行业核心技术,突破技术攻关难题,推动产品系列13化设计生产及数字化转型,形成了较为完整的、具有自主知识产权的技术链条。公司及子公司累计拥有有效专利651件,获软件著作权187件;报告期内共计新增专利66件,其中发明专利15件,实用新型专利50件,每年向市场推出新产品和新服务,以技术创新赋能公司发展。
在偿债能力方面,公司2023年年末资产负债率为38.88%,相比上年末下降4.97个百分点;有息资产负债率为17.88%,相比上年末下降1.47个百分点。
2023年,公司流动比率为1.86,速动比率为1.63。
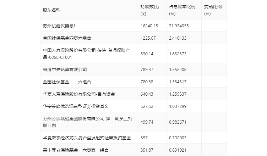
年报显示,2023年年末公司十大流通股东中,新进股东为中国人寿保险股份有限公司-传统-普通保险产品-005L-CT001、华夏数字经济龙头混合型发起式证券投资基金、基本养老保险基金一六零五一组合,取代了三季度末的中国人寿保险股份有限公司-传统-普通保险产品-005L-CT001沪、UBS AG、高盛公司有限责任公司。在具体持股比例上,香港中央结算有限公司、全国社保基金一一六组合、华夏人寿保险股份有限公司-自有资金、华安策略优选混合型证券投资基金持股有所下降。
筹码集中度方面,截至2023年年末,公司股东总户数为1.45万户,较三季度末下降了2867户,降幅16.49%;户均持股市值由三季度末的48.83万元上升至64.32万元,增幅为31.72%。
指标注解:
市盈率
=总市值/净利润。当公司亏损时市盈率为负,此时用市盈率估值没有实际意义,往往用市净率或市销率做参考。
市净率
=总市值/净资产。市净率估值法多用于盈利波动较大而净资产相对稳定的公司。
市销率
=总市值/营业收入。市销率估值法通常用于亏损或微利的成长型公司。
文中市盈率和市销率采用TTM方式,即以截至最近一期财报(含预报)12个月的数据计算。市净率采用LF方式,即以最近一期财报数据计算。
市盈率为负时,不显示当期分位数,会导致折线图中断。