chaguwang.cn-查股网.中国
查股网.CN
爱司凯(300521)内幕信息消息披露
 
个股最新内幕信息查询:    
 

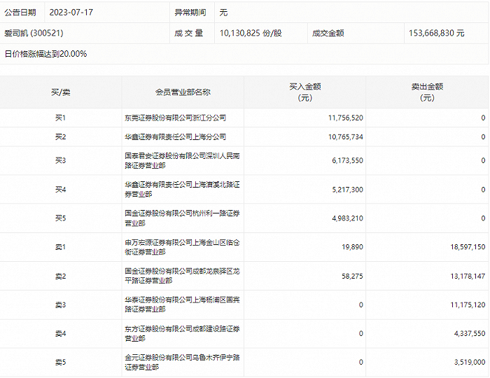
龙虎榜丨爱司凯今日涨停,上榜营业部席位合计净卖出1183.25万元

http://www.chaguwang.cn  2023-07-17  爱司凯内幕信息

来源 :界面新闻2023-07-17

  7月17日,爱司凯今日涨停,龙虎榜数据显示,上榜营业部席位全天成交8978.14万元,占当日总成交金额比例为58.42%。其中,买入金额为3897.45万元,卖出金额为5080.7万元,合计净卖出1183.25万元。

  具体来看,东莞证券浙江分公司、华鑫证券上海分公司分别买入1175.65万元、1076.57万元;申万宏源证券有限公司上海金山区临仓街证券营业部、国金证券成都龙泉驿区龙平路证券营业部分别卖出1859.72万元、1317.81万元。

  

有问题请联系 767871486@qq.com 商务合作广告联系 QQ:767871486
www.chaguwang.cn 查股网