来源 :中国证券报·中证网2024-04-21
川环科技(300547)4月22日披露2024年一季报。2024年第一季度,公司实现营业总收入2.99亿元,同比增长45.82%;归母净利润4419.97万元,同比增长96.27%;扣非净利润4141.00万元,同比增长84.99%;经营活动产生的现金流量净额为1659.70万元,上年同期为-3563.16万元;报告期内,川环科技基本每股收益为0.2044元,加权平均净资产收益率为3.98%。


资料显示,公司主营业务为传统燃油汽车、新能源汽车、摩托车用橡塑软管及总成的研发、设计、制造和销售。
2024年第一季度,公司毛利率为25.36%,同比上升2.15个百分点;净利率为14.78%,较上年同期上升3.80个百分点。
截至2024年一季度末,公司经营活动现金流净额为1659.7万元,同比增加5222.86万元;筹资活动现金流净额与同期相比基本不变;投资活动现金流净额608.04万元,上年同期为-3383.2万元。
2024年第一季度,公司营业收入现金比为62.51%,净现比为37.55%。
资产重大变化方面,截至2024年一季度末,公司应收账款较上年末减少17.98%,占公司总资产比重下降5.66个百分点;应收款项融资较上年末增加91.03%,占公司总资产比重上升5.08个百分点;应收票据较上年末增加83.58%,占公司总资产比重上升2.10个百分点;固定资产较上年末减少2.24%,占公司总资产比重下降1.39个百分点。
负债重大变化方面,截至2024年一季度末,公司其他流动负债较上年末增加16.87%,占公司总资产比重上升0.27个百分点;长期递延收益较上年末增加79.00%,占公司总资产比重上升0.33个百分点;应付职工薪酬较上年末减少19.04%,占公司总资产比重下降0.39个百分点;应付账款较上年末增加2.35%,占公司总资产比重下降0.17个百分点。
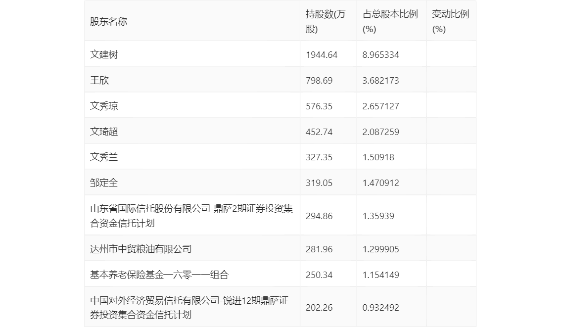
一季报显示,2024年一季度末公司十大流通股东中,新进股东为基本养老保险基金一六零一一组合、中国对外经济贸易信托有限公司-锐进12期鼎萨证券投资集合资金信托计划,取代了上年末的李秀东、闻克俭。在具体持股比例上,邹定全、山东省国际信托股份有限公司-鼎萨2期证券投资集合资金信托计划持股有所上升,王欣持股有所下降。
筹码集中度方面,截至2024年一季度末,公司股东总户数为1.42万户,较上年末下降了399户,降幅2.74%;户均持股市值由上年末的25.10万元上升至28.64万元,增幅为14.10%。