神宇股份(300563)4月16日披露2023年年报。2023年,公司实现营业总收入7.55亿元,同比下降1.74%;归母净利润5044.65万元,同比增长16.77%;扣非净利润4505.59万元,同比增长17.74%;经营活动产生的现金流量净额为-311.95万元,上年同期为4967.29万元;报告期内,神宇股份基本每股收益为0.28元,加权平均净资产收益率为5.12%。公司2023年年度利润分配预案为:拟向全体股东每10股派2元(含税)。

以4月15日收盘价计算,神宇股份目前市盈率(TTM)约为44.15倍,市净率(LF)约为2.16倍,市销率(TTM)约为2.95倍。
公司近年市盈率(TTM)、市净率(LF)、市销率(TTM)历史分位图如下所示:


数据统计显示,神宇股份近三年营业总收入复合增长率为6.70%,在通信线缆及配套行业已披露2023年数据的5家公司中排名第3。近三年净利润复合年增长率为-6.56%,排名4/5。
资料显示,公司是专业从事射频同轴电缆的研发、生产和销售的高新技术企业,致力于打造成国内一流、国际知名的射频同轴电缆行业的领先企业。
分产品来看,2023年公司主营业务中,射频同轴电缆收入5.17亿元,同比下降3.70%,占营业收入的68.46%;黄金拉丝产品收入1.98亿元,同比增长14.35%,占营业收入的26.17%;改性塑料收入0.39亿元,同比下降30.36%,占营业收入的5.11%。
截至2023年末,公司员工总数为642人,人均创收117.60万元,人均创利7.86万元,人均薪酬12.05万元,较上年同期分别变化-15.82%、0.04%、-14.78%。
2023年,公司毛利率为16.56%,同比上升2.66个百分点;净利率为6.68%,较上年同期上升1.06个百分点。从单季度指标来看,2023年第四季度公司毛利率为19.19%,同比上升10.04个百分点,环比上升1.12个百分点;净利率为4.82%,较上年同期上升6.08个百分点,较上一季度下降4.46个百分点。
分产品看,射频同轴电缆、黄金拉丝产品、改性塑料2023年毛利率分别为22.56%、2.00%、9.03%。
报告期内,公司前五大客户合计销售金额3.62亿元,占总销售金额比例为47.90%,公司前五名供应商合计采购金额3.95亿元,占年度采购总额比例为62.62%。

数据显示,2023年公司加权平均净资产收益率为5.12%,较上年同期增长0.58个百分点;公司2023年投入资本回报率为4.78%,较上年同期增长0.17个百分点。
2023年,公司经营活动现金流净额为-311.95万元,同比减少5279.25万元;筹资活动现金流净额217.11万元,同比增加119.33万元;投资活动现金流净额7946.69万元,上年同期为-1.24亿元。
进一步统计发现,2023年公司自由现金流为2.15亿元,上年同期为-0.70亿元。
2023年,公司营业收入现金比为102.04%,净现比为-6.18%。
营运能力方面,2023年,公司公司总资产周转率为0.58次,上年同期为0.59次(2022年行业平均值为0.61次,公司位居同行业6/13);固定资产周转率为2.02次,上年同期为2.01次(2022年行业平均值为3.79次,公司位居同行业12/13);公司应收账款周转率、存货周转率分别为3.55次、3.83次。
2023年,公司期间费用为7601.89万元,较上年同期增加1648.47万元;期间费用率为10.07%,较上年同期上升2.32个百分点。其中,销售费用同比增长46.04%,管理费用同比增长70.69%,研发费用同比下降14.52%,财务费用由去年同期的48.31万元变为-206.59万元。
资产重大变化方面,截至2023年年末,公司货币资金较上年末增加432.80%,占公司总资产比重上升17.37个百分点;交易性金融资产较上年末减少99.43%,占公司总资产比重下降16.20个百分点;应收账款较上年末增加17.49%,占公司总资产比重上升3.16个百分点;存货较上年末减少23.58%,占公司总资产比重下降2.95个百分点。
负债重大变化方面,截至2023年年末,公司应付票据较上年末减少69.87%,占公司总资产比重下降11.93个百分点;应付账款较上年末增加28.13%,占公司总资产比重上升1.66个百分点;其他流动负债较上年末增加1238.38%,占公司总资产比重上升1.23个百分点;短期借款较上年末减少68.95%,占公司总资产比重下降0.47个百分点。
从存货变动来看,截至2023年年末,公司存货账面价值为1.42亿元,占净资产的13.8%,较上年末减少4392.42万元。其中,存货跌价准备为582.93万元,计提比例为3.93%。
2023年全年,公司研发投入金额为2005.59万元,同比下降14.52%;研发投入占营业收入比例为2.66%,相比上年同期下降0.39个百分点。此外,公司全年研发投入资本化率为0。
在偿债能力方面,公司2023年年末资产负债率为18.11%,相比上年末下降9.17个百分点;有息资产负债率为0.22%,相比上年末下降0.49个百分点。
2023年,公司流动比率为4.12,速动比率为3.41。
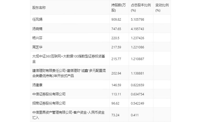
年报显示,2023年年末公司十大流通股东中,新进股东为大成中证360互联网+大数据100指数型证券投资基金、建信理财有限责任公司-建信理财“诚鑫”多元配置混合类最低持有2年开放式产品、招商证券股份有限公司,取代了三季度末的中国国际金融香港资产管理有限公司-CICCFT10(R)、J. P. Morgan Securities PLC-自有资金、田昌贵。在具体持股比例上,中信证券股份有限公司持股有所上升,中信里昂资产管理有限公司-客户资金-人民币资金汇入持股有所下降。
筹码集中度方面,截至2023年年末,公司股东总户数为1.83万户,较三季度末下降了3754户,降幅17.05%;户均持股市值由三季度末的12.14万元上升至15.60万元,增幅为28.50%。
指标注解:
市盈率=总市值/净利润。当公司亏损时市盈率为负,此时用市盈率估值没有实际意义,往往用市净率或市销率做参考。
市净率=总市值/净资产。市净率估值法多用于盈利波动较大而净资产相对稳定的公司。
市销率=总市值/营业收入。市销率估值法通常用于亏损或微利的成长型公司。
文中市盈率和市销率采用TTM方式,即以截至最近一期财报(含预报)12个月的数据计算。市净率采用LF方式,即以最近一期财报数据计算。
市盈率为负时,不显示当期分位数,会导致折线图中断。